TOA TZ-200BS Column Speaker Instruction Manual
Thank you for purchasing TOA’s Column Speaker.
Please carefully follow the instructions in this manual to ensure long, trouble-free use of your equipment.
SAFETY PRECAUTIONS
- Be sure to read the instructions in this section carefully before use.
- Make sure to observe the instructions in this manual as the conventions of safety symbols and messages regarded as very important precautions are included.
- We also recommend you keep this instruction manual handy for future reference
WARNING
Indicates a potentially hazardous situation which, if mishandled, could result in death or serious personal injury.
When Installing the Unit
- Install the speaker only in a location that can structurally support the weight of the speaker and the mounting bracket. Doing otherwise may result in the unit falling down and causing personal injury and/or property damage.
- Be sure to use the supplied mounting bracket in combination. Doing otherwise may cause the speaker to fall, resulting in personal injury.
- Refer all the installation work to TOA dealer from whom the speaker was purchased. Installation work requires extensive technical knowledge and experience. The speaker may fall off it incorrectly installed, resulting in possible personal injury.
- Owing to the unit’s size and weight, be sure that at least two persons are available to install the unit. Failure to do so could result in personal injury.
- Do not use other methods than specified to install the speaker and the bracket. Extreme force is applied to the speaker and the speaker could fall off, possibly resulting in personal injuries.
- Use screws that are appropriate for the wall’s material and structure. Failure to do so may cause the speaker to fall, resulting in material damage and possible personal injury.
- Ensure that all screws are securely tightened. If they are loose after installation, the speaker could fall
down, possibly resulting in personal injury. - Do not mount the speaker in locations exposed to constant vibration. The speaker or its mounts can be damaged by excessive vibration, potentially causing the speaker to fall, which could result in personal injury.
- Do not use anti-rust lubricant. If it contacts resin or rubber parts, they could deteriorate and cause the speaker to fall, possibly resulting in personal injury.
- Avoid installing the speaker near seaside or in locations exposed to corrosive gas. The speaker or its parts may be subject to corrosion, which might cause it to fall or resulting personal injury.
- Do not install the speaker in indoor swimming pools or such locations where liquid chemicals are used. The parts deteriorate if corroded, causing the speaker to fall, which could result in personal injury.
When the Unit is in Use
- If any of the following irregularities occurs, immediately switch off the amplifier’s power, and inform TOA dealer from where the speaker was purchased. Further using the speaker may result in fire or electric shock.
- If you detect smoke or a strange smell coming from the speaker
- If water or any metallic object gets into the speaker
- If the speaker falls, or the speaker case breaks
- To prevent a fire or electric shock, never open nor remove the speaker case. Refer all servicing to your nearest TOA dealer
CAUTION
Indicates a potentially hazardous situation which, if mishandled, could result in moderate or minor personal injury, and/or property damage.
To avoid electric shocks, be sure to switch off the amplifier’s power when connecting speakers.
When the Unit is in Use
- Do not place heavy objects on the speaker as this may cause it to fall or break which may result in personal injury and/or property damage. In addition, the object itself may fall off and cause injury and/or damage.
- Do not stand or sit on, nor hang down from the speaker as this may cause it to fall down or drop, resulting in personal injury and/or property damage.
- Do not operate the speaker for an extended period of time with the sound distorting. Doing so may cause the connected speakers to heat, resulting in a fire.
- Have the speaker checked periodically by TOA dealer from where it was purchased. Failure to do so may result in corrosion or damage to the speaker or the mounts that could cause it to fall, possibly causing personal injury.
- No naked flame sources, such as lighted candles, should be placed on the speaker.
GENERAL DESCRIPTION AND FEATURES
TOA’s TZ-200BS, TZ-400BS wall mount column speakers feature an aluminum made housing and grill designed for indoor and outdoor installation. The speakers can be easily installed using the adjustable speaker mounting brackets included. The speakers come with screw type steatite terminal blocks and thermal fuse. They are certified according to the European Standard EN 54-24:2008 and compliant with the British Standard BS 5839-8:2008
INTERNAL CIRCUIT DIAGRAM, APPEARANCE AND FUNCTIONS
TZ-200BS internal circuit diagram

TZ-400BS internal circuit diagram

When shipped from the factory, the speaker is internally connected as shown above. To change the impedance, refer to “4.1. Set the input power”.
APPEARANCE (This figure represents the TZ-400BS.)

INSTALLATION
Set the input power
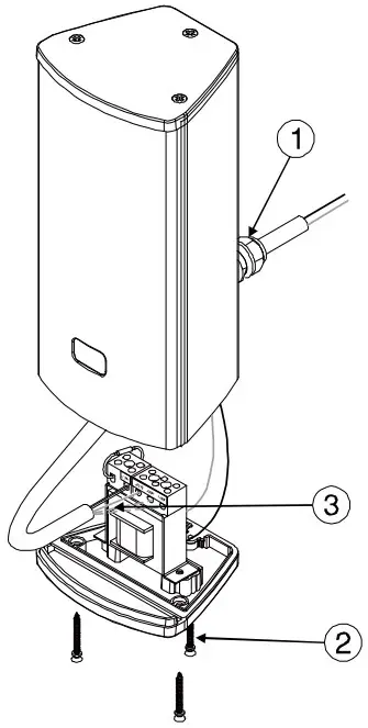
Step 1. Loosen the cable gland.
Step 2. Loosen the base screws and pull out the base assembly.
Step 3. Initially set to max wattage, the red lead wire can be set to the desired wattage setting.
Cover the base after completing the setup. When covering, pull the cable out first to avoid the cable getting stuck inside the speaker. After the base is screw-locked, finally fix the cable gland.
[Notes]
- Do not change another lead wires except for the red lead wire.
- These speakers are designed to be used for high impedance application. Never connect the speaker to low impedance line.
Speaker installation
Step 1. Install the attached Multi Bracket seat of part (A) onto rear side of the speaker with the attached hexagonal screws.
Step 2. Install the attached Multi Bracket seat of part (B) to the wall with the self-tapping screws.
Step 3. Set the speaker unit by inserting Multi Bracket part (B) into part (A).
Step 4. Fix the hex socket head cap screw of part (A).
Step 5. Fix another hex socket head cap screw to combine the Multi Bracket part (B) with part (A).
Step 6. Connect the cable.
[Notes]
- Speaker must be connected to the correct line terminals of amplifier.
- Minimum distances of 30mm around the apparatus for sufficient ventilation.
- Do not use this speaker with its front upward to prevent malfunction.
- Waterproof the cable joint by wrapping insulating tape around it when the joint may be exposed to rain or water.
SPECIFICATIONS
| Model number | TZ-200BS | TZ-400BS |
| Information of EN / BS Standard | Certified to the European Standard | |
| In compliance with the British Standard BS 5839-8:2008 | ||
| Rated Input | 20W | 40W |
| Rated Impedance | 100V line : 500Ω (20W), 1kΩ (10W), 2kΩ (5W) 70V line : 500Ω (10W), 1kΩ (5W), 2kΩ (2.5W) | 100V line : 250Ω (40W), 500Ω (20W), 1kΩ (10W) 70V line : 250Ω (20W), 500Ω (10W),1kΩ (5W) |
| Frequency Response | 130 Hz ~ 20 kHz (Peak-20dB) | 110 Hz ~ 20kHz (Peak-20dB) |
| Sensitivity | 92dB (1W, 1m, 100 ~ 10kHz, pink noise) 80dB (1W, 4m, 100 ~ 10kHz, pink noise) | 93dB (1W, 1m, 100 ~ 10kHz, pink noise) 81dB (1W, 4m, 100 ~ 10kHz, pink noise) |
| MaximumSound Pressure level | 105dB (20W, 1m, 100 ~ 10kHz, pink noise) 93dB (20W, 4m, 100 ~ 10kHz, pink noise) | 109dB (40W, 1m, 100 ~ 10kHz, pink noise) 97dB (40W, 4m, 100 ~ 10kHz, pink noise) |
| Coverage Angle (-6dB) | 500Hz: Horizontal 360°, Vertical 100°1kHz: Horizontal 185°, Vertical 45°2kHz: Horizontal 130°, Vertical 25°4kHz: Horizontal 100°, Vertical 20° | 500Hz: Horizontal 360°, Vertical 100°1kHz: Horizontal 185°, Vertical 45°2kHz: Horizontal 130°, Vertical 25°4kHz: Horizontal 100°, Vertical 20° |
| Operating Temperature | -30°C ~ +60°C | |
| Dust/Water Protection | IP 66 | |
| Environmental Type | Type B (outdoor application) | |
| Speaker Component | Woofer: 8.9cm x 4, Tweeter: 8.2cm x 1 | Woofer : 8.9cm x 8, Tweeter : 8.2cm x 1 |
| Applicable Cable | 0.6 – 0.3 mm2 (AWG 22) for solid wire,1.0 – 0.8 mm2 (AWG 18) for 2-core wire | |
| Cable Connection | Screw terminal (steatite), 4 ports | |
| Material | Enclosure: Aluminum alloy, Grille: Aluminum | |
| Finish | White (RAL9016 or equivalent), paint | |
| Dimension | 610 (h) x 124 (w) x 108 (d) mm | 1016 (h) X 124 (w) X 108 (d) mm |
| Weight | 3.9 kg | 6.7 kg |
| Accessory | Aluminum Alloy Multi Bracket (A) & (B)…1, Hexagonal screw…2, Washer…2 Self-tapping screw…4, Plastic wall plug…4 | |
Traceability Information for Europe
Manufacturer:
TOA Corporation
7-2-1, Minatojima-Nakamachi, Chuo-ku, Kobe, Hyogo, Japan
Authorized representative:
TOA Electronics Europe GmbH Suederstrasse 282, 20537 Hamburg, Germany
URL : www.toa.eu
Traceability Information for UK
Manufacturer:
TOA Corporation
7-2-1, Minatojima-Nakamachi, Chuo-ku,
Kobe, Hyogo, Japan
Authorized representative:
TOA CORPORATIN (UK) LIMITED
Unit 7&8, The Axis Centre, Cleeve Road, Leatherhead, Surrey, KT22 7RD, United Kingdom
URL : www.toa.uk




















