
INSTRUCTION MANUAL
IP CEILING SPEAKER IP-A1PC238
Thank you for purchasing TOA’s IP Ceiling Speaker.
Please carefully follow the instructions in this manual to ensure long, trouble-free use of your equipment.
1. SAFETY PRECAUTIONS
- Before installation or use, be sure to carefully read all the instructions in this section for correct and safe operation.
- Be sure to follow all the precautionary instructions in this section, which contain important warnings and/or cautions regarding safety.
- After reading, keep this manual handy for future reference.
Indicates a potentially hazardous situation which, if mishandled, could result in death or serious personal injury.
Indicates a potentially hazardous situation which, if mishandled, could result in moderate or minor personal injury, and/or property damage.

When Installing the Speaker
- Do not expose the speaker to rain or an environment where it may be splashed by water or other liquids, as doing so may result in fire or electric shock.
- Install the speaker only in a location that can structurally support the weight of the speaker and the mounting bracket. Doing otherwise may result in the speaker falling down and causing personal injury and/or property damage.
- Since the speaker is designed for indoor use, do not install it outdoors. If installed outdoors, the aging of parts causes the speaker to fall off, resulting in personal injury. Also, when it gets wet with rain, there is a danger of electric shock.
- Do not mount the unit in locations exposed to constant vibration. The mounting bracket can be damaged by excessive vibration, potentially causing the unit to fall, which could result in personal injury.
When the Speaker is in Use
- Should the following irregularity be found during use, immediately cut off the power supply from a PoE switching hub and contact your nearest TOA dealer. Make no further attempt to operate the speaker in this condition as this may cause fire or electric shock.
• If you detect smoke or a strange smell coming from the speaker
• If water or any metallic object gets into the speaker
• If the speaker falls, or the speaker case breaks
• If the LAN cable is damaged (exposure of the core, disconnection, etc.)
• If the speaker suddenly stops producing sound - To prevent a fire or electric shock, never open nor remove the speaker case as there are high voltage components inside the speaker. Refer all servicing to qualified service personnel.
- To prevent the electromagnetic wave from badly influencing medical equipment, make sure to switch off the speaker’s power when placing it in close proximity to the medical equipment.

When Installing the Speaker
- Attach the safety wire to the speaker. If not attached, the speaker could fall off, resulting in personal injury.
- Avoid installing the speaker in humid or dusty locations, in locations exposed to the direct sunlight, near the heaters, or in locations generating sooty smoke or steam as doing otherwise may result in fire or electric shock.
- Avoid touching the speaker’s sharp metal edge to prevent injury.
When the Speaker is in Use
- Do not operate the speaker for an extended period of time with the sound distorting. Doing so may cause the speaker to heat, resulting in a fire.
- Have the speaker checked periodically by the shop from where it was purchased. Failure to do so may result in corrosion or damage to the speaker or its mounting bracket that could cause the speaker to fall, possibly causing personal injury.
The IP-A1PC238 IP ceiling speaker is capable of delivering extremely high volume sound output. Therefore, close proximity to the speaker over time could present the danger of hearing impairment. Be sure to follow the instructions below when conducting performance tests:
- Turn down the sound volume before adjusting the volume.
- Do not position one’s ear close to the speaker.
- Point the speaker in a direction where no people are present.
- Avoid listening to high-volume output for prolonged periods of time.
FCC REQUIREMENTS
Note
This equipment has been tested and found to comply with the limits for a Class A digital device, pursuant to Part 15 of the FCC Rules. These limits are designed to provide reasonable protection against harmful interference when the equipment is operated in a commercial environment. This equipment generates, uses, and can radiate radio frequency energy and, if not installed and used in accordance with the instruction manual, may cause harmful interference to radio communications.
Operation of this equipment in a residential area is likely to cause harmful interference in which case the user will be required to correct the interference at his own expense.
Modifications
Any modifications made to this device that are not approved by TOA Corporation may void the authority granted to the user by the FCC to operate this equipment.
Warning: Operation of this equipment in a residential environment could cause radio interference.
This equipment is not suitable for use in locations where children may be present.
2. SUMMARY AND FEATURES
The IP-A1PC238 IP ceiling speaker is equipped with a built-in power amplifier and sound source memory. It can be connected to and used over a local network.
- Power is supplied by way of PoE (IEEE 802.3af) switching hubs.
- The IP ceiling speaker is compatible with the following broadcasting modes:
| Internal sound source broadcasting mode | Enables broadcast of up to 20 internal sound source files by means of control input or Remote API (HTTP). |
| VMS broadcasting mode | Enables backchannel audio broadcast from the VMS (Video management system) software using the common protocol for IP cameras. |
| SIP broadcasting mode | Enables SIP broadcasts from any voice communications device that utilizes the SIP protocol, such as SIP or IP telephone (IP-PBX) systems. |
| Multicast broadcasting mode | Allows up to 20 multicast ports to be set up, for 20 multicast audio stream paging groups. |
- Orders of priority can be set among the various broadcasting modes, meaning higher priority broadcasts can interrupt and override lower priority broadcasts.
- Since the speaker is equipped with individual offset adjustable volumes for each broadcasting modes and patterns (internal sound source), actual broadcasting volume can be normalized or optimized.
- Broadcasts can be controlled using Remote API or control inputs from connected external equipment.
- Connected external equipment can be controlled by control outputs in synchronization with speaker broadcasts.
3. ABOUT SECURITY MEASURES
- Ensure that sufficient security measures are taken on the customer’s own responsibility.
- TOA Corporation takes no responsibility for damage or loss caused by security-related problems, such as illegal access.
- To help prevent illegal access to the speaker, be sure to change the user ID and password from those used for initial setup. For setting methods and other details, please refer to the separate setup manual which can be downloaded from the TOA DATA Library (https://www.toa-products.com/international/).
- Take utmost care in the management of the speaker’s communications password.
4. DIMENSIONAL DRAWINGS
Unit: mm (in)
[Front] [Rear]


[Side]


(Mounting Diagram)
5. NOMENCLATURE AND FUNCTIONS
[Front]

[Side]

[Rear]

1. Control input terminals
Allows input of control signals from connected external equipment to enable actions set in the Event settings.
2. Functional ground terminal
If excessive noise is produced when the speaker is connected to external equipment, connect this terminal to the external equipment’s functional ground terminal, potentially minimizing the noise level.
Note
This terminal is not for protective ground.
3. Control output terminals
Allows control of external equipment in synchronization with speaker operation.
4. LAN port
Connect to a PoE switching hub using a LAN cable.
Tip
Amplifier rated output is 8 W.
5. LINK/ACT indicator (green)
Flashes when data is being sent or received over a network.
6. Status indicator (orange)
Indicates the speaker’s operating status.
Speaker Operation | Status Indicator |
| System startup | Flashing twice |
| Broadcast standby | Continuously lit |
| Broadcasting | Continuously lit |
| System mute* | Flashing quickly |
| Initialization or firmware updating | Flashing slowly |
* System mute is a state in which this speaker is muted by the control from the transmitting device.
7. Reset key
The speaker begins to restart when this key is clicked.
Hold down this key until the Status indicator (6) flashes slowly to initialize the speaker’s settings.
8. Safety wire attachment hole
Used as an attachment point for safety wire to prevent the speaker from accidentally falling.
See “INSTALLATION PRECAUTIONS” on p. 7.
6. HANDLING PRECAUTIONS
- Please apply the latest firmware version to this product. The latest version is available at the TOA DATA Library (https://www.toa-products.com/international/).
- As this product is IP-based, a slight time lag between actual and broadcast may happen.
- Broadcast audio may sometimes break up due to packet loss or network failure.
- Periodic inspection and manual rebooting are needed to extend the product life.
- This product may reboot automatically to keep the stable operation.
7. INSTALLATION PRECAUTIONS
![]()
Observe the following instructions when attaching the safety wire. Failure to do so could result in the speaker falling, potentially resulting in personal injury.
- Select a safety wire that is strong enough to withstand the total weight of the speaker being mounted.
- Use a wire with a diameter larger than 1.5 mm or 0.06″.
- Attach the safety wire so that it does not become slack.
Notes
- Since the safety wire is not supplied with the speaker, be sure to prepare it separately.
- When attaching the safety wire, be sure that it is fastened securely to the safety wire attachment hole.

a) Safety wire attachment hole
b) IP-A1PC238 (rear)
8. INSTALLATION
Step 1. Using the supplied paper pattern as a guide, open amounting hole of the dimension specified below in the ceiling.
Mounting hole dimension:
ø200 mm ± 2 mm (7.87″ ± 0.08″)

a) Ceiling
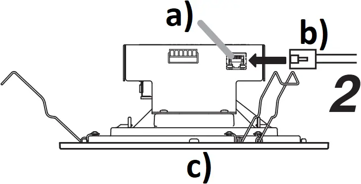
Step 2. Connect the speaker to the PoE switching hub using a LAN cable (straight UTP or STP cable, both rated at Category 5 or greater and fitted with RJ45 connectors).
Power to the speaker is supplied by the PoE switching hub.
Compatible switching hubs:
Switching hubs conforming to PoE (IEEE802.3af Class 3) specifications

a) LAN port
b) From PoE switching hub
c) IP-A1PC238 (side)
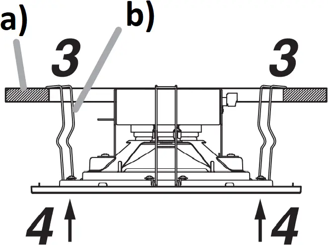
Step 3. Hook the speaker mounting spring into the mounting hole in the ceiling.

a) Ceiling
b) Speaker mounting spring
Step 4. Push the panel surface into the mounting hole.
9. CONNECTIONS
9.1. Connections to Control Input and Output Terminals
Use the supplied removable terminal plugs (6 pins) for connection. Connect a control line from the external control device to the speaker’s control input or control output terminal. For connection of the removable terminal plugs, see “Removable Terminal Plug Connections” on p. 9.

a) IP-A1PC238
(terminal section)
b) [Control input (2 channels)]
Removable terminal block (6 pins)
No-voltage make contact input
Open circuit voltage: 5 V DC
Short-circuit current: 2 mA or less
c) [Control output (1 channel)]
Removable terminal block (6 pins)
Open collector output
Withstand voltage: 30 V DC
Allowable current: 10 mA or less
d) From external control device’s control input terminals
e) From external control device’s control output terminals
The following functions can be assigned to the control input and control output terminals by browser settings:
Terminals | Assignable Functions |
| Control input terminals |
|
| Control output terminals |
|
For settings, please refer to the separate setup manual.
The latest version of the setup manual is available on the TOA DATA Library (https://www.toa-products.com/international/).
9.2. Removable Terminal Plug Connections
Please note the following points when making connections to the control input or output terminals using the supplied removable terminal plugs:
- Do not tin stripped wire ends with solder.
Soldered wire ends will be crushed when the terminal plug screws are tightened, leading to higher contact resistance and potentially resulting in an abnormal rise in the temperature of the connected parts. - Use AWG 28 – 22 wire (ø0.32 – 0.64 mm solid wire or multi-stranded wire with a cross-sectional area of 0.08 – 0.32 mm²).
- Strip the wire end back about 7 mm (0.28″).
- When connecting 2 wires or a signal cable to a single terminal, crimp them in an insulated (twin) wire ferrule to prevent their core wires from being separated from one another. Use a ferrule of the dimensions shown in the figure at right.

- Wire ferrule
- Contact
b: 0.8 – 1.1 mm (0.03″ – 0.04″)
l2: 8 mm (0.31″)
Note
Select dimensions “a” and “l1” depending on the wires to be used.
[Plug Connection Procedure]
Step 1. Remove the plug from the terminal.
Step 2. Loosen the terminal screw and insert a wire.
Step 3. Tighten the screw firmly.
Note
Pull on the wire to ensure that it does not come off.
Step 4. Insert the plug into either the control input terminal or control output terminal.
a) Tighten
b) Slotted screwdriver
c) Loosen
d) Terminal screw
e) Removable terminal plug (accessory)
Tip
Recommended slotted screwdriver is as follows. Blade width: about 2.5 mm (0.1″)
Shape of bit
2.5 mm (0.1″) 
10. SETTINGS
10.1. System Settings Summary
The following settings can be performed using a PC browser connected to the same network as the speaker.
Setting Name | Setting Item |
| Status | Confirmation of current firmware version, network settings, volume setting |
| Network | Network settings such as the IP address |
| SIP | Settings of SIP connection enable/disable, SIP server address, authentication information, and audio codec |
| VMS Broadcasting
| Settings of VMS connection enable/disable and authentication information, connection port settings |
| Multicast | Settings of multicast reception enable/disable, multicast address and port, and control output during multicast broadcast |
| Audio | Settings of speaker volume and input volume for individual broadcast classifications |
| Media | Uploading/downloading or deletion of sound source files such as messages to or from the internal memory |
| Pattern | Registration of sound source playback to be associated with events as patterns |
| Event | Settings of operations to be synchronized with the control input and control output |
| Priority | Settings of priority order for each broadcast mode; SIP broadcast, VMS broadcast, multicast broadcast and internal sound source broadcast |
| User | Changing username and password |
| Maintenance | Download and upload the configuration file, initialization, firmware update, hardware reboot, and downloading action logs |
| System | Date and time settings, NTP server settings, Time zone settings |
For more information, please refer to the separate setup manual.
The latest version of the setup manual is available on the TOA DATA Library (https://www.toa-products.com/international/).
10.2. System Requirements
Connectable system requirements are as follows:
| Display | Resolution: 1366 × 768 or greater |
| OS | Windows 10 Pro (64-bit), Windows 10 Home (64-bit), Windows 11 Pro, Windows 11 Home |
| Browser | Microsoft Edge, Google Chrome |
Notes
- Windows and Microsoft Edge are registered trademarks of Microsoft Corporation of the United States in the United States and other countries.
- Google Chrome is a trademark of Google LLC of the United States in the United States and other countries.
10.3. Connection with Browser
10.3.1. Connection presets
The speaker is factory-preset as follows:
Username: admin
Password: guest
IP address: 192.168.14.1
Subnet mask: 255.255.255.0
Default gateway: 0.0.0.0
Before connecting a PC to the IP ceiling speaker and changing its setting, it will be necessary to set the PC’s network settings so that it can operate on the same network as the IP ceiling speaker. Take care that no IP addresses are duplicated in the same network.
For example, if the IP ceiling speaker’s IP address is 192.168.14.1, set the PC’s IP address to 192.168.14.10.
10.3.2. Making connection
Notes
- Avoid simultaneously connecting to the IP ceiling speaker from multiple PCs.
- Avoid simultaneously connecting to the IP ceiling speaker from a single PC using multiple browsers.
Step 1. Start the browser and enter the speaker’s IP address in the address field. The Login screen is displayed.

Step 2. Enter the username and password, and click the LOGIN button. The Status screen is displayed, enabling a range of settings.
Note
For details regarding the setting method, please refer to the separate setup manual.
The latest version of the setup manual is available on the TOA DATA Library (https://www.toa-products.com/international/).
11. INITIALIZATION OF SETTINGS
Follow the procedure below to return all speaker settings to their default:
Tip
When initialized with the Reset key, the speaker’s sound source files are left in “Media,” not deleted. Initialization to factory defaults, including deletion of sound source files, should be performed using the browser settings menu.

a) Reset key
b) IP-A1PC238 (rear)
c) LAN cable
d) From PoE switching hub
e) Status indicator
Step 1. Connect the speaker to the PoE switching hub using a LAN cable. The speaker will be started.
Step 2. Hold down the Reset key located on the rear panel using a pointed tool.
The speaker automatically restarts and settings initialization begins.
Hold down the Reset key while the status indicator flashes quickly.
Tip
Clicking on the Reset key causes the speaker to be restarted.
If pressure on the Reset key is released part way through the initialization process, only speaker restart will be performed, and the settings will not be initialized.
To click on the Reset key, use a tool that is thinner than ø1.5 mm (0.06″) and longer than 5 mm (0.2″).
Step 3. When the status indicator flashes slower, release the reset key.
When initialization is complete, the status indicator lights and all settings will be initialized to their default settings.
[Default Settings]
Username: admin
Password: guest
IP address: 192.168.14.1
Subnet mask: 255.255.255.0
Default gateway: 0.0.0.0
12. CAUTIONS REGARDING THE AVC/H.264 PATENT LICENSE
TOA’s IP-A1PC238 IP ceiling speaker employs MPEG technology (AVC/H.264 Standard) regarding the handling of image information. TOA Corporation has received approval to use this technology from MPEG LA, LLC, the patent management group.
Please note that the use of this product is prohibited except the following cases:
The use of the product is intended for personal use of a user of the MPEG technology and also for non-profit use, which includes (i) video encoding conforming to the AVC/H.264 Standard (hereinafter referred to as “AVC/H.264”) and/or (ii) personal use and decoding of AVC/H.264 encoded by an MPEG technology user engaged in non-profit activities and/or AVC/H.264 furnished by a video provider who is granted a license by MPEG LA, LLC.
Regarding use for sales promotion or commercial purposes, or additional licensing information, please contact MPEG LA, LLC (https://www.mpegla.com).
13. OPEN SOURCE SOFTWARE
This product uses software based on open source software license(s).
If you need further information about the original open source software including source code, please download it from the TOA DATA Library (https://www.toa-products.com/international/).
Please note that we cannot answer any questions about the contents of the original source code.
This product includes software developed by the OpenSSL Project for use in the OpenSSL Toolkit (http://www.openssl.org/).
This product includes cryptographic software written by Eric Young ([email protected]).
14. ACCESSORIES
Pattern paper ………………………………………………….. 1
Removable terminal plug (6 pins, preinstalled on the speaker) …. 1
Tip
The specifications of this product are available in TOA DATA Library (https://www.toa-products.com/international/).
Scan the QR Code at right with your mobile phone camera to access the WEB site and search for this product number (IP-A1PC238).
Note: “QR Code” is a registered trademark of DENSO WAVE INCORPORATED.
Traceability Information for USA | |
| Manufacturer: TOA Corporation 7-2-1, Minatojima-Nakamachi, Chuo-ku, Kobe, Hyogo, Japan | Authorized representative: TOA Electronics, Inc. 1 Harmon Plaza, Suite 700 Secaucus, New Jersey 07094, USA |
URL: https://www.toa.jp/
133-01-00319-00
TOA Corporation



















