
Imported by:
STEPHANIE MCNEIL CORPORATION
250 Augusta Avenue – Suite 204
Toronto, Ontario, MST 2L7
Canada
(647) 879-7837
[email protected]
studiotitanamerica.com
Made in: South Korea
| INSPECT BOXES AND INTERNAL COMPONENTS FOR SHIPPING DAMAGE PRIOR TO ASSEMBLY | ![]() | READ ALL INSTRUCTIONS PRIOR TO ASSEMBLY AND OPERATION |
CAUTION: Use leather work gloves and safety glasses when handling the box, when opening the box, and when assembling the product.
HAZARD: Strapping is under tension and can jump when cut. Strapping and Buckles, Protective Edging, Plastic Walls, Plastic Caps, and Product Components and parts should be handled with care. Work slowly, and use extra caution to avoid any sharp edges.
Additional Tools may be Required: The essential tools are included. The following tools are recommended to be on site: Box Cutter, Scissors, Screw Driver, Plyers, or Adjustable

!!!! WARNING !!!!
TO AVOID THE DANGER OF SUFFOCATION, KEEP PLASTIC BAGS SUPPLIED WITH THIS PRODUCT AWAY FROM BABIES AND CHILDREN!

Transit Damage:
Each package is inspected prior to being shipped from the warehouse to insure that is in perfect condition. The column shipping boxes are constructed using extra-thick cardboard. Some packaging includes engineered plastic walls, end caps, and banding. The columns are packed using engineered plastic walls and in dense foam to protect and absorb energy from reasonable drops and impacts. The column packaging is designed and drop tested from approximately 5 feet [1.5 Meters] without sustaining any internal damage. The packaging is crush tested using a 660lb [300kg] weight placed along the long side of the box without sustaining any internal damage. If handled without care the boxes will show signs of transit damage. Wearing work Gloves, while following the Assembly Steps, carefully inspect the contents inside the boxes. Specifically, the Vertical center column top cap pulley should be securely fastened to the top of the Vertical center column as shown on the [component identification] page. In the base, the transportation counterweight securing strap should be secured to the counterweight. [See Diagram: E] If anything seems unusual, !!!STOP!!! Send images to: [email protected] for a second opinion. If there are damaged OR Loose parts, do not assemble the stand, you may injure yourself. If the damage is noticeable such as cracks or loose or broken parts contact your dealer for exchange. If the damage is minor or cosmetic and does not compromise the safe assembly or operation of the stand send images of the parts that are affected too: [email protected]. We will make arrangements to provide you with replacement parts to restore the stand to new condition.
![]() | ||
| INSPECT BOXES AND INTERNAL COMPONENTS FOR SHIPPING DAMAGE PRIOR TO ASSEMBLY | INSPECT BOXES AND INTERNAL COMPONENTS FOR SHIPPING DAMAGE PRIOR TO ASSEMBLY |
Product Identification:
Product Nameplate / Label is located on the vertical column assembly.
The label information is indicated below:
STUDIO TITAN AMERICA
No.[Model Number] – [Manufacture Date]
Imported by
STEPHANIE MCNEIL CORPORATION
250 Augusta Ave, Suite 204
Toronto, ON MST 2L7 CANADA
Manufactured in
SOUTH KOREA
Label examples are indicated below:
Intended use:
This product is intended for use by professional and commercial photographers in a studio environment with a high ceiling. The wheels are designed to be used indoors on a floor that is smooth, hard, flat, and unobstructed. The Studio Stands with internal counterweight are designed to be used at all times with a load (Camera or laptop shelf or both). CAUTION: This product is not recommended for use by hobbyists or in a household environment with a low ceiling or carpeted floors. Carpeting or pitted surfaces are not recommended because of the increased rolling resistance which can cause the stand to tip over. If the surface is not ideal, the stand must be moved with CAUTION, very slowly, using both hands one at the top and the other at the bottom to steady the stand in order to prevent the stand from tipping over. If the surface is not ideal, lower the load to waist level before moving the stand. We also recommend the use of a sandbag or weight attached at the base when conditions are not ideal to prevent tipping over. Ultimately it’s the user’s responsibility to understand how the stand operates and to use the stand within its specification limits, as intended to insure their own safety and the safety of their equipment. It is also recommended to use a short tether cable to secure the camera to the stand in the event that the head, head plate, attachment stud, or camera adapter plate comes loose or fails. Some assembly is required, we recommend using an assistant during the initial product assembly. Please read all documentation prior to assembly.
![]() | ![]() | |
| READ ALL INSTRUCTIONS PRIOR TO ASSEMBLY AND OPERATION |
Component Identification: STA 01-380

Diagram: D

WARNING
READ ALL INSTRUCTIONS PRIOR TO ASSEMBLY AND OPERATION
!CAUTION! Cross Threading Components:
Cross-threading components during assembly are not covered under warranty.
Cross-threading is a term that describes the damage that is caused when a misaligned screw or knob thread is forced into a threaded hole. When this occurs, threads are damaged and are no longer capable of proper operation. The remedy is replacement or repair of the damaged component/s.
AVOID cross-threading of mounting screws and knobs during assembly using this easy-to-follow procedure:
While standing in front of and looking into the threaded hole. Place the screw or knob thread against the threaded hole. Using one hand, hold the thread between your fingers. With the other hand hold the hex key like a pencil or place your index finger in the center of the knob. Align the screw or knob with the hole as indicated in the picture with the checkmark below. Slowly turn it counter-clockwise or left, several turns, until you hear a click or feel the start of the thread. Then proceed slowly, turning clockwise or right, gently using only finger force to tighten the screw or knob. If you feel increased resistance, the threads are not aligned, remove and start the procedure from the beginning again.

Assembly Steps:
- Wearing Gloves and together with your Assistant…Wearing Gloves …..Place the Column Box [long rectangular box] flat on the floor. Place some packing materials on the floor. Do not remove and stand the Vertical/Center Column vertically. Remove the Vertical/Center Column and Lay the Vertical/Center Column flat on the floor. Under the Base, Visually inspect and Confirm that the Counterweight screw is present securing the counterweight. [See Diagram: E] Do NOT remove the Counterweight screw until advised later. If the screw is present proceed to step 2 with assembly. If NOT, then follow the instructions below:
If the Counterweight screw is NOT present: the counterweight is loose and can move inside the column. Do not stand the column vertically. Stop the SET-UP and Contact us through the Studio Titan America website for further instructions. Please email: [email protected] with the best phone number to reach you. We normally respond within 24hrs, during weekdays.
WARNING
READ ALL INSTRUCTIONS PRIOR TO ASSEMBLY AND OPERATION
- Attach the three Leg Assemblies to the base. [See Diagram: A] The Hex Key tool is supplied and fasteners are supplied attached to the Base. Use the supplied Hex Key Loosen the fasteners, insert the legs, and then re-tighten by hand. Note: two of the leg assemblies are supplied with foot plungers. To have direct access to the foot plungers you will want to install the foot plungers facing the operator or on the same side of the stand that the Horizontal and Vertical scales face. [If the floor is polished or on an angle consider ordering a third leg assembly with brake plunger. This is a special order, please email: [email protected] for additional information].
- Wearing Gloves, using a hex key, remove the counterweight transportation securing screw. [See Diagram: E] !!!CAUTION!!! DO NOT INSERT OR PUT FINGERS INSIDE THE BOTTOM OF THE VERTICAL COLUMN OR BEYOND THE COUNTERWEIGHT PIN. THE COUNTERWEIGHT IS HEAVY AND CAN INJURE YOUR FINGER. [See Diagram: E]
- Locate and identify the counterweight cable from the component identification page. !!! CAUTION!!! AVOID CONTACT WITH THE COUNTERWEIGHT CABLE AT ALL TIMES. CAUTION MUST BE USED TO AVOID FINGER OR HAND INJURY DURING SET-UP AND NORMAL OPERATION. The counterweight cable may become frayed during transportation or normal use. When frayed, stop using the stand and immediately replace the cable. Cable strands that separate may become sharp.
Diagram: A
- Together with your Assistant…Wearing Gloves …. Slowly raise and lift until the Vertical/Center Column is standing freely on its wheels.
- Locate the M8 Hex Wrench. Remove the two M8 x 20 bolts from the Vertical carriage. [See DIAGRAM: B] Locate the Horizontal Arm/Bar Assembly See [component identification] page. Together with your assistant. Have your assistant hold the Horizontal Arm/Bar Assembly in place while you fasten it with the two M8 x 20 bolts. Note: the order of hardware [Bolt, Spring washer, and then Flat washer]. Hand tightening with the Hex Wrench is recommended. Refer to section “Cross Threading Components.” If you have a torque wrench tighten the M8 bolts to 45Nm or 33 lb/ft not more.
- Locate the M6 Hex Wrench. Locate the loose Vertical / Brake Knob. Locate the location of the Vertical Carriage / Brake Knob See [Transportation Set Screw] [See DIAGRAM: D]. Refer to section “Cross Threading Components.” With the M6 Hex Wrench Remove the transportation set screw and replace it with a Vertical Carriage / Brake Knob. Refer to section “Cross Threading Components.” Turn the Vertical Carriage /Brake Knob fully Clock Wise to secure the vertical carriage in the uppermost or “parking position” [See DIAGRAM: D ]
Diagram: B Diagram: D 

- Locate two M8 Hex wrenches. Locate the Basket. Locate the Basket Shaft, See [component identification] page. With the first M8 hex key hold the M8 bolt at the top of the Basket shaft. With the second M8 hex key loosen the M8 bolt at the bottom of the Basket shaft. Attach the Basket to the Basket Shaft. Note the order of fastener connection: [Bolt, Flat washer, Basket Plate, Flat Washer]. [See: Component Identification page and DIAGRAM: C]
- CAUTION: [Only with the Horizontal Arm/Bar in the uppermost position “parking position”.] Slowly release the Vertical Carriage Knob/brake by turning it Counter Clock Wise. This will release the vertical carriage allowing it to travel freely up and down the Vertical Center / Colum. Confirm that the Vertical Carriage is free to move in both directions while using both hands to hold the Horizontal Arm/Bar. Turn the Vertical Carriage Knob/brake fully Clock Wise to secure the vertical carriage.
STOP SET-UP— Read below— GO TO STEP 10 If anything seems unusual or if the vertical carriage is not moving freely up or down. Stop Set-up and send a few images of the stand to: [email protected] for assistance.
Diagram: C
Use & Maintenance Steps:
10. HAZARD: Stop and take a moment to understand the effect of the counterweight. HAZARD: The counterweight forces the vertical column to travel toward the top of the Studio Stand. Without a load [Camera, laptop, etc] on the horizontal Arm/Bar, it can travel quickly towards the top of the stand. HAZARD: Never use the stand without a load [Camera, laptop, etc]. Always securely “Park” the Vertical Carriage by Turning the Vertical Carriage Knob/brake fully Clock Wise before and after re-positioning or before the stand is unloaded [removing Camera, laptop, etc].
11. HAZARD: Work in such a way that you’re always standing behind or in front of the stand so that you always stand clear of the Horizontal Arm/Bar and accessories. Take extra notice of your body position when you are releasing the Vertical Carriage knob. With your free hand-apply, a downward force to the Horizontal Arm/Bar Simultaneously as you release the Vertical Carriage knob.
12. Storage: Store with Vertical Carriage either in the uppermost “Parking Position” with the load removed or store the Studio Stand with a weight or sandbag on the Horizontal Arm/Bar to counteract the effect of the counterweight, in the event that non-trained personal attempt to use the Studio Stand. Train all Studio personnel prior to operating the Studio Stand.
13. Re-tighten all fasteners AGAIN. Re-tighten fasteners after the first shoot. Tighten yearly.
WARNING
READ ALL INSTRUCTIONS PRIOR TO ASSEMBLY AND OPERATION
Theory of Operation:
A studio stand is used by professional and commercial photographers to capture images accurately with repeatability. It provides a rigid and stable platform essential for High-Resolution Sensors used in DSLR, Medium Format, and Large Format cameras and imaging systems. A studio stand reduces vibrations that are present when shooting handheld. Reduced vibration increases image sharpness. It enables the photographer to focus on the subject matter and image composition instead of hand-holding the camera. It provides creative shooting options using heights and angles that are unachievable when hand-holding a camera. It provides the foundation stone that enables the photographer to develop their own technical workflow. As the workflow evolves to include advanced imaging practices, the results can be seen as sharper images.
With an adjustable camera head, the user can accurately set up the camera to maintain the camera to subject flatness of field in both the vertical and horizontal planes of travel. The flatness of the field is maintained as the user moves the stand both vertically and horizontally eliminating perspective distortion.
Shooting tethered with the optional accessory/ laptop shelf reduces floor cabling and allows the photographer to immediately confirm both focus and lighting. A Studio Stand reduces user fatigue. The internal counterbalance offsets the weight of the camera and computer. Allowing the user to easily move the camera and computer up and down and left and right using only one hand. This promotes good body ergonomics which can prevent tennis elbow.
Tip-Over Hazard:
Caution must be used when moving the stand to prevent tip over. Move the stand slowly and avoid uneven surfaces as well as low and high-level objects. Additional caution must be used when the Horizontal arm with load (Camera or Laptop Shelf) is used in the upper area above the midpoint of the stand.

Counterweight Hazard:
The Horizontal Arm/Bar is connected to a counterweight located inside the Vertical Center/ Column. Caution must be used at all times when using the Horizontal Arm/Bar. The Vertical Carriage Knob/Brake must always be tightened to lock the Horizontal Arm/Bar in place. Without a load on the Horizontal Arm/Bar, it can accelerate upwards quickly. When releasing the Vertical Carriage Knob/Brake stand clear of the arms path of movement, firmly hold the Horizontal Arm/Bar applying pressure downwards. Stand back to avoid contact with the Horizontal Arm/Bar when unloaded. Do not remove the load when the Vertical Carriage Knob/Brake knob is released or turned CCW. Unless repositioning the Vertical Center/Column intentionally the Vertical Carriage Knob/Brake must be fully engaged (turned fully clockwise). Store with Vertical Carriage either in the uppermost “Parking Position” with the load removed or store the Studio Stand with a weight or sandbag on the Horizontal Arm/Bar.
WARNING
READ ALL INSTRUCTIONS PRIOR TO ASSEMBLY AND OPERATION
Assembly Diagrams:
Diagram: A

Diagram: B

Diagram: D

!!! CAUTION !!!
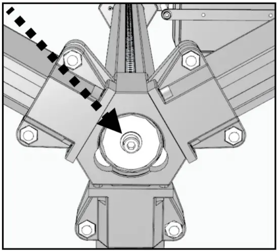
DO NOT PUT YOUR FINGERS INSIDE THE BOTTOM OF THE VERTICAL COLUMN WHEN MOVING THE STAND, STANDING IT UP, LAYING IT DOWN, OR DURING NORMAL OPERATION. CONSIDER HOLDING THE LEGS WHEN STANDING IT UP OR LAYING IT DOWN. THE INTERNAL BALANCING WEIGHT OR COUNTERWEIGHT WHEN MOVING DOWNWARDS CAN PINCH YOUR FINGER IF IT IS INSIDE THE BOTTOM OF THE VERTICAL COLUMN.
TO PREVENT THE COUNTERWEIGHT FROM MOVING DURING SET-UP. PLACE THE STAND LYING DOWN OR HORIZONTALLY ALONG THE FLOOR WHEN REMOVING THE COUNTERWEIGHT TRANSPORTATION SCREW.
THE IMAGE BELOW SHOWS THE BOTTOM VIEW OF THE STAND LOOKING INTO THE BOTTOM OF THE VERTICAL COLUMN. THE ARROW POINTS AT THE TRANSPORTATION SECURING SCREW.
Diagram: E

STA 01-380 Specification
- Total Height: 177cm / 69.68 in / 5 feet 9.6 inches
- Working Height Maximum: 160cm / 62 in (measured from Camera Plate to the floor)
- Working Height Minimum: 50cm / 19.7 in (measured from Camera Plate to the floor)
- Working Width Horizontal – Left: 35cm / 13.77 in (center of Column to center of Camera plate)
- Working Width Horizontal – Right: 35cm / 13.77 in (center of Column to center of Camera plate)
- Overall Width of Horizontal Arm/Bar – 70cm / 27.5 in (center of Camera plate to center of Camera plate)
- Width: 70cm / 27.5 in
- Weight: 20kg / 44lbs
- Suggested Wheels: 01-360-20-024
- Base Diameter: 85cm / 33.4 in
- Recommended General load capacity: 5kg (10.2lbs)
- Camera Plate Hardware: 3/8th inch – 16 thread
- Includes two Camera Head Mount Plates and Basket as shown
Options:
-Small accessory shelf STA-01-397A for notebook computer
-STA-01-390 3-way head
Material composition: The Vertical and Horizontal columns are made of aluminum. The counterweight is S20C steel. The nuts and bolts are made of steel. The casters are polyurethane. This product does not contain lead.
STUDIO TITAN RESERVES THE RIGHT TO MAKE PRODUCT CHANGES AND PRODUCT ENHANCEMENTS. PRODUCTS SUPPLIED MAY NOT BE DELIVERED EXACTLY AS ADVERTISED OR SHOWN ON THE WEBSITE OR IN THE MANUAL.
- The column box blue outer plastic material is Poly-propylene, abbreviated as PP, which is a recyclable thermoplastic polymer widely used in many different products. PP is rugged. PP’s resin identification code is 5, and it is recyclable.
- Plastic bags are made of LDPE (Low-Density Poly-ethylene) — Recyclable plastic (check Local Authority) LDPE can be recycled. However, check with your Local Authority to ensure it is recycled in your area. This is described as a hard flexible plastic.
- The Corrugated cardboard box can be recycled at depots, in municipal curbside collection programs, and through private recyclers.























