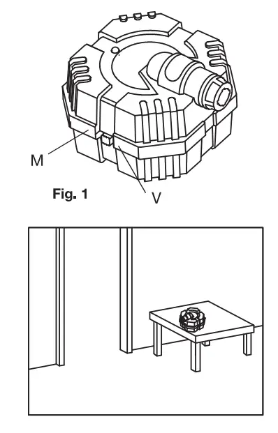
SPYX 10041 Motion Alarm/Detector

Important: Please save this instruction sheet. The information is useful!
TO OPERATE The SPYX MOTION ALARM- Motion Detector
Place Motion Alarm near a place where you think people may walk, like a door or a hallway.
- The alarm works best in bright light.
- Turn on the alarm to position #M (Motion Detector). The red LED will flash after 3 seconds to show that the alarm is ready to go!
- If alarm does not sound, it could be because it needs a bit more light in the room.
- Test the alarm by moving your hand in front of the beam.
- The alarm will sound for 2 to3 seconds show you that the alarm is set,
- After turning the alarm on, the alarm wil reset automatically.
- Turn alarm off when not using to make the batteries last longer.

TO OPERATE The SPYX MOTION ALARM- Vibration Detector
Place Motion Alarm in or on anything that you want to protect (example: a book or backpack)
- The alarm works in any light conditions.
- Turn on the alarm to position #V (Vibration Detector). The red LED will flash after 3 seconds to show that the alarm is ready to go!
- Test the alarm by picking up or moving the object that the alarm sits on
- The alarm will sound for 2 to 3 seconds show you that the alarm is set.
- After turning the alarm on, the alarm will reset automatically.
- Turn alarm off when not using to make the batteries last longer
ADULTS: TO REPLACE BATTERIES
Requires 2 AAA (LR03) batteries, not included.
Use a small Phillips screwdriver to loosen the screw and remove battery compartment cover. (Fig. 2)
NOTE: Screws will not detach from battery compartment cover.
Place batteries in the compartment as shown. Replace battery compartment cover and tighten screws.
BATTERY SAFETY INFORMATION
- Only adults should install and replace batteries.
- Do not recharge non-rechargeable batteries.
- Remove dead or exhausted batteries.
- Insert batteries correctly. Match positive and negative signs.
- The supply terminals are not to be short circuited.
- Do not use rechargeable batteries.
- Do not mix alkaline, standard (carbon-zinc), or rechargeable (nickel-cadmium) batteries.
- Do not mix old and new batteries.
- Only the batteries of the same or equivalent type are recommended to be used.
- Do not dispose of batteries in a fire; they may explode.
- Dispose of batteries safely.
FCC Statement:
This device complies with part 15 of the FCC Rules. Operation is subject to the following two conditions: (1) This device may not cause harmful interference, and (2) this device must accept any interference received, including interference that may cause undesired operation.Any Changes or modifications not expressly approved by the party responsible for compliance could void the user’s authority to operate the equipment.
NOTE: This equipment has been tested and found to comply with the limits for a Class B digital device, pursuant to part 15 of the FCC Rules. These limits are designed to provide reasonable protection against harmful interference in a residential installation. This equipment generates, uses and can radiate radio frequency energy and, if not installed and used in accordance with the instructions, may cause harmful interference to radio communications. However, there is no guarantee that interference will not occur in a particular installation. If this equipment does cause harmful interference to radio or television reception, which can be determined by turning
the equipment off and on, the user is encouraged to try to correct the interference by one or more of the following measures:
- Reorient or relocate the receiving antenna.
- Increase the separation between the equipment and receiver.
- Connect the equipment into an outlet on a circuit different from that to which the receiver is connected.
- Consult the dealer or an experienced radio/TV technician for help.
WARNING: Changes or modifications to these units not expressly approved by the party responsible for compliance could void the user’s authority to operate the equipment.
WARNING: CHOKING HAZARD
Small parts. Not for children under 3 years. Product specifications subject to change.
MOTION ALARM 10041-1S-US R3: IF YOU HAVE ANY QUESTIONS, PLEASE CONTACT US AT www.atomicmonkeyproducts.com/help
Important: Please save this instruction sheet. It contains valuable product information.
How to Play
The SpyX Voice Disguiser records up to 6 seconds of any sOund including your voice. You can then play back that sound or voice so that it sounds completely different! That way you can disguise your voice when leaving messages.
- To record your voice, press and hold the record button, you will hear 1 beep. This is when you start talking into the microphone. When you hear 2 beeps let go of the record button. Fig 1

- For the best voice disguising, put the disguise slide in the middle position.
- Press play once to play back the message that you recorded.
- While it is playing, move the disguise slide back and forth to hear how you can make your message sound freaky! You can speed it up or slow it down!
- The message will repeat over and over if you hold the play button.
ATTENTION ADULTS-TO REPLACE BATTERIES Fig 2.
Spyx Voice Disguiser requires 3- 386 (LR43) batteries, included.
- Locate the battery compartment on the base of the toy. Use a small Phillips head screwdriver to loosen the screw, and remove the BATTERY COVER.
- Remove all old batteries.
- Place new batteries in compartment as shown
- Replace the battery cover and tighten the screw.
BATTERY SAFETY INFORMATION
- Only adults should install and replace batteries.
- Do not recharge non-rechargeable batteries.
- Remove dead or exhausted batteries.
- Insert batteries correctly. Match positive and negative Sign
- The supply terminals are not to be short circuited.
- Do not use rechargeable batteries.
- Do not mix alkaline, standard (carbon-zinc), or rechargeable (nickel-cadmium) batteries,.
- Do not mix old and new batteries.
- Only the batteries of the same or equivalent type are recommended to be used.
- Do not dispose of batteries in a fire; they may explode.
- Dispose of batteries safely.
FCC Statement:
This device complies with part 15 of the FCC Rules. Operation is subject to the following two conditions: (1) This device may not cause harmful interference, and (2) this device must accept any interference received, including interference that may cause undesired operation. Any Changes or modifications not expressly approved by the party responsible for compliance could void the user’s authority to operate the equipment.
NOTE: This equipment has been tested and found to comply with the limits for a Class B digital device, pursuant to part 15 of the FCC Rules.
These limits are designed to provide reasonable protection against harmful interference in a residential installation. This equipment generates, uses and can radiate radio frequency energy and, if not installed and used in accordance with the instructions, may cause harmful interference to radio communications. However, there is no guarantee that interference will not occur in a particular installation. If this equipment does cause harmful interference to radio or television reception, which can be determined by turning the equipment off and on, the user is encouraged to try to correct the interference by one or more of the following measures:
- Reorient or relocate the receiving antenna.
- Increase the separation between the equipment and receiver.
- Connect the equipment into an outlet on a circuit different from that to which the receiver is connected.
- Consult the dealer or an experienced radio/TV technician for help
Important: Please save this instruction sheet. It contains valuable product information.
How to play with your SpyX Invisible Ink Pen (Fig 1)
- Remove PEN CAP.
- Write your invisible message on a piece of paper.
- You can write messages on any paper, including Small pieces of paper that you can hide and transport inside the SECRET STORAGE (see below).
- Hide your message in a secret location, or pass It to a friend to decode.
- To decode the message, press and hold the LIGHT SWITCH. Shine the DECODER LIGHT at the message. The invisible message will be revealed.
- Always replace pen cap when finished writing.
Note: If the cap is left off and the PEN TIP dries out, press the tip to a damp cloth or sponge to moisten it.
Tip: Use the SpyX lInvisible Ink Pen to mark your stuff and make sure you can always identify what’s realy yours!
TO UNLOCK THE SECRET STORAGE (Fig 2)
- Unscrew the top half of the SpyX Invisible Ink pen counterclockwise until the top and bottom compartments separate.
- The secret storage can be used to hide and store messages, extra paper, or other small items.
- One roll of paper is included. Make refills by using your own paper
BATTERY SAFETY INFORMATION
- Requires 3 386 (LR43) button-cell batteries, included.
- Only adults should install and replace batteries.
- Do not recharge non-rechargeable batteries.
- Remove dead or exhausted batteries.
- Insert batteries correctly. Match positive and negative signs.
- The supply terminals are not to be short circuited.
- Do not use rechargeable batteries.
- Do not mix alkaline, standard (carbon-zinc), or Rechargeable (nickel-cadmium) batteries.
- Do not mix old and new batteries.
- Only the batteries of the same or equivalent type recommended to be used.
- Do not dispose batteries in a fire; they may explode.
- Dispose of batteries safely.
ATTENTION ADULTS-TO REPLACE BATTERIES
The SpyX Invisible Ink pen requires 3 386 (LR43) button-cell batteries, included.
- Use a small Phillips head screwdriver to loosen the screw on the battery compartment. The screw will not fall out.
- Open battery cover. Remove exhausted batteries.
- Place new batteries in compartment as shown (Fig. 3).

- Replace the battery cover and tighten screw.
WARNING: Dispose of used batteries immediately. Keep new and used batteries away from children. If you think batteries might have been swallowed or placed inside any part of the body, seek immediate medical attention.
WARNING: Changes or modifications to these units not expressly approved by the party responsible for compliance could Void the user’s authority to operate the
equipment.
Important: Please save this instruction sheet.
It contains valuable product information.
How to Play
- swing forward both the sighting lens and 2x magnification lens (Fig 1)

- To turn on the Twin LED spy lights, activate the on/off switch in the rear of the battery pack. (Fig 2)

- Now you can spy in the dark!
Tip #1: To conserve battery life, turn off the lights on your goggles when you are not using them
Tip #2; the Flip scope works best in daylight conditions so you can see things far-away
BATTERY SAFETY INFORMATION
- Only adults should install and replace batteries.
- Do not recharge non-rechargeable batteries.
- Remove dead or exthausted batteries.
- Insert batteries correctly. Match positive and negative signs.
- The supply terminals are not to be short circuited.
- Do not use rechargeable batteries.
- Do not mix alkaline, standard (carbon-zinc), or rechargeable (nickel-cadmium) batteries.
- Do not mix old and new batteries.
- Only the batteries of the same or equivalent type recommended to be used.
- Do not dispose of batteries in a fire; they may explode.
- Dispose of batteries safely.
ATTENTION ADULTS-TO REPLACE BATTERIES (Fig 2.)
This product requires 3 AAA (LR03) batteries, not included.
- Locate the battery compartment on the product. Use a small Phillips head screwdriver to loosen the screw, and remove the BATTERY COVER.
- Remove all old batteries.
- Place new batteries in compartment as shown
- Replace the battery cover and tighten screw.
WARNING: Changes or modifications to these units not expressly approved by the party responsible for compliance could void the user’s authority to operate the equipment.
WARNING: CHOKING HAZARD
Small parts. Not for children under 3 years. Product specifications subject to change.
MOTION ALARM 10041-1S-US R3: IF YOU HAVE ANY QUESTIONS, PLEASE CONTACT US AT www.atomicmonkeyproducts.com/help
Important: Please save this instruction sheet. It contains valuable product information.



























