Signature Hardware Edenton and ST. Augustine Bathroom Accessories

BEFORE YOU BEGIN
We recommend consulting a professional if you are unfamiliar with installing bathroom accessories. Signature Hardware accepts no liability for any damage
to the walls, xtures, or doors or for personal injury during installation. Observe all local plumbing and building codes. Unpack and inspect the product for shipping damage. If any damage is found, contact our Customer Relations team at 1-800-221-3379.
GETTING STARTED
- Ensure that you have gathered all the required materials that are needed for the installation.
- We recommend anchoring any bathroom accessories that will bear weight to wall studs or solid wood blocking. If the studs in your bathroom do not line up with the mounting location for your bathroom accessory, wood blocking can be installed between the studs using standard 2 x 4’s. We recommend consulting a professional if you are unfamiliar with this type of installation.
- Because wall construction and materials vary from home to home, Signature Hardware does not provide mounting hardware for all of our bathroom accessories. The appropriate mounting hardware can be purchased from your local hardware store.
TOOLS AND MATERIALS
INSTALLATION
- Position the mounting bracket on the wall where desired. Using a pencil, lightly mark the location of mounting screws on the wall.
NOTE: Mounting bracket should be oriented properly and level.
Posicione el soporte de instalación en el lugar de la pared que desee. Con un lápiz, marque suavemente en la pared el lugar de los tornillos de instalación.
NOTA: El soporte de instalación debe estar orientado correctamente y nivelado.
- At the marked location, drill a pilot hole with the appropriate drill bit for the wall surface or material.
NOTE: If installing into drywall, be sure to use drywall anchors. - En el lugar marcado, perfore un orificio guía con la broca adecuada para la superficie o el material de la pared.
NOTA: En caso de instalarlo en una pared de yeso, asegúrese de utilizar anclajes para pared de yeso.
- Using a screwdriver, attach the mounting bracket to the wall with the mounting screws. Make sure the side of the mounting bracket is against the wall.
- Con un destornillador, adhiera el soporte de instalación a la pared con los tornillos de instalación. Asegúrese de que la parte plana del soporte de instalación esté adherida contra la pared.

- Place the bathroom accessory over the mounting bracket and tighten the set screw with a hex wrench.
- Coloque el accesorio sobre el soporte de instalación y ajuste el tornillo de fijación con la llave hexagonal.

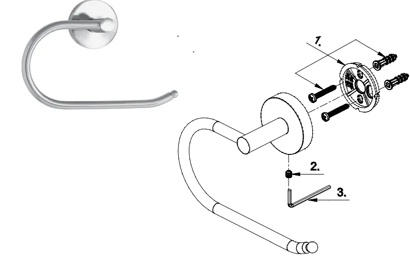
Towel Bar
| Part No.
Numéro de pièce | ||||
| No. | Part Name | Nombre de pieza | Nom de la pièce | N.º de pieza |
| 1 | Holding Hardware | Accesorios de soporte | Quincaillerie de fixation | A290495 |
| 2 | Screw (M5 * 6 mm L) | Tornillo (M5 x 6 mm de largo) | Vis (M5 * 6 mm L) | A075038 |
| 3 | Hex Wrench (H2.5 * 19 mm L * 53 mm L) | Llave hexagonal (H2.5 x 19 mm de largo x 53 mm de largo) | Clé hexagonale (H2.5 * 19 mm L * 53 mm L) | A031000 |
| 4 | 18” Towel Bar | Toallero de barra de 18” | Porte-serviettes de 18 po (45,7 cm) | A250987 |

| Part No.
Numéro de pièce | ||||
| No. | Part Name | Nombre de pieza | Nom de la pièce | N.º de pieza |
| 1 | Holding Hardware | Accesorios de soporte | Quincaillerie de fixation | A290495 |
| 2 | Screw (M5 * 6 mm L) | Tornillo (M5 x 6 mm de largo) | Vis (M5 * 6 mm L) | A075038 |
| 3 | Hex Wrench (H2.5 * 19 mm L * 53 mm L) | Llave hexagonal (H2.5 x 19 mm de largo x 53 mm de largo) | Clé hexagonale (H2.5 * 19 mm L * 53 mm L) | A031000 |
| 4 | 24” Towel Bar | Toallero de barra de 24” | Porte-serviettes de 24 po (61 cm) | A250987 |
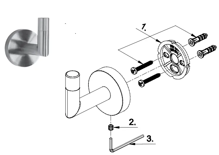
Robe Hook
| Part No.
Numéro de pièce | ||||
| No. | Part Name | Nombre de pieza | Nom de la pièce | N.º de pieza |
| 1 | Holding Hardware | Accesorios de soporte | Quincaillerie de fixation | A290495 |
| 2 | Screw (M5 * 6 mm L) | Tornillo (M5 x 6 mm de largo) | Vis (M5 * 6 mm L) | A075038 |
| 3 | Hex Wrench (H2.5 * 19 mm L * 53 mm L) | Llave hexagonal (H2.5 x 19 mm de largo x 53 mm de largo) | Clé hexagonale (H2.5 * 19 mm L * 53 mm L) | A031000 |
Towel Bar
| Part No.
Numéro de pièce | ||||
| No. | Part Name | Nombre de pieza | Nom de la pièce | N.º de pieza |
| 1 | Holding Hardware | Accesorios de soporte | Quincaillerie de fixation | A290495 |
| 2 | Screw (M5 * 6 mm L) | Tornillo (M5 x 6 mm de largo) | Vis (M5 * 6 mm L) | A075038 |
| 3 | Hex Wrench (H2.5 * 19 mm L * 53 mm L) | Llave hexagonal (H2.5 x 19 mm de largo x 53 mm de largo) | Clé hexagonale (H2.5 * 19 mm L * 53 mm L) | A031000 |

| Part No.
Numéro de pièce | ||||
| No. | Part Name | Nombre de pieza | Nom de la pièce | N.º de pieza |
| 1 | Holding Hardware | Accesorios de soporte | Quincaillerie de fixation | A290495 |
| 2 | Screw (M5 * 6 mm L) | Tornillo (M5 x 6 mm de largo) | Vis (M5 * 6 mm L) | A075038 |
| 3 | Hex Wrench (H2.5 * 19 mm L * 53 mm L) | Llave hexagonal (H2.5 x 19 mm de largo x 53 mm de largo) | Clé hexagonale (H2.5 * 19 mm L * 53 mm L) | A031000 |

| Part No.
Numéro de pièce | ||||
| No. | Part Name | Nombre de pieza | Nom de la pièce | N.º de pieza |
| 1 | Holding Hardware | Accesorios de soporte | Quincaillerie de fixation | A290310 |
| 2 | Screw (M4 * 12 mm L) | Tornillo (M4 x 12 mm de largo) | Vis (M4 * 12 mm L) | A292016 |
| 3 | Hex Wrench (H2 * 17 mm L * 49 mm L) | Llave hexagonal (H2 x 17 mm de largo x 49 mm de largo) | Clé hexagonale (H2 * 17 mm L * 49 mm L) | A031003 |
| 4 | 24 “Towel Bar | Toallero de barra de 24” | Porte-serviettes de 24 po (61 cm) | A250031 |
Robe Hook
| Part No.
Numéro de pièce | ||||
| No. | Part Name | Nombre de pieza | Nom de la pièce | N.º de pieza |
| 1 | Holding Hardware | Accesorios de soporte | Quincaillerie de fixation | A290310 |
| 2 | Screw (M4 * 12 mm L) | Tornillo (M4 x 12 mm de largo) | Vis (M4 * 12 mm L) | A292016 |
| 3 | Hex Wrench (H2 * 17 mm L * 49 mm L) | Llave hexagonal (H2 x 17 mm de largo x 49 mm de largo) | Clé hexagonale (H2 * 17 mm L * 49 mm L) | A031003 |

| Part No.
Numéro de pièce | ||||
| No. | Part Name | Nombre de pieza | Nom de la pièce | N.º de pieza |
| 1 | Holding Hardware | Accesorios de soporte | Quincaillerie de fixation | A290310 |
| 2 | Screw (M4 * 12 mm L) | Tornillo (M4 x 12 mm de largo) | Vis (M4 * 12 mm L) | A292016 |
| 3 | Hex Wrench (H2 * 17 mm L * 49 mm L) | Llave hexagonal (H2 x 17 mm de largo x 49 mm de largo) | Clé hexagonale (H2 * 17 mm L * 49 mm L) | A031003 |

| Part No.
Numéro de pièce | ||||
| No. | Part Name | Nombre de pieza | Nom de la pièce | N.º de pieza |
| 1 | Holding Hardware | Accesorios de soporte | Quincaillerie de fixation | A290310 |
| 2 | Screw (M4 * 12 mm L) | Tornillo (M4 x 12 mm de largo) | Vis (M4 * 12 mm L) | A292016 |
| 3 | Hex Wrench (H2 * 17 mm L * 49 mm L) | Llave hexagonal (H2 x 17 mm de largo x 49 mm de largo) | Clé hexagonale (H2 * 17 mm L * 49 mm L) | A031003 |
| 4 | Sleeve | Casquillo | Manchon | A255022 |
- 1.800.221.3379
- signaturehardware.com




























