
Instruction manual
Studio Compact-HD
SCHD100 2.1 Ch Compact Home Theater System

Safety information
Important – Please read these instructions fully before installing or operating
Power source

- This symbol means that this unit is double An earth connection is not required.
- The appliance must be connected to a 100-240 volt 50/60Hz AC supply by means of a three-pin
- Unplug this apparatus during lightning storms or when unused for long periods of time – to prevent damage to this

- Opening or removing covers may expose you to dangerous voltages or other

- To prevent the risk of fire or electric shock, avoid overloading wall outlets, extension cords, or integral convenience
- Use suitable power sources — Plug the product into a suitable power source, as described in the operating instructions or as marked on the
- The supply voltage should be the same as that indicated in the technical specifications and the appliance rating
- If the socket outlets in your home are not suitable for the plug supplied with this unit check with a qualified electrician for
- In order tO disconnect the apparatus from the mains completely, switch off the Outlet and remove the mains plug

- Do not bend, stretch Or pull the supply cable in order to avoid electric shock.
- When instaLed, the power socket must be within easy
- Do not install the unit in a con ned space. Allow adequate ventilation to prevent heat build-up.
- For indoor use only
Heat build-up
- During use the unit will heat up, this is not an If the unit is used continuously at high volume levels, the unit temperature will rise considerably. Do not touch the unit to avoid potential burns.
Colour irregularity on the TV screen
Color irregularities may be seen on certain types of TV.
- If such an irregularity is seen turn off the TV, then turn it on again after 15 to TO
- If the color irregularity is still seen place the soundbar unit further away from the
Moisture and water
- Do not use this apparatus near water or
Do not use this product near a bathtub, washbowl, kitchen sink, and laundry tub, in a wet basement, near a swimming pool, or anywhere else that water or moisture is present.
Heat sources and flames
![]()
- Batteries shall not be exposed to excessive heat such as sun, fire, or the like
- To prevent the risk of fire or electric shock, avoid overloading wall outlets, extension cords, or integral convenience
Servicing and repairs
- Refer all servicing to qualified service personnel
- Servicing is required when the apparatus has been damaged in any way: such as liquid has been spilled or objects have fattened into the apparatus; the apparatus has been exposed to rain or moisture, does not operate normally, or has been
Getting to know your Soundbar
You’ll be up and running in no time
Ready? Let’s begin…
Please read these instructions carefully. They contain important information which will help you get the best from your soundbar and to ensure safe and correct installation and operation.
If you require any further assistance, our technical experts are happy to help. For full details, refer to the product support section at the end of these instructions.
Accessories
- Soundbar
- Remote control
- CR20Z2 battery
- 5mm to 3.5mm audio cable
- Mains adapter
- Instruction manual



| 1.STANDBY touch button: Switch on the Soundbar or switch to STANDBY mode 2.VOLUME + / – touch buttons: Increase or decrease the output volume 3.SOURCE touch button: Select an audio source from AUX, BLUETOOTH, COAXIAL or OPTICAL inputs. 4.STATUS LED: Input mode and stand by 5.WALL-MOUNT BRACKETS: Use these brackets to fix the Soundbar to a wall | 6.ANTI-SKID PAD 7.COAXIAL AUDIO INPUT (RCA): Connect the digital audio output from a TV, DVD, or Blu-ray 8.OPTICAL AUDIO INPUT: Connect the digital optical audio output from a TV 9.AUX AUDIO INPUT (3.5mm): Connect the analog audio output from an MPA player or similar using a 3.5mm audio cable 10.MAINS POWER DC INPUT: Connect the supplied power adapter. |

Making the connections
Follow the below connection guide to connect the soundbar to a TV with or without a digital output, a Bluray/ DVD player or an audio source such as an MPA player.
Only one digital connection to a TV is required. Use either the coaxial or optical connections DO NOT power on the mains until all other connections are made

Installing the remote battery
| 1.Turn the battery cover counterclockwise using a coin to open the battery compartment. (Fig 1) | ![]() |
| 2.Insert the CR2052battery into the battery compartment with the + symbol facing upwards. (Fig 2)
| ![]() |
| 3.Replace the battery compartment cover and turn clockwise using the coin to close. (Fig 3) | ![]() |
Battery disposal advice
- Dispose of used batteries with regard to the recycling regulations in your
Do NOT short circuit batteries or throw them into the water, the general rubbish, or in a fire. Weak batteries can leak and damage the remote control. Replace them in good time! - Keep coin-sized button batteries out of sight and out of the reach of children. Coin lithium batteries can cause serious injury when swallowed
Using your soundbar
Let’s get started
Standby mode
This unit is designed to enter STANDBY mode automatically after 20 MINUTES (approximately) of inactivity. Press the STANDBY button to wake the unit.
- PresstheSTANDBY button on the unit)oppress the STANDBY button on the remote to put the system on standby
- TO resume normal operation press either button again
Switching inputs
Follow the below steps to switch inputs between Auxiliary, Coaxial, Bluetooth, or Optical.
- Ensure the Soundbar is powered If not press the STANDBY button on the unit (1) or remote.
- Press the SOURCE button on the unit (J) or remote repeatedly until you reach the required input mode
- Auxiliary input GREEN LED
- Coaxial input WHITE LED
- Optical input PURPLE LED
- Bluetooth input BLUE LED
When switching inputs there will be a 2-second pause after selecting BT white the unit scans for paired devices
Adjusting the volume
- To increase the volume level press the VOLUME+ button on the main unit (2) or remote repeatedly or press and hold for fast adjustment. The status LED will blink accordingly
- To decrease the volume level press the VOLUME button on the main unit (2) or remote repeatedly or press and hold for fast adjustment. The status LED will blink accordingly
LED status table
The below table explains the LED indications.
| Operation | Description | Action |
| Standby | Standby | RED (Solid) |
| SOurce | Aux | GREEN (Solid) |
| Coaxial | LIGHT BLUE (Solid) | |
| Optical | PURPLE (Solid) | |
| Bluetooth paired | BLUE (Solid) | |
| Bluetooth ready for paring | BLUE (Flash) | |
| Vol+/- | Adjust VOL | Current input color (blink once) |
| Bass+/- | Adjust bass level | Current input color (blink once) |
| Sound EQ | Assign EQ mode | Current input color (blink once) |
| Mute | Mute sound | RED (Flash) |
EQ presets
- Press the SOUND EQ button on the remote control repeatedly to cycle through the sound modes. The status LED blink accordingly. Choose between :- STANDARD (STD) ,MOVIE or NEWS
Bass enhancement
- To increase the bass press the BASS + button on The status LED will blink accordingly.
- To decrease the bass press the BASS – button on the remote. The status LED with blink accordingly
The BASS levels range from -5 to +S
Mute function
- Pressing the MUTE button on the remote will temporarily silence the audio output. The status LED wilt blink accordingly
- Press the MUTE button again to resume the audio output. The status LED wilt blink accordingly.
Voice message feedback
Follow the below steps to enable the voice message when performing tasks.
- Enter STANDBY mode if not
- Press and hold the
PLAY/PAUSE button on the remote for 5 seconds. - Repeat the same process to disable the voice message when enabled
Pairing a Bluetooth device
Before you can use the soundbar with your phone or another Bluetooth-capable device you will need to pair the device to the sound bar.
- Press the SOURCE button on the main unit (Z) or
- When selected the status LED will flash while the unit tries to connect to previously paired If no devices are found the status LED will remain flashing to indicate it is ready for pairing a new device.
- Enable the Bluetooth function on your audio device and search for a device labeled “Studio Compact” in the available
- Select and enable pairing for the “Studio Compact” If prompted for a password enter ‘0000‘.
- If pairing is successful the soundbar will beep and the STATUS LED will stop
- If the connected device goes out of range, the soundbar will attempt to connect for 2 minutes. When the device comes into range the soundbar will reconnect again automatically.
- To remove a paired device using only the soundbar, press and hold the PLAY/PAUSE button on the remote control for 5 seconds. The STATUS LED will begin flashing once more.
Bluetooth LED status table
| Status LED | Reason |
| Solid blue (No flash) | Connected |
| Blue flashing | Auto reconnecting with the last paired device. Pairing mode. |
- Only one Bluetooth device can be paired at a time
- Not all Bluetooth devices are compatible.
Controlling a paired device
Once connected you can either use the controls on the audio device to begin playback, skip tracks, etc.
Or you can use the control buttons on the soundbar δremotes.
- The
PLAY/PAUSE button on the remote when pressed will begin playback of the selected track on the audio device. Press again to pause playback. - To skip to the next track Press the SKIP
button on the - To skip to the previous track Press the SKIP
button on the - Any further operations must be done from the audio
The volume output is affected by the volume level on the audio source EG: Phone or laptop, so make sure that is set to about 70-80% ( not too loud to avoid distortion).
Bluetooth notes
- The operation range of Bluetooth is approximately 10 meters (30 Feet). Any obstacles in the path between devices may reduce this range.
- Only one Bluetooth device can be paired at a time.
- Not all Bluetooth devices are compatible.
Assign sound according to the way of soundbar placement
To enjoy the correct Left D Right sound channel, please follow the below steps to assign the sound when you plan to wall-mount the soundbar.
- Enter STANDBY mode if not already.
- Press and hold the
button on the remote for 5 - Repeat the same process to assign the sound again when you want to change from wall-mount to desk-top
The default setting is for desktop placement
Other information
Helpful technical information
Wall mounting the soundbar
| 1.Align the Soundbar in the chosen Use a pencil to mark the drilling positions 402 mm 15.83”) apart. (Fig 4) The Soundbar should be located at least 75mm (5″) below the bottom of the TV. | ![]() ![]() |
| 2.Drill holes as marked in STEP (Fig 5 ) | ![]() |
| 3.Insert 2 screws (not supplied) into the holes and tighten. Take care to leave Smm between the screw heads and the wall. (Fig 6) You will need to ensure the screws are long enough to sufficiently grip the wall while allowing Smm between screw head D watt. | ![]() |
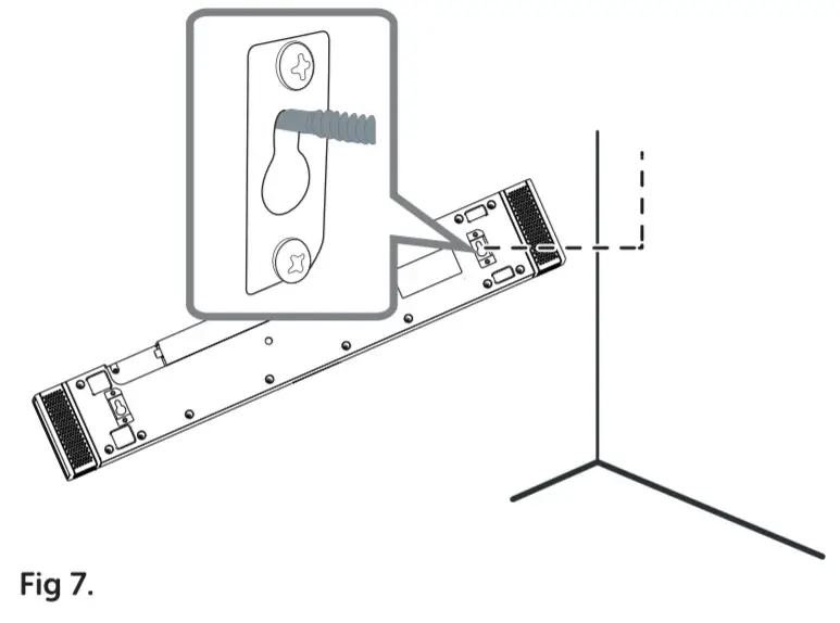
4.Hook the Soundbar into the screws. For secure mounting ensure the screw heads slide firmly into the narrow part of the (Fig 7 )
| ![]() |
Technical specification
Amplifier
| FAX Power output | 100W – 2 x 2′ Active T:weeter and did Range Speaker, 1x 5″ Active Subwoofer |
| Frequency response | 20Hz – 20KHz + 3dB |
| Input sensitivity | 550 mV |
| Main unit | |
| Power supply | INPUT: 100—240V – 50—60Hz OUTPUT: 24V === 1.5A |
| Power consumption | 2SW |
| Standby power consumption | < 0.5W |
| Full range speaker drivers Subwoofer | Impedance: 4 Ohm, 2″ Frequency response 250Hz – 20KHz Impedance: 8 Ohm, 3° Frequency response: 45-250Hz |
| Dimensions | Soundbar: 550 x90x 58rnrn(21.65”x354“x2.28′ |
| Gains cable length | 1.5M |
| Remote control | |
| Battery | lx CR2032 |
| BT: compatibility | |
| BT: version | EDR, A2DP, AVRCP |
| 4 2 |
Care & maintenance
After using the Soundbar
Set to Standby.
Switch the unit off at the mains and unplug it if you a leaving it unattended for a long period (holidays etc).
Avoid leaving the battery fitted in the remote control if you leave the unit unattended for long periods. It may leak and damage the remote control
Care & cleaning
AU care and cleaning operations should be carried out Switch the unit With the unit unplugged from the mains power. Occasionally wipe the cabinet with a hint-free duster. Never clean the unit with liquids or solvents.
Product support
Troubleshooting
No power.
- Ensure the mains plug is connected to a power supply and is switched ON
- take sure there is the power to the mains
Optical cable does not fit well
- Remove the clear rubber cap from each end before
No sound?
- take sure if playing from the AUX input, the external source has the volume turned up and is playing a
- Make sure the volume is turned
If using a digital coaxial or optical connection ensure the source DIGITAL output is set to PCB, LPCM, PCM 2Ch stereo, or PCM downmix. - The Bluetooth device does not Check ’Pairing a Bluetooth device’.
No response from the Soundbar.
- Unplug the power cable for 1 minute then plug back in
The remote control does not work.
Reduce the distance between the remote and main unit
- Check the batteries are installed
- Replace the batteries
- Aim the remote directly at the Soundbar
Unit powers off after 20 minutes.
- This unit is designed to enter STANDBY mode automatically after 20 MINUTES of Press the STANDBY button to wake the unit.
The right and left channels seem reversed.
- The default setting of this soundbar is for desk-top If you want to wall-mount this soundbar, please follow the instruction in this manual to re-assign the sound according to the way of soundbar placement.
Still, struggling? head on over to www.azatom.com for customer support and product FAQ’s
help is always at hand
Disposal

- Disposal of your old Your product is designed and manufactured with high-quality materials and components, which can be recycled and reused
- When this crossed-out wheeled bin symbol is attached to a product it means the product is covered by the European Directive 2002/96/EC.
- Please make yourself aware of the local collection system for electrical and electronic
- Please act according to your local rules and do not dispose of your old products with your normal household
- The correct disposal of your old product wilt help prevent potential negative consequences for the environment and human health

This product is intended for use within the ” ” UK. This equipment complies with the essential requirements for the Radio Equipment and Telecommunications Terminal Equipment Directive RED 2014/53/EU



Designed by 4Coal Technology Ltd. in the United Kingdom: Azatom Online. Discovery 1. North East Technology Park. Sedgefield. TS21 3FH. ATOMS and FREEDOMS are registered trademarks of depot Technology Ltd. All other trademarks are the property of their respective owners. All Rights Reserved.
Three-year limited warranty Registration Required. Visit www.azatom. com warranty to register your product online. If you are unhappy with this product please contact us within the three-year warranty period from the date of purchase. Any questions? email:[email protected]

























