HALO HLB IB518291ML HLB-3”, HLB-4” and HLB-6” Series Instructions
Packaging Contents
A. HLB and connector, round

B. HLB and connector, square

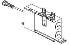
C. J-Box, dedicated, 3”

D. J-Box, dedicated, 4” and 6”

E. J-Box, selectable, 4” and 6”

ITEMS REQUIRED
(Purchase separately)
- Gloves
IMPORTANT SAFETY INSTRUCTIONS
When using product, basic precautions should always be followed, including the following:
- Heed all warnings, including below warnings AND those included on product.
- HALO® recessed luminaires (fixtures) are designed to meet the latest NEC requirements and are certified in full compliance with UL. Before attempting installation of any recessed lighting luminaire check your local electrical code. This code sets the wiring standards for your locality and should be carefully studied before starting.
![]()
- Read and follow these instructions.
Risk of Fire – MINIMUM 90°C SUPPLY CONDUCTORS.
If uncertain, consult an electrician.
Risk of Electric Shock – To avoid possible electrical shock, be sure that power supply is turned off at fuse box or circuit breaker before installing or servicing luminaire.
Risk of Fire/Electric Shock – LED Retrofit Kit installation requires knowledge of luminaires electrical systems. If not qualified, do not attempt installation. Contact a qualified electrician. Luminaire wiring and electrical parts may be damaged when drilling for installation of LED retrofit kit. Check for enclosed wiring and components.
- Install this kit only in the luminaires that have the construction features shown in the photographs and/or drawings.
- To prevent wiring damage or abrasion, do not expose wiring to edges of sheet metal or other sharp objects.

- Connect fixture to a 120 volt, 60 Hz power source. Any other connection voids the warranty.
- Fixture should be installed by persons with experience in household wiring or by a qualified electrician. The electrical system, and the method of electrically connecting the fixture to it, must be in accordance with the National Electrical Code and local building codes.
- This device complies with Part 15 of the FCC Rules. Operation is subject to the following two conditions: (1) this device may not cause harmful interference, and (2) this device must accept any interference received, including interference that may cause undesired operation.
- This device complies with ISED ICES Standard Canada ICES-005(B) / NMB-005 (B).
- Do not make or alter any open holes in an enclosure of wiring or electrical components during kit installation.
- Please examine all parts that are not intended to be replaced by the retrofit kit for damage and replace any damaged parts prior to installation of the retrofit kit.
- This device is not intended for use with emergency exits.
- For Canada only per CSA C22.2 No. 250.1-16, retrofits for luminaire conversion: The retrofit kit is accepted as a component of a luminaire where the suitability of the combination shall be determined by authorities having jurisdiction. Product must be installed by a qualified electrician in accordance with the applicable and appropriate electrical codes. The installation guide does not supersede local or national regulations for electrical installations.
SAVE THESE INSTRUCTIONS AND WARNINGS.
DIMMING
Halo HLB is designed for dimming with many 120V Leading Edge (LE) and Trailing Edge (TE) phase control dimmers. Dimming capability may be enhanced with select dimmers that feature low end trim adjustment. (Consult dimmer manufacturer for specific load compatibility and application information. Note some dimmers require a neutral in the wallbox.) For the latest Halo HLB product information, please refer to specifications online at www.cooperlighting.com
DETERMINING WHICH INSTALLATION METHOD TO USE
The HLB models can be installed directly into a ceiling without requiring separate JBOX or recessed housings.
![]()
Risk of Electric Shock – To avoid possible electrical shock, be sure that power supply is turned off at fuse box or circuit breaker before installing or servicing luminaire.
WIRING
- Cut an opening in the ceiling by using the provided template to trace the module opening (see Figure 1). Make sure the opening is not larger than the outer flange of the LED module.
- Open the cover of the provided jbox and insert the supply wires through the preferred strain reliefs in the provided jbox (Fig. 3). Connect the bare copper (ground) wire from the jbox to the ground wire of the supply connection using the provided wire nut.
- Connect the black/white leads from the output of the driver to the appropriate supply side wiring using the provided wire nuts.
- Close the cover after properly securing the supply wire to the provided jbox on the rear of the LED module.
- Module is ready to install into ceiling. (See MOUNTING section for specific instructions).
MOUNTING
- Connect the remote driver box to the light fixture. (Fig. 2)
- Place remote driver box thru the cut-out hole and mount according to local code as required.
- Bundle any excess wire and place into ceiling above the module according to local code as required.
- Rotate both mousetrap springs upward to allow passage through the cutout in the ceiling (Fig.3).
- Continue to press the module through the cutout in the ceiling until the perimeter flange of the module is flush against the ceiling.
- The springs will rotate back into position and hold the LED module tight to the ceiling.


REMOVAL

![]()
Risk of pinching – Do not place hands under springs during removal of the LED module.
- Simply pull down firmly on LED module until mousetrap springs release from the ceiling. Reach through the ceiling to hold mousetrap springs up and away from the ceiling as you continue to pull the module from it’s opening.
- Disconnect wiring.
5-YEAR LIMITED WARRANTY
THE FOLLOWING WARRANTY IS EXCLUSIVE AND IN LIEU OF ALL OTHER WARRANTIES, WHETHER EXPRESS, IMPLIED OR STATUTORY INCLUDING, BUT NOT LIMITED TO, ANY WARRANTY OF MERCHANTABILITY OR FITNESS FOR ANY PARTICULAR PURPOSE.
Cooper Lighting Solutions warrants to customers that, for a period of five years from the date of purchase, Cooper Lighting Solutions products will be free from defects in materials and workmanship. The obligation of Cooper Lighting Solutions under this warranty is expressly limited to the provision of replacement products. This warranty is extended only to the original purchaser of the product. A purchaser’s receipt or other proof of date of original purchase acceptable to Cooper Lighting Solutions. This is required before warranty performance shall be rendered.
This warranty does not apply to Cooper Lighting Solutions products that have been altered or repaired or that have been subjected to neglect, abuse, misuse or accident (including shipping damages). This warranty does not apply to products not manufactured by Cooper Lighting Solutions which have been supplied, installed, and/or used in conjunction with Cooper Lighting Solutions products. Damage to the product caused by replacement bulbs or corrosion or discoloration of brass components are not covered by this warranty.
LIMITATION OF LIABILITY:
IN NO EVENT SHALL COOPER LIGHTING SOLUTIONS BE LIABLE FOR SPECIAL, INDIRECT, INCIDENTAL, OR CONSEQUENTIAL DAMAGES (REGARDLESS OF THE FORM OF ACTION, WHETHER IN CONTRACT, STRICT LIABILITY, OR IN TORT INCLUDING NEGLIGENCE), NOR FOR LOST PROFITS; NOR SHALL THE LIABILITY OF COOPER LIGHTING SOLUTIONS FOR ANY CLAIMS OR DAMAGE ARISING OUT OF OR CONNECTED WITH THESE TERMS OR THE MANUFACTURE, SALE, DELIVERY, USE, MAINTENANCE, REPAIR OR MODIFICATION OF COOPER LIGHTING SOLUTIONS PRODUCTS, OR SUPPLY OF ANY REPLACEMENT PARTS THEREFORE, EXCEED THE PURCHASE PRICE OF COOPER LIGHTING SOLUTIONS PRODUCTS GIVING RISE TO A CLAIM. NO LABOR CHARGES WILL BE ACCEPTED TO REMOVE OR INSTALL FIXTURES.
All returned products must be accompanied by a Return Goods Authorization Number issued by the Company and must be returned freight prepaid. Any product received without a Return Goods Authorization Number from the Company will be refused.
Cooper Lighting Solutions is not responsible for merchandise damaged in transit. Repaired or replaced products shall be subject to the terms of this warranty and are inspected when packed. Evident or concealed damage that is made in transit should be reported at once to the carrier making the delivery and a claim filed with them.
Reproductions of this document without prior written approval of Cooper Lighting Solutions are strictly prohibited.
FCC Statement
Note: This equipment has been tested and found to comply with the limits for a Class B digital device, pursuant to part 15 of the FCC Rules. These limits are designed to provide reasonable protection against harmful interference in a residential installation. This equipment generates uses and can radiate radio frequency energy and, if not installed and used in accordance with the instructions, may cause harmful interference to radio communications. However, there is no guarantee that interference will not occur in a particular installation. If this equipment does cause harmful interference to radio or television reception, which can be determined by turning the equipment off an on, the user is encouraged to try to correct the interference by one or more of the following measures:
- Reorient or relocate the receiving antenna.
- Increase the separation between the equipment and receiver.
- Connect the equipment into an outlet on a circuit different from that to which the receiver is connected.
- Consult the dealer or an experienced radio/TV technician for help.
Any changes or modifications to this unit not expressly approved by the party responsible for compliance could void the user’s authority to operate the equipment.

Cooper Lighting Solutions
1121 Highway 74 South
Peachtree City, GA 30269
P: 770-486-4800
www.cooperlighting.com
Cooper Lighting Solutions is a registered trademark.
All trademarks are property of their respective owners.
Product availability, specifications, and compliances are subject to change without notice
© 2020 Cooper Lighting Solutions
All Rights Reserved
Printed in China
HLB3, HLB4 and HLB6 Round Ceiling Templates

HLB3, HLB4 and HLB6 Square Ceiling Templates















