halo design Hygge Ø12 Copenhagen Lamp Instruction Manual
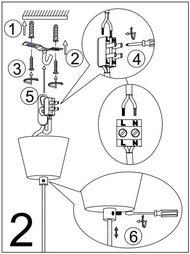
Instruction



- Make sure power is off on the outlet ,before the installaon.
- Follow the instrucon sketch above.
- Insert the light bulb.
- Go through point 1 to 2 before connecng the lamp to the power.
230V.GU10.MAX 35W
















