Brilliant 21523 Hensley 3W Indoor Step Light
Before first using your new Downlight, it is most important that you read and follow these instructions, even if you feel you are quite familiar with this type of product. Keep this document for future reference.
FITTING MUST BE INSTALLED BY A QUALIFIED ELECTRICAL CONTRACTOR
Warning:
- Installation, repair and/or inspection must be conducted by qualified personnel in accordance with Australian Standards and local Building codes.
- Care must be taken to ensure electrical wiring and other hidden utilities are not damaged when wall is cut.
- Do not install in a position where the unit will be accessible to children or infirm persons.
- Do not perform modification to the unit
- If the supply cord is damaged it should be replaced by the manufacturer or qualified person to avoid a hazard.
- Failure to follow these instructions may void the warranty.
Installation:
- Disconnect power.
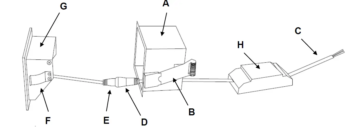
- Cut a square 76x76mm in wall for recessed housing “A”
- Assembly spring clip “B” with screw and nut to the recessed housing “A”. Repeat to other side.
- Run main cable and connect it with Line (L) and Neutral (N) cable “C ”. Place driver “H” appropriately. Ensure all connections are made in accordance with AS/NZS 3000 Wiring Rules..
- Feed socket D” and cable through recessed housing “A”
- Lift the spring clips ”B” up and insert recessed housing “A” into wall.
- Plug Connector “E” into socket “D”, then squeeze clip “F” and push light body “G” into recessed housing “A
- Restore power
Operation
- Light has 2 levels step dimming function. Simply switch off light and turn it back on to change brightness. Light is set to default brightness (Hi Brightness) if light has been turned off for more than 2 minutes before turning on.
Specifications:
- Protection : Class III (Light) Class II (Driver)
- Fitting Insulation Rating: IC 4
- Driver Insulation Rating: IC
- Ratings: 220V 240VAC , 50Hz, 3 W
- Cut out size: 76x76mm
- Light Source: Warm White; 140lm, 3000K LED (21523/05)
- Warm White; 100lm , 3000K LED 21523/06)
- Warm White; 120lm , 3000K LED 21524/05)
- Warm White; 80lm , 3000K LED 21524/06)
INSULATION RATING IC 4 and IC:
This light fitting and driver has achieved an IC 4 and IC insulation rating respectively in accordance with AS/NZS 60598.2.2. AN IC 4 RECESSED LUMINAIRE CAN BE ABUTTED AGAINST OR COVERED WITH NORMALLY FLAMMABLE MATERIALS INCLUDING BUILDING INSULATION.
WARNING: RISK OF OVERHEATING OR FIRE IF CLEARANCE DISTANCES ARE COMPROMISED.
BUILDING ELEMENT ABOVE FITTING
Light Fitting: IC 4 rated
| Dimension | Clearance |
| SC – Side clearance to thermal insulation and building element | 0mm |
| HC – Height clearance to thermal insulation and building element | 0mm |
Driver: IC rated
| Dimension | Clearance |
| SC – Side clearance to thermal insulation and building element | 50mm |
| HC – Height clearance to thermal insulation and building element | 50mm |
CONSIDERATION: Full insulation coverage of the Driver and light fitting will increase lumen depreciation resulting in a shorter life span than an open air installation.
Warranty:
Brilliant Lighting warrants this product against defects in manufacture and workmanship for a period of 3 years from date of purchase or as specified elsewhere. For products used in non domestic or commercial applications, Brilliant Lighting warrants this product for a period of 3 months from date of purchase. This warranty is only valid
for products installed and operated within the guidelines specified by Brilliant Lighting, and within the correct operating voltage ranges as stated on the product’s rating label. Warranty does not include damage or loss arising from incorrect installation, operation or maintenance of this product, damage caused through modification, incorrect installation, service by unqualified or unauthorised personnel or lack of regular maintenance and cleaning. Proof of installation by qualified personnel may be required, e.g. Electrical Safety Certificate. Proof of purchase must be supplied with all warranty claims.
This warranty is provided in addition to any other rights and remedies of the customer under any law. In applications not intended for household, personal or domestic use, liability is limited to replacement or reimbursement of product only. Brilliant Lighting does not warranty the costs of removal or re installation of this product or associated components. Our goods come with guarantees that cannot be excluded under the Australian Consumer Law. You are entitled to a replacement or refund for a major failure and compensation for any other reasonably foreseeable loss or damage. You are also entitled to have the goods repaired or replaced if goods fail to be of acceptable quality and the failure does not amount to a major failure. Any claim under this warranty must be made within the specified warranty period from date of purchase of this product. To make a claim under the warranty; at your own expense take the product (with proof of purchase receipt or similar) to the store where you purchased the product or contact Brilliant Lighting at the address below.
This warranty is given by:
Brilliant Lighting (Aust) Pty. Ltd.
ABN 37 006 203 694
956 Stud Road Rowville, VIC 3178
Phone: 0397652555
Email: [email protected]
MADE IN CHINA





















