SALUS SQ610RF Smart Thermostat

Introduction
The SQ610RF Quantum is a ZigBee temperature controller for wireless control of iT600 series devices, such as the KL08RF wiring centre, mini TRV head, RX10RF boiler control module. In order to control SQ610RF over the Internet or via the SALUS Smart Home mobile app (ONLINE mode), it must be installed together with the UGE600 Internet gateway (sold separately). From the application level, it is possible to pair SQ610RF with other system elements, e.g. Smart Plug SPE600, Smart Relay SR600 or window/door sensor OS600/SW600. SQ610RF can be used locally without an Internet connection (OFFLINE mode), however, it’s communication with other devices must be done using the CO10RF coordinator (sold separately).
Full manual in PDF format is available at www.salus-controls.eu site.
Product Compliance
This product complies with the essential requirements and other relevant provisions of Directives 2014/30/ EU, 2014/35/EU, 2014/53/EU and 2011/65/EU. The full text of the EU Declaration of Conformity is available at the following internet address: www.saluslegal.com.
Safety Information
Use in accordance to national and EU regulations. Use the device as intended, keeping it in dry condition. Product for indoor use only. Installation must be carried out by a qualified person in accordance to national and EU regulations. Disconnect your equipment before cleaning it with a dry cloth.
Package Content
- SQ610RF Quantum Thermostat
- Wall mounting plate
- Self-adhesive mounting tape
- Mounting screws
- Manual instruction
Before you start

- New SQ610RF Quantum Thermostat is partially charged, however, we recommend you fully charge the battery before use. Connect the charger to the micro-USB Port which is at the bottom of the SQ610RF Quantum Thermostat to charge the device.
- Charging to full battery level may take up to 24h maximum.

- Charging to full battery level may take up to 24h maximum.
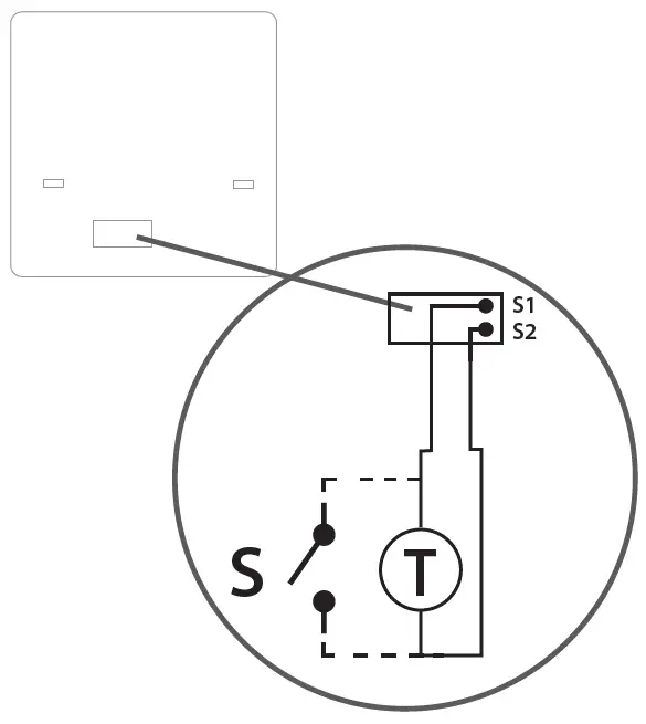
- Wiring diagram (S1, S2 Input)
- Symbols explanation
- S – volt-free contact
- T – temperature sensor
- S1,S2 Terminals
- air or floor temperature sensor
- external volt-free contact to connect any
- ON/OFF switch or occupancy sensor (Hotel card)
- Symbols explanation
- Mounting: to mount the thermostat you can use included accessories (mounting screws or self-adhesive tape). Remove the back cover to mount the plate to the wall. After this just attach the thermostat to the plate (it has a built-in magnet).
Please note
The ideal position to thermostat mounting is about 1,5m under floor level far from heating or cooling sources. Thermostat can’t be exposed to sunlight or any extreme conditions like for example draft.
LCD Icon Description

- Menu/Settings Description + Clock
- AM/PM
- Temperature unit
- Heating indicator (icon is animating when there is heating demand)
- Cooling indicator (icon is animating when there is cooling demand)
- RF Connection indicator
- Internet connection indicator
- Occupancy sensor (hotel card)
- Key lock function
- Standby mode icon
- Current Temperature / Setpoint Temperature
- Holiday mode
- Temporary override mode
- Settings icon
- Battery status indicator
- External / Floor temp sensor indicator
- Schedule program number
- Schedule mode icon
- Day indicator/ SET information
- Current Humidity value
| Button | Function |
| |
| „Down” Button (Decrease parameter value/moving on the menu in the ‘DOWN’ direction) | |
| “Up” Button (Increase parameter value/moving on the menu in the ‘UP’ direction) | |
![]()
|
|
![]()
| In the MAIN SCREEN – press and hold these buttons together for 3 seconds to LOCK / UNLOCK the Thermostat keys). |
COMPATIBILITY WITH OTHER SALUS CONTROLS DEVICES
Quantum Thermostat can work in ONLINE or OFFLINE mode. At the first step you need to decide in which mode your thermostat will work.
ONLINE MODE

- Universal Gateway is CONNECTED TO THE INTERNET You can configure and use all your devices in the Smart Home App.

- Download the Smart Home App on your iOS or Android device for remote access to your SALUS equipment.
OFFLINE MODE

- Universal Gateway is NOT CONNECTED TO THE INTERNET You can use your devices locally without the SmartHome App. Gateway works in this mode as a standard ZigBee coordinator.

- CO10RF Coordinator: You can use the standard ZigBee network coordinator to install and use your devices.
Compatible devices

- SR600: Smart Relay
- SPE600: Smart Plug

- KL08RF: Wiring Centre for 8-zone underfloor heating (UFH).
- TRV: (Thermostatic Radiator Valve) with wireless communication.
- RX10RF: receiver
First power-up sequence
Please note: For easier installation, please make sure you have already added other devices to your ZigBee networks, such as Underfloor Heating Control Box (KL08RF) or Radiator heads (TRV’s) etc.

- Remove the protection foil
- To power on the Thermostat hold
button for 3 seconds… - …display will show all icons…

- then the thermostat will display the software version.
- Now, choose your language by the„
” or „
” buttons. Confirm your language by
button.
Installation in ONLINE mode
After Language selection follows the below steps to add your device to the Smart Home app and pair with other devices:



Installation in OFFLINE mode
Pairing with Wiring Centre / Control Box (Install the Wiring Centre / Control Box according to the instructions included with the product)


- Select system type: UNDERFLOOR, and press
the button to confirm. - Using
and
buttons select the Control Box number (press the PAIR button on the Control Box to see its address number). Press
the button to confirm. - Use or buttons to select the zone number and press button to confirm.

- Now you can pair your thermostat with additional zones. Select one more zone or finish the pairing process by
button. - Close the ZigBee network
Pairing with TRV radiator head (Install the TRV according to the instructions included with the product)


- Select system type: RADIATORS
- Now hold antenna button for 10 sec. on all TRV’s which you want to pair with your Termostat.
- You can pair up to 6 TRV’s with 1 Thermostat. All TRV’s have to within the same room with Thermostat.

- On the LCD you will see the number of paired TRV’s. Once all TRV’s are paired – press
button to finish the pairing process. - Close the ZigBee network.
Main menu

Short description of some selected functions
(all functions are described in the full version of the SQ610RF manual)
- DISPLAY TEMP RESOLUTION: This function determines the resolution of the displayed temperature – User can temperature set by steps (every 0,5°C or 0,1°C).
- CONTROL ALGORITHM: This function defines how to control the room temperature. Available options are: ITLC for Underfloor Heating / Radiators / Electrical Heating (that’s advanced algorithm for precise maintenance of room temperature), hysteresis +/-0.5°C or +/-0.25°C, THB Actuator (option recommended for systems with THB auto balancing actuators).
- S1/S2 INPUT: A floor sensor, an external temperature sensor or an occupancy sensor can be connected to the S1/S2 input of SQ610RF. Additionally, by connecting a NO type of ON/OFF voltage-free contact, you can use this input as a OneTouch rules trigger (programmed in the Salus Smart Home app) or as a Heat/Cool changeover.
- VALVE PROTECTION: This function activates all actuators once a week for 5 minutes (in summer, this function helps to prevent the actuators stuck).
- MIN TURN OFF TIME: Minimum switch-off time (thermostat will not send the signal for heating/cooling more often than specified in this parameter).
- OPTIMISATION FEATURE: Optimum Start and Optimum Stop functions are energy saving feature that makes thermostat most cost effective (in combination with ITLC control algorithm).
- COMFORT WARM FLOOR: This function helps to keep the floor warm, even if the room is warm enough and there is no need to turn on the heating. User can select 3 levels of warm floor feature. Please note it is not an economy feature, as your heating system may be ON even if there is no heating demand from the room thermostat. It is COMFORT feature which keeps your floor warm all the time.
- DEVICE INFORMATION: In this menu user can check: Software Version, Battery Level, RF range value, Paired devices or also user can activate Identification mode.
- FACTORY RESET: Here you can RESET your device to factory settings. After successfull reset device will be removed from ZigBee network and you will need to add / pair your device again.
QUANTUM SQ610RF
| Power Supply | Built-in Li-Ion 3,7V Battery |
| Charging voltage (no charger included) | Micro-USB 5V DC, min 0,5 A |
| Temperature range | 5-40°C |
| Display temperature accuracy | 0.5°C or 0.1°C |
| Control algorithm | ITLC SPAN (±0.25°C / ±0.5°C) THB |
| S1-S2 Input (multifunctional input) | Floor temperature Air temperature Occupancy sensor One Touch Changeover (heating/cooling) |
| Communication protocol | ZigBee 2,4GHz |
| Mounting | Surface mounting |
| Working temperature | 0-45°C |
| IP protection class | IP30 |
| Dimensions (Width x Height x Deep) | 86 x 86 x 11 mm |

- Ultra slim
- Precise temperature control (underfloor heating, radiator heating, electrical heating)
- Works with: Amazon Alexa and Google Home
- Rechargeable through micro USB

- Universal Gateway: Connect it with Universal Gateway and setup yourown SALUS Smart Home system
- Smart Radiator Control: Pair it with Quantum to achieve the perfect temperature everywhere, not only beside the radiator
- Smart Relay: Connect it with Universal Gateway and control wirelessly pumps, valves, boilers, lighting, etc.





























