BECHARA MADRI White Off Cabinets

PARTS IDENTIFICATION


Read carefully and consider all instructions before and during the assembly and keep this product guide for future reference. To move the furniture, remove the objects and others materials put on the base, the top panel and on the shelves, reducing the weight and avoiding falls and damages to the furniture and objects. Irregular and unleveled floor can leave the product to instability, which can damage the feet, misalign the glass doors and cause warping, distortion and others problems in the product parts. Make sure the leveling and regularity of the surface on which the product will be installed, ensuring adequate functionality and use and maintaining warranty conditions. Don’t expose the product to direct sunlight and humidity.
For cleaning, use dry or slightly humid cloth. Don’t use chemicals and abrasive products. Never use any part of the furniture as a support or a step to climb the furniture itself or the wall. Recommended maximum weights: 10 kg on the base; 10 kg on the lower shelf; and 8 kg on the in each of the upper shelves (the indicated values consider static weights, evenly distributed over the parts).
RECOMMENDED TOOLS
- Simple and phillips screwdriver.

- Hammer.

- Measuring tape.

- Electric screwdriver with phillips tips.

ASSEMBLY VIDEO

ACCESSORY AND BOLTS
- 28 un.
Dowel Ø6 x 30mm.
- 8 un.
Bolt 5.5 x 55mm head 13mm phs.
- 4 un.
Plastic Cover 13mm.
- 4 un.
Protective Adhesive Felt.
- 4 un.
Adhesive Cover (feet color).
- 2 un.
Metal angle bracket.
- 6 un.
Bolt 3.5 x 12mm phs.
- 14 un.
Bolt 5.0 x 50mm flat head phs.
- 6 un.
Adhesive Cover (main color).
- 20 un.
Metal plate for back panels.
- 70 un.
Nail 8 x 8.
- 4 un.
High Hinge 26mm with Shim 12mm.
- 16 un.
Bolt 4.0 x 14mm phs.
- 2 un.
Magnetic Pulsator Kit.
- 2 pairs
Kit Hinges for glass F941052.
- 1 un.
Plastic stop.
- 2 un
Handle chrome..
- 2 un.
Plastic Ring.
- 2 un.
Bolt 3.5 x 16mm flange head phs.
STEP 1
Fix the Upper Shelves (03) and the Lower Shelf (04) in the Left Side Panel (01) and in the Right Side Panel (02) with dowels Ø6 x 30mm (A) and bolts 5.0 x 50mm (B).
Fix the magnetic pulsators (N) in the lower face of the Shelf (04), as shown in the DETAIL 1.

STEP 2
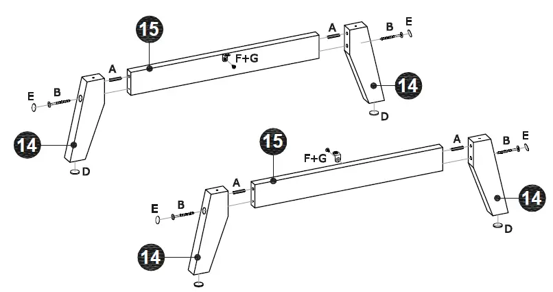
PREPARING THE FEET WITH THE STRUCTURAL BARS:
- Fix the Feet (14) at the Structural Bars (15) with dowels (A) and bolts (B).
- Fix the metal brackets (F) with bolts (G) in the Bars (15).
- Apply the adhesive covers (E) and the protective felts (D) in the Feet (14).

STEP 3
- Fix the Base (06) on the Feet (14) with bolts 5.5 x 55mm (B).
- Apply the plastic cover (C) on the head of the bolts (B).
- Fix the Bars (15) in the Base (06) applying bolt (G) in 14 the metal brackets (F).

STEP 4
- Fix the Top Panel (07) on the Side Panels (01) and (02) with dowels Ø6 x 30mm (A) and bolts 5.0 x 50mm (H).
- Fix the metallic shims for hinges (L) with the bolts 4.0 x 14mm (M) in the Side Panels (01) and (02), as shown in the DETAIL 2.
- Fit the Front Column (05) under the Lower Shelf (04) and on the Base (06) with dowels Ø6 x 30mm (A).
- Fix the Base (06) under the Side Panels (01) and (02) with dowels (A) and bolts 5.0 x 50mm (H).

STEP 5
- Fit the plastic profile (12) in the seam between the Back Panels (08), position the Back Panels (08) and (09) and fix them behind the cabinet with nails (K), as indicated in the drawing. In the seams behind the shelves, use metal plates (J) and nails (K).

STEP 6
PREPARING THE DOORS (10) and (11):
- Fix the hinges (L) with bolts 4.0 x 14mm (M) in the Doors (10) and (11), as shown in the DETAIL 3.

STEP 7
ATTENTION! To fix the handle (Q) and the hinges (O) on glass doors, using only hand tools. Do not use electric screwdriver.
- Fix the handle (Q) in Glass doors (13) with bolt 3.5 x 16mm (S) and plastic ring (R), as shown in the DETAIL 5 .
- Apply the bushing for the upper hinge into the holes under the Top Panel (07), as DETAIL 4.
- Apply the plastic base for the lower hinge into the holes in Shelf (04), as shown in the DETAIL 6. Insert and fix the upper hinges on the
Glass doors (13), applying the plastic bolts of the hinges kit, as shown in the DETAIL 4. - Insert the lower hinge pin on the plastic base, as shown in DETAIL 6.
- Insert the upper hinge pin into the bushing under the Top Panel (DETAIL 4), and then fit and fix the glass on the lower hinge, applying the plastic bolts (DETAIL 6).
- Fix the plastic stopper (P) under the Top Panel (07) with bolts (G), so that both glass doors are aligned.

STEP 8
INSTALLING THE DOORS (10) AND (11):
- Insert and fix the hinges (L) of the Doors (10) and (11) on the metal shims [already fixed on the Side Panels (01) and (02)] through the fixer and adjustment bolts.
If necessary, adjust the alignment of the doors through the adjustment bolt on each hinge (see DETAIL 7). - Fix the metal plate for the magnetic pulsator on the Doors.

Tanabi, São Paulo – Brasil
CEP 15170-000
Telefones: (17) 3272 9900
(17) 3272 9919
www.moveisbechara.com.br









































