
User Manual
Power Supplies
User Manual
Updates and language-specific user manuals are available on
www.mascot.no/downloads/usermanuals

http://www.mascot.no/downloads/usermanuals
Bruksanvisning
IMPORTANT SAFETY INSTRUCTIONS! 
TO REDUCE THE RISK OF FIRE AND ELECTRIC SHOCK: READ THROUGH THESE INSTRUCTIONS PRIOR TO USING THE PRODUCT.
CAREFULLY FOLLOW THESE INSTRUCTIONS WHEN USING THE PRODUCT.
RETAIN THESE INSTRUCTIONS FOR FUTURE REFERENCE.
![]()
CAUTION! DOUBLE POLE / NEUTRAL FUSING!![]()
This product is designed for indoor use. (Not applicable to products marked ”IP67”)
A version of this product marked ”IP41” may be available. This version is protected against the ingress of solid objects larger than 1.0 mm and the effects of vertically falling drops of water according to standard EN/IEC60529.
A version of this product marked ”IP4X” or ”IP40” may be available. This version is protected against the ingress of solid objects larger than 1.0 mm.
A version of this product marked ”IP44” may be available. This version is protected against the ingress of solid objects larger than 1.0 mm and the effects of water splashed against the enclosure from any direction according to standard 60529.
A version of this product, marked with a symbol with two drops of water and/or ”IP67”, may be available. This version is filled with a potting
compound and is dust-tight and protected against the effects of temporary immersion in water according to standard EN/IEC 60529, but must not be immersed in water for longer periods of time.
Products marked with the “double square symbol” are double insulated (Insulation Class II). Products without this mark are Class I (relies on safety earth for protection).
WARNING: To avoid the risk of electric shock, Class I products must only be connected to a supply main with protective earth.
![]()
At the end of their service life, electric and electronic equipment and their accessories shall not be discarded with the municipal waste but be disposed of using separate collection, treatment, recovery/recycling, and environmentally sound disposal. This also applies to any potential bio-hazardous parts and accessories. If in doubt, contact your local authorities to determine the proper method.
Technical specifications for your product: see tables, the marking on the product or
www.mascot.no
Cautions to observe prior to use
- The intended use for this product is to charge a battery or a battery-powered electrical accessory (NiCd/NiMH, Lead-Acid, LithiumIon or LiFePO4 batteries) or to be used as a Power Supply to power an electrical accessory. Please see the marking on the product you have to verify the type of product you have and read the application instructions and technical specifications included with this manual.
- This product may be used by unskilled operators, under the condition that these instructions are followed.
- Unskilled operators may contact the supplier or manufacturer for assistance, if needed, in setting up, using, or maintaining this product and to report unexpected operations or events.
- This appliance can be used by children aged 8 years and above and persons with reduced physical, sensory or mental capabilities or lack of experience and knowledge if they have been given supervision or instruction concerning the use of the appliance in a safe way and understand the hazards involved. Do not allow small children to handle this product while unattended as cables may represent a risk for strangulation and small parts may represent a risk for inhalation or swallowing.
- Do not allow animals to come into contact with this product. Some animals are known to cause damage to cables etc which may be a potential for risk of electric shock and excessive temperatures. Also, cables and small parts may represent a strangulation risk for the animal.
- If the product is equipped with the main cord, please check that the cord is not damaged. If the cord is damaged, the product must not be used until the cord is replaced. Replacement should be carried out by qualified personnel.
- The main socket outlet used should always be easily accessible to facilitate immediate removal of the product’s mains supply should an operational error occurs during use. If the product has a detachable mains cord the appliance coupler may be used as a disconnect device.
- The product is “switched on” by inserting the mains plug into the mains socket and “switched off” by disconnecting the mains plug from the mains socket.
- The product may be connected to an IT-type mains supply.
- For use in the U.S.A.: – Be sure to use 125V 15A receptacle configuration before plugging in.
– Use a UL817-standard-compliant mains cord (plug type NEMA 1-15, cord type SJT or SVT). - For use outside the U.S.A:
Use a mains cord compliant with the country-specific requirements. - The time from powering this product until its full function starts may exceed 15 seconds.
- Should an operational error or unexpected change in the performance occur during use, disconnect the product from the mains immediately by disconnecting the mains plug from the mains socket and contacting the supplier or manufacturer (see contact details on the front of this document).
- When not in use please think about disconnecting the product from the mains. This will reduce the risk of hazards, reduce the products environmental impact and save
electricity costs. - To avoid overheating make sure there is sufficient room for the circulation of air around the product when in use. Do not cover it up.
- Even though this product complies with relevant safety standards it should not be in contact with human skin for long periods as some people may get allergies or injuries from long-term contact with moderate temperatures and/or plastic materials.
- Prior to using this product with accessories and/ or interconnected equipment please carefully read its respective User Manuals.
- If the product is supplied with exchangeable output plugs, please see a separate page for assembly.
- Output cables having a modular plug ( similar to a telephone connector) must never be connected to a telephone outlet.
- Products with a welded plastic housing or rated IP 67 are not repairable. For such products, the supply cord cannot be replaced. If the cord is damaged the appliance should be scrapped. Please contact your supplier for a replacement part.
- This product contains hazardous voltages and there are no user-replaceable parts inside the product. Never attempt to remove the cover.
- WARNING: No modification of this equipment is allowed. Any repair/service should be carried out by qualified personnel who may get assistance by contacting the manufacturer or the manufacturer’s agent.
- Products specified to have automatic polarity protection must be switched off if a battery is connected with reverse polarity. The protection will be automatically reset when the polarity has been corrected.
- In chargers specified to have a replaceable fuse as polarity protection, the fuse must be replaced if the battery has been connected with reverse polarity. When replacing the fuse, a fuse of the same type and rating must be used.
- If the product is specified to comply with the standard for Medical Electrical Equipment (standards based on IEC60601-1) it complies with some of the requirements for medical electrical equipment and may be used in medical applications and hospital environments.
- The product must be kept away from sources of heat and may not be used in the vicinity of flammable anesthetic gases or in other environments with a flammable or explosive atmosphere.
- If the product is specified to comply with the standard for Medical Electrical Equipment for Home Healthcare Environment (standard IEC60601-1-11) it may be used in medical applications used in a home healthcare environment.
NOTE! Products relying on safety earth for protection (Class I) may not be used in a home healthcare environment unless they are permanently wired to the building installation: Installation must only be carried out by qualified service personnel, following the below instructions: – The protective earth conductor must be min.
0.75 mm 2 .
– Connect the protective earth conductor to the external protective earthing system.
– Verify that the protective earth terminal used is connected to the external protective earthing system.
– Verify the integrity of the external protective earthing system. - This product converts the mains voltage to a safe extra-low voltage.
The output from products applying with 2MOPP insulation ( model names followed by ”P”) may be treated as Applied Part Type B or Type BF according to standard EN/IEC 60601-1 and may come in physical contact with a patient. This do not apply to models for building-in (type number followed by ”B” or ”BP”) wich may only
be treated as Applied Part type B. - This product must be operated in an environment within a temperature range of +5 to +40°C, with humidity 15 – 93 % RH and atmospheric pressure 70 – 106 kPa (700 – 1060 hPa). If the product has recently been stored or transported at conditions outside this range, please wait for 30 minutes before operating the product.
- The expected service life of this product and accessories delivered with this product is three (3) years if operated as indicated above. However, the guarantee times indicated in the document ”TERMS OF SALES AND DELIVERY FOR MASCOT AS” apply (available at www.mascot.com).
- Environmental parameters during transport and storage between uses: temperature range -25 to +85 °C, humidity 15 – 93% RH NC and atmospheric pressure 70 – 106 kPa (700 – 1060 hPa).
- If stored for longer periods of time the environmental parameters should be within the temperature range +5 to +35°C, humidity range 10 – 75% RH NC and atmospheric pressure 70 – 106 kPa (700 – 1060 hPa) to maintain the products expected service life.
- The expected shelf life of this product is one (1) year if stored as indicated above.
- This product complies with the requirements to electromagnetic compatibility for medical electrical equipment and for use in the residential, office or light industrial environments but all-electric products imply a potential for electromagnetic or other interference between the product and other devices. If such interference is suspected please disconnect the product from the mains and consult a qualified technician, your supplier or the manufacturer.
- No special maintenance procedure is required but if the product gets dusty or dirty it should be wiped clean using a dry cloth while the product is disconnected from the mains. No other maintenance should be necessary.
- For products having a plastic casing, please avoid any contact with lotions, oils, grease and solvents as most types of plastic may be degraded by such chemicals. Also make sure to position, operate and store such products away from UV light and direct sunlight.
- Position, operate and store this product only under reasonable foreseeable environmental conditions with respect to magnetic fields, EM-fields, electrostatic discharges, pressure or variations in pressure, acceleration etc.
- If this product is used with or mounted in a vehicle it may only be used when the vehicle is not in use.
- When in use, position this product so that the label can be read – within 40 cm of the operator.
- Turn the product off and allow it’s housing to cool down prior to moving it to another location.
Instructions for using Power Supplies
Please follow the cautions indicated above.
When the Power Supply is connected to the mains LED might light. The Power Supply is then ready to use.
A LED, color other than red or yellow, may light to show that the product is connected to the mains supply.
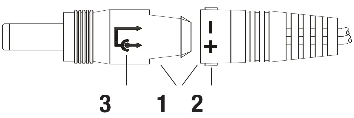
How to connect exchangeable DC-output plugs

- To connect for the desired polarity, both plug ends are clearly marked.
- When connected, the female plug is also marked on each side to identify plug polarity.
- Shows the center polarity of the plug.
How to connect exchangeable AC-plugs

The following exchangeable AC plugs are available:
”EURO” 250V 2.5A (EN50075/IEC83 C5 II)
”US” 125V 2.5A (NEMA 1-15 / CSA-C22.2 No.42)
”UK” 250V 13A (BS 1363)
”AUS” 250V 10A (AS/NZS 3112)
Mains Cord Set is available on request if you wish your product to be ”DeskTop”
Mounting and use for bracket Mascot, part no. 205800
Wall mount: Fix the bracket to the wall using screws suitable for the wall material and:
head diameter: 8 – 9.5 mm, head height: max. 3 mm,
thread diameter: 4 – 5.5 mm, thread length: min. 16 mm.
Use one screw for each of the oval openings in the bracket, total of four screws.
Place the Power Supply / Charger centered on the bracket so that the slot in the bottom housing is in line with the tabs on the bracket.
Push down on the handle marked ”Push” while pushing the product against the wall. Release and the product locks to the wall mount.
Release the product from the wall mount by pushing down on the handle marked ”Push” while pulling the product from the wall.
If not fixed to a wall the bracket may be used as a handle, following the same procedure.
Electromagnetic Compatibility
In order to regulate the requirements for EMC (electromagnetic compatibility) with the aim of preventing unsafe product situations, the EMC EN60601-1-2 standard has been implemented. This standard defines the levels of immunity to electromagnetic interference as well as maximum levels of electromagnetic emissions for medical devices. Medical devices manufactured by Mascot have been tested and conform with the requirements of IEC/EN 60601-1-2, 3rd & 4th edition, nevertheless, special precautions may need to be observed:
The Mascot products are suitable for use in Domestic, Residential, Office, and Hospital environments, except in special locations where EM Disturbances are known to be high, such as near High-Frequency Surgical Equipment or Magnetic Resonance Imaging systems.
When used according to its specification the User can expect the product to fulfill its essential performance, being powering Medical Electrical Devices or charging batteries for Medical Electrical Devices.
WARNING: Use of this equipment adjacent to or stacked with other equipment should be avoided because it may result in improper operation. If such use is
necessary, this equipment and the other equipment should be observed to verify that they are operating normally.
WARNING: Use of accessories, transducers, and cables other than provided by the manufacturer could result in increased electromagnetic emissions or decreased electromagnetic immunity of this equipment and result in improper operation.
WARNING: Portable RF communications equipment should be used no closer than 30 cm (12 inches) to any part of the power supply or battery charger, including cables. Otherwise, degradation of the performance of this equipment could result.
GUIDANCE AND MANUFACTURER’S DECLARATION
The Masot products are intended for use in the electromagnetic environment specified below. The customer or user should ensure that it is used in such an environment.
| Test / Standard | Compliance level | Guidance |
| Emission: | ||
| RF emissions, CISPR 11 | Group 1, Class B | Suitable for use in all establishments, inclu- ding domestic establishments and those directly connected to the public low-voltage power supply network that supplies buildings used for domestic purposes. RF emissions are not likely to cause any interference in nearby electronic equipment. However, a separation distance of 30 cm shall be maintained. |
| Harmonic emissions, IEC 61000-3-2 | – | |
| Voltage fluctuations / flicker emissions, IEC 61000-3-3 | – | |
| Test / Standard | Compliance level | Guidance |
| Immunity: | ||
| Electrostatic discharge (ESD), IEC 61000-4-2 | ± 8 kV contact ± 15 kV air | Temporary loss of function may be expe- rienced while the product is subject to the phenomena. The product is expected to recover to its normal operation. |
| Electrostatic fast transient / burst, IEC 61000-4-4 | ± 2 kV for AC-power lines ± 1 kV for output lines | |
| Surge, IEC 61000-4-5 | ± 1 kV line to line ± 2 kV line to earth (if applicable). | |
| Voltage dips, short interruptions and voltage variations on power supply lines, IEC 61000-4-11 | <5% UT (0.5 cycle) 40% UT (5 cycles) 70% UT (25 cycles) <5% UT for 5 s UT = AC Input Voltage prior to test. | |
| Power frequency magnetic field IEC 61000-4-8 | 3 A/m (50/60 Hz) | Not applicable for non-magnetic field sensitive devices. |
| Conducted RF, IEC 61000-4-6 | 3 Vrms 150 kHz to 80 MHz | Temporary loss of function may be experienced while the product is subject to the phenomena. The product is expected to recover to its normal operation. |
| Radiated RF, IEC 61000-4-3 | 3V/m for Professional healthcare environment. 10 V/m for Home Health- care environment.80 MHz to 2.7 GHz | |
| These guidelines may not apply in all situations. Electromagnetic propagation is affected by absorption and reflection from structures, objects and people and field strengths from fixed transmitters, such as base stations for radio (cellular/ cordless) telephones and land mobile radios, amateur radio, AM and FM radio broadcasts and TV broadcasts cannot be predicted theoretically with accuracy. To assess the electromagnetic environment due to fixed RF transmitters an EM site survey may be considered. If the measured field strength in the location exceeds the applicable RF compliance level above, the Mascot product should be observed to verify normal operation. If abnormal per- performance is observed, additional measures may be necessary, such as re-orienting or relocating the product. | ||
Technical data
(If not appearing in table see marking on the product)
| Input voltage | Technical parameters | 5V | 6V | 7.5V | 9V | 12V | 15V | |
|
3020 3021 |
100-240Vac 50-60Hz | Output Voltage Output current Output Power Average active efficiency Efficiency at low load (10%) No-load power consumption |
N.A | 8A | 7A | 6A | 5A | N.A |
|
3320 | 100-240Vac 50-60Hz MAX. 1.5A | Output Voltage Output current Output Power Average active efficiency Efficiency at low load (10%) No-load power consumption | 5V 8A 40W >87% >79% <0.075W | 5.1-6V 6.66A 40W >88% >79% <0.075W | 6.1-7.9V 7.0A 53W >89% >79% <0.15W | 8-11.9V 6.0A 54W >89% >79% <0.15W | 12-14.9V 5.0A 60W >89% >79% <0.15W | 15-16.9V 4.0A 60W >89% >79% <0.15W |
| 3321 | 100-240Vac 50-60Hz | Output Voltage Output current Output Power Average active efficiency Efficiency at low load (10%) No-load power consumption | 4-5V 5A 25W >84% >78% <0.3W | 5.1-6V 4.16A 25W >84% >78% <0.3W | 6.1-7.5V 3.33A 25W >84% >78% <0.3W | 8.5-9V 4A 36W >86% >78% <0.3W | 9.1-12V 3.5A 42W >87% >78% <0.3W | 14-15V 2.8A 42W >87% >78% <0.3W |
| 3326 | 100-240Vac 50-60Hz | Output Voltage Output current Output Power Average active efficiency Efficiency at low load (10%) No-load power consumption | 5-5.9V 3A 15W >82% >74% <0.3W | 6-7.4V 2.5A 15W >82% >74% <0.3W | 7.5-7.9V 2A 15W >82% >74% <0.3W | 8.5-11.9V 2.5A 22.5W >83% >74% <0.3W | 12-14.9V 2.33A 28W >84% >74% <0.3W | 15-17.9V 1.86A 28W >84% >74% <0.3W |
| Input voltage | Technical parameters | 5V | 6V | 7.5V | 9V | 12V | 15V | |
|
3520(P) 3520B(P) | 220-240Vac 50Hz max.2.3A | Output Voltage Output current Output Power Average active efficiency Efficiency at low load (10%) No-load power consumption | 5V+2-0 17A cont. 140W >88% >79% <0.5W | 6V+/-2 17A cont. 160W >88% >79% <0.5W | 7.5V+/-2 17A cont. 190W >89% >80% <0.5W | 9V+/-2 17A cont. 220W >90% >81% <0.5W | 12.5V+/-2V 17A cont. 265W >90% >81% <0.5W | 15V+/-2V 17A cont. 265W >91% >80% <0.5W |
| 115Vac 50-60Hz max.4.8A | Output Voltage Output current Output Power Average active efficiency Efficiency at low load (10%) No-load power consumption | 5V+2-0 17A cont. 140W >87% >79% <0.5W | 6V+/-2 17A cont. 160W >87% >79% <0.5W | 7.5V+/-2 17A cont. 190W >88% >80% <0.5W | 9V+/-2 17A cont. 220W >89% >81% <0.5W | 12.5V+/-2V 17A cont. 265W >89% >81% <0.5W | 15V+/-2V 17A cont. 265W >90% >79% <0.5W | |
|
3523 |
100-240Vac 50-60Hz | Output Voltage Output current Output Power Average active efficiency Efficiency at low load (10%) No-load power consumption | 4-5V 2.4A 12W >75% >74% <0.3W | 5.1-6V 2A 12W >78% >74% <0.3W | 6.1-7.5V 1.6A 12W >78% >74% <0.3W | 8.5-9V 1.33A 12W >80% >74% <0.3W | 9.1-12V 1.33A 16W >82% >74% <0.3W | 14-15V 1.06A 16W >83% >74% <0.3W |
|
3626 |
100-240Vac 50-60Hz | Output Voltage Output current Output Power Average active efficiency Efficiency at low load (10%) No-load power consumption | 5-5.9V 4-3.38A 20W >85% >77% <0.075W | 6-7.4V 3.33-2.7A 20W >86% >77% <0.075W | 7.5-7.9V 3.73-3.54A 28W >87% >77% <0.075W | 8.5-11.9V 3.11-2.35A 28W >88% >77% <0.075W | 12-14.9V 2.33-1.87A 28W >89% >77% <0.075W | 15-17.9V 1.86-1.56A 28W >89% >77% <0.075W |
| Input voltage | Technical parameters | 5V | 6V | 7.5V | 9V | 12V | 15V | |
|
3721 |
100-240Vac 50-60Hz | Output Voltage Output current Output Power Average active efficiency Efficiency at low load (10%) No-load power consumption | 5V 5A 25W >86% >78% <0.075W | 5.1-6V 4.17A 25W >87% >78% <0.075W | 6.1-7.9V 3.33A 25W >87% >78% <0.075W | 8-11.9V 4.6A 42W >89% >78% <0.075W | 12-14.9V 3.5A 42W >87% >78% <0.075W | 15-16.9V 2.8A 42W >87% >78% <0.075W |
|
3823 |
100-240Vac 50-60Hz | Output Voltage Output current Output Power Average active efficiency Efficiency at low load (10%) No-load power consumption | 5-5.9V 2.4-2.0A 12W >80% >74% <0.075W | 6-7.0V 2.0-1.71A 12W >83% >74% <0.075W | 7.1-9.0V 1.71-1.33A 12W >83% >74% <0.075W | 9.1-10.0V 1.33-1.2A 12W >83% >74% <0.075W | 10.1-14.9V 1.6-1.06A 16W >84% >74% <0.075W | 15-16.9V 1.06-0.94A 16W >84% >74% <0.075W |
|
3824 |
100-240Vac 50-60Hz | Output Voltage Output current Output Power Average active efficiency Efficiency at low load (10%) No-load power consumption | 5V 1.5A 7.5W >78% >66% <0.075W |
N.A |
N.A |
N.A | 12V 0.625A 7.5W >78% >66% <0.075W |
N.A |
| Input voltage | Technical parameters | 16V | 18V | 24V | 30V | 36V | |
|
3020 3021 |
100-240Vac 50-60Hz | Output Voltage Output current Output Power Average active efficiency Efficiency at low load (10%) No-load power consumption | 16.0V 3.75A 60W >87% – <0.5W |
N.A | 24.0V 2.5A 60W >89% – <0.5W |
N.A. |
N.A |
|
3321 | 100-240Vac 50-60Hz max. 1.5A | Output Voltage Output current Output Power Average active efficiency Efficiency at low load (10%) No-load power consumption |
N.A | 17-19.9V 3.33A 60W >89% >79% <0.15W | 20-29.9V 2.5A 60W >89% >79% <0.15W |
N.A | 30-45V 1.66A 60W >89% >79% <0.15W |
|
3326 |
100-240Vac 50-60Hz | Output Voltage Output current Output Power Average active efficiency Efficiency at low load (10%) No-load power consumption |
N.A | 15.1-18V 2.33A 42W >88% >78% <0.3W | 19-24V 1.75A 42W >88% >78% <0.3W |
N.A |
N.A |
|
3523 |
100-240Vac 50-60Hz | Output Voltage Output current Output Power Average active efficiency Efficiency at low load (10%) No-load power consumption |
N.A | 18-19.9V 1.55A 28W >84% >74% <0.3W | 20-26V 1.16A 28W >84% >74% <0.3W |
N.A |
N.A |
| Input voltage | Technical parameters | 16V | 18V | 24V | 30V | 36V | |
|
3520(P) 3520B(P) | 220-240Vac 50Hz max. 2.3A | Output Voltage Output current Output Power Average active efficiency Efficiency at low load (10%) No-load power consumption | 16V+/-2V 16A cont. 265W >91% >80% <0.5W | 18V+/-2V 14A cont. 265W >91% >80% <0.5W | 24V+/-2V 10A cont. 265W >91.5% >81% <0.75W | 30V+/-2V 8.8A cont. 265W >91.5% >81% <0.8W | 36V+/-2V 7.3A cont. 265W >91.5% >81% <0.9W |
| 115Vac 50-60Hz max.4.8A | Output Voltage Output current Output Power Average active efficiency Efficiency at low load (10%) No-load power consumption | 16V+/-2V 16A cont. 265W >90% >79% <0.5W | 18V+/-2V 14A cont. 265W >90% >79% <0.5W | 24V+/-2V 10A cont. 265W >90.5% >80% <0.75W | 30V+/-2V 8.8A cont. 265W >90.5% >80% <0.8W | 36V+/-2V 7.3A cont. 265W >90.5% >80% <0.9W | |
|
3523 |
100-240Vac 50-60Hz | Output Voltage Output current Output Power Average active efficiency Efficiency at low load (10%) No-load power consumption |
N.A | 15.1-18V 0.88A 16W >83% >74% <0.3W | 19-24V 0.66A 16W >82% >74% <0.3W |
N.A |
N.A |
|
3626 |
100-240Vac 50-60Hz | Output Voltage Output current Output Power Average active efficiency Efficiency at low load (10%) No-load power consumption |
N.A | 18-19.9V 1.55-1.4A 28W >89% >77% <0.075W | 20-26V 1.16-1.07A 28W >89% >77% <0.075W |
N.A |
N.A. |
| Input voltage | Technical parameters | 16V | 18V | 24V | 30V | 36V | |
|
3721 | 100-240Vac 50-60Hz Max.1A | Output Voltage Output current Output Power Average active efficiency Efficiency at low load (10%) No-load power consumption |
N.A | 17-19.9V 2.33A 42W >87% >78% <0.075W | 20-29.9V 1.75A 42W >87% >78% <0.075W |
N.A |
N.A |
|
3823 |
100-240Vac 50-60Hz | Output Voltage Output current Output Power Average active efficiency Efficiency at low load (10%) No-load power consumption |
N.A | 17-19.9V 0.94-0.8A 16W >84% >74% <0.075W | 20-29.9V 0.8-0.53A 16W >84% >74% <0.075W | ||
|
3824 |
10-240Vac 50-60Hz | Output Voltage Output current Output Power Average active efficiency Efficiency at low load (10%) No-load power consumption |
N.A |
N.A |
N.A |
N.A |
N.A |
| Input voltage | Technical parameters | 5V | 6V | 7.5V | 9V | 12V | |
| Output Voltage | 4.5V-5.5V | 5.51V-6.5V | 6.51V-8.0V | 8.01V-10.0V | 10.01V-12.5V | ||
| 3825(P) 3825B(P) | 100-240Vac 50-60Hz Max. 0.25A | Output current Output Power Average active efficiency Efficiency at low load (10%) | max 1.0A max 5.5W >80.5% >64.6% | max.1.0A max 6.5W >79% >70.2% | 1.0A-0.9A max 7.2W >80.2% >70.2% | 0.9A-0.72A max 7.2W >80.5% >70.2% | 0.72A-0.57A max 7.2W >80.5% >70.2% |
| No-load power consumption | <0.075W | <0.075W | <0.075W | <0.075W | <0.075W |
| Input voltage | Technical parameters | 48V | 60V | |
| Output Voltage | 48V+/-2V | 60V+/-2V | ||
| 220-240Vac 50-60Hz max. 3A | Output current Output Power Average active efficiency Efficiency at low load (10%) | 5.2A cont. 250W >90% >80% | 4.1A cont. 250W >90% >80% | |
| 3520 (P) | No-load power consumption | <1.2W | <1.5W | |
| 3520B(P) | Output Voltage | 48V+/-2V | 60V+/-2V | |
| 115Vac 50-60Hz max. 8A | Output current Output Power Average active efficiency Efficiency at low load (10%) | 5.2 A cont. 250W >89% >79% | 4.1 A cont. 250W >90% >80% | |
| No-load power consumption | <1.2W | <1.5W |
| Input voltage | Technical parameters | 5V | 6V | 9V | 12V | 13.2V | 16V | |
|
2220(P) 2221(P) | 100-240Vac 50-60Hz max. 0.35A | Output Voltage Output current Output Power Average active efficiency Efficiency at low load (10%) No-load power consumption |
N.A |
N.A |
N.A | 8V-15V 1.3A-1.05A 15.8W >73% – <1W |
N.A |
N.A |
|
2720 2721 |
100-240Vac 50-60Hz | Output Voltage Output current Output Power Average active efficiency Efficiency at low load (10%) No-load power consumption | 5.0V 3.5A 17.5W >75% -<0.75W | 6.0V 5A 30W >80% -<0.75W | 9.0V 3A 27W >83% -<0.75W |
N.A | 13.2V 3A 40W >85% -<0.75W | 16.0V 2.5A 40W >85% -<0.75W |
| Input voltage | Technical parameters | 5V | 6V | 9V | 12V | 13.2V | 16V | |
| Output Voltage | 6.0V | 9.0V | 13.2V | 16.0V | ||||
| 2924 2925 2926 | 100-240Vac 50-60Hz | Output current Output Power Average active efficiency Efficiency at low load (10%) | N.A | 1.5A 9W >70% – | 1.5A 13.5W >77% – | N.A | 1.2A 15W >82% – | 1A 16W >82% – |
| No-load power consumption | <0.3W | <0.3W | <0.3W | <0.3W |
| Input voltage | Technical parameters | 24V | 36V | 48V | 60V | |
|
2220(P) 2221(P) | 100-240Vac 50-60Hz max. 0.35A | Output Voltage Output current Output Power Average active efficiency Efficiency at low load (10%) No-load power consumption | 20V-28V 0.8A-0.58A 16.2W >77% – <1W |
N.A |
N.A |
N.A |
|
2720 2721 |
100-240Vac 50-60Hz | Output Voltage Output current Output Power Average active efficiency Efficiency at low load (10%) No-load power consumption | 24.0V 1.6A 40W >85% – <0.75W |
N.A | 48.0V 0.8A 40W >83% – <0.75W |
N.A |
| 2924 2925 2926 |
100-240Vac 50-60Hz | Output Voltage Output current Output Power Average active efficiency Efficiency at low load (10%) No-load power consumption | 24.0V 0.65A 16W >84% – <0.3W |
N.A | 48.0V 0.33A 16W >86% – <0.3W |
N.A |
| Input voltage | Technical parameters | 5V | 7V | 12V | 16V | 24V | 36V | 48V | |
| Output Voltage | 4-6V | 6-9V | 9-14.5V | 14.5-21.5V | 21-34V | 34-44V | 44-55V | ||
| 2521 2521B(P) 2522B(P) | 100-240Vac 50-60Hz max. 0.9A | Output current Output Power Average active efficiency Efficiency at low load (10%) | 2.7A 16.2W >65% – | 2.7A 24.3W >68% – | 2.6A 32.3W >70% – | 2.2A 35W >75% – | 1.6A 36W >80% – | 1A 36W >80% – | 0.8A 36W >80% – |
| No-load power consumption | <2W | <2W | <2W | <2W | <2W | <2W | <2W |
| Input voltage | Technical parameters | 12V | 18V | 24V | 30V | 36V | 42V | 48V | |
| Output Voltage | 12V-14.9V | 15V – 20.9V | 21V – 26.9V | 27V – 32.9V | 33V – 38.9V | 39V – 44.9V | 45V – 50V | ||
| Output current | 8.33A – 6.71A | 8A – 5.74A | 5.71A – 4.46A | 4.44A – 3.64A | 3.63A – 3.08A | 3.07A – 2.67A | 2.66A – 2.4A | ||
| 3820 | 100-240Vac 50-60Hz | Output Power Average active efficiency | 100W >89% | 120W >89% | 120W >89% | 120W >89% | 120W >89% | 120W >89% | 120W >89% |
| Efficiency at low load (10%) | >88% | >88% | >88% | >88% | >88% | >88% | >88% | ||
| No-load power consumption | <0.15W | <0.15W | <0.15W | <0.15W | <0.15W | <0.15W | <0.15W |
| Input voltage | Technical parameters | 5V | 7V | 9V | 12V | 16V | 24V | 28V | |
| Output Voltage | 4-6V | 6-9V | 9-14.5V | 14.5-21.5V | 21-34V | ||||
| 2420(P) 2420B(P) | 100-240Vac 50-60Hz max. 1.6A | Output current Output Power Average active efficiency Efficiency at low load (10%) | 4.5A 27W >69% – | 4.5A 41W >70% – | N.A | 4.5A 55W >81% – | 4.0A-3.3A 69W >83% – | 2.5A-2.05A 70W >85% – | N.A |
| No-load power consumption | <1W | <1W | <1W | <1W | <1W | ||||
| Output Voltage | 4-6V | 6-9V | 9-13.2V | 12-16.8V | 16.8-24V | 24-28V | |||
| 2820(P) 2820B(P) | 220-240Vac 50-60Hz max. 1.2A | Output current Output Power Average active efficiency Efficiency at low load (10%) | 8.5A 51W >84.2% – | N.A | 8.5A 77W >87% – | 8.5A-7.8A 103W >87% – | 8.5A-6.1A 102W >87% – | 7.5A-4.2A 101W >87% – | 4.4A-3.8A 106W >87% – |
| No-load power consumption | <0.3W | <0.5W | <0.5W | <0.5W | <0.5W | <0.5W | |||
|
3220(P) 3220B(P) | 110- 120Vac / 220-240Vac 50-60Hz max. 2.1A | Output Voltage Output current Output Power Average active efficiency Efficiency at low load (10%) No-load power consumption | 4-6V 8.5A 51W >84.2% – <2W |
N.A | 6-9V 8.5A 77W >87% – <2W | 9-13.2V 8.5A-7.8A 103W >87% – <2W | 12-16.8V 8.5A-6.1A 102W >87% – <2W | 16.8-24V 7.5A-4.2A 101W >87% – <2W | 24-28V 4.4A-3.8A 106W >87% – <2W |
(P)=2MOPP version. (B)=Special open frame PCB. (All standard versions are also available as open frame units).
| Input voltage | Technical parameters | 36V | 48V | 60V | 64V | |
| Output Voltage | 34-44V | 44-55V | 55-63V | 63-67V | ||
| 2420(P) 2420B(P) | 100-240Vac 50-60Hz max. 1.6A | Output current Output Power Average active efficiency Efficiency at low load (10%) | 2.05A-1.6A 70W >85% – | 1.6A-1.25A 72W >87% – | 1.25A-1.1A 69W >87% – | 1.1A-1A 67W >87% – |
| No-load power consumption | <1W | <1W | <1W | <1W | ||
| Output Voltage | 28-38V | 38-48V | 55-63V | 63-67V | ||
| 2820(P) 2820B(P) | 220-240Vac 50-60Hz max. 1.2A | Output current Output Power Average active efficiency Efficiency at low load (10%) | 3.6A-2.7A 103W >87% – | 2.7A-2.1A 103W >87% – | 1.8A-1.6A 101W >87% – | 1.6A-1.5A 100W >87% – |
| No-load power consumption | <0.5W | <0.5W | <0.5W | <0.5W | ||
| Output Voltage | 28-38V | 38-48V | 55-63V | 63-67V | ||
| 3220(P) 3220B(P) | 110-120Vac/ 220-240Vac 50-60Hz | Output current Output Power Average active efficiency | 3.6A-2.7A 103W >87% | 2.7A-2.1A 103W >87% | 1.8A-1.6A 101W >87% | 1.6A-1.5A 100W >87% |
| max. 2.1A | Efficiency at low load (10%) | – | – | – | – | |
| No-load power consumption | <2W | <2W | <2W | <2W |
(P)=2MOPP version. (B)=Special open frame PCB. (All standard versions are also available as open frame units).
MASCOT ELECTRONICS AS
P.O.Box 177, N-1601 Fredrikstad, NORWAY
Phone: +47 69 36 43 00 • Telefax: +47 69 36 43 01
E-mail: [email protected] • Web: www.mascot.no
Doc.no. 5280P – Part No. 205280 – 02.03.2021



















