HP FK182AA Cash Drawers
Product Features
HP Cash Drawers
- HP Heavy-Duty Cash Drawer

- HP Flip-Top Cash Drawer

- HP Standard Duty Printer-Driven and USB Cash Drawers

HP Cash Drawers are designed to work with point-of-sale system hardware and program applications. The cash drawers feature:
- Deep inner drawer compartment to hold coin rolls and packaged currency with divided areas for separating various bills and coin denominations.
- Adjustable media slot divider that separates, organizes, and stores different media types (Heavy Duty Cash Drawer only).
- Heavy-duty steel ball-bearing slides for ease of opening and closing as well as long life (Heavy Duty Cash Drawer only).
- Functional lock assembly for security.
NOTE: Before using the cash drawer, it is highly recommended that you create a unique and secure lock and key system in accordance with your company’s security policy. HP is not responsible for the security of the cash drawer.
- Inner drawer divider assembly kit.
- Two security keys are included with the cash drawer when shipped.
- The cash drawer is shipped in the locked open position (Heavy Duty Cash Drawer only).
- Removable inner drawer.
- HP POS printer/cash drawer interface cable provided.
- USB interface cable provided. (USB Cash Drawer only)
- For regulatory and safety notices, refer to the Product Notices included with your product.
Identifying Cash Drawer Components
- HP Heavy Duty Cash Drawer Components

- HP Flip-Top Cash Drawer Components

- HP Standard Duty Printer Driven and USB Cash Drawer Components

NOTE: The cash drawer’s till design will vary by country. (Heavy Duty, Standard Duty, and USB Cash Drawers only)
Cash Drawer Components
- Media divider that snaps in and out of place for several organizational options (adjustable on Heavy Duty Cash Drawer only).
- MultiPRO® interface that adapts to most POS platforms or USB interfaces (located underneath or on the rear of the cash drawer, depending on your model).
- Functional lock that offers several levels of security: locked closed, locked open, online or manual open depending on the model.
- Industrial ball bearing slides for durability and long life (Heavy Duty Cash Drawer only).
- The latch mechanism provides consistent
- Inner drawer for coin roll storage and configuration
- A narrow footprint that saves countertop
- Till for bills and (On the Heavy Duty and Standard Duty Cash Drawers only, the bill and coin configuration for tills vary by country).
Operating the Cash Drawer
Connecting and Locking the Cash Drawer
- Place the cash drawer on a flat surface near your POS work center.
- Connect the interface cable:
- a. Connect the POS printer interface cable to the MultiPRO® interface underneath or on the rear of the cash drawer, then connect the other end of the cable to the printer.
NOTE: The printer interface cable provided with the cash drawer is designed to work with HP POS printers. If you are connecting the cash drawer to a printer other than the HP POS printer, select the appropriate interface cable for your printer model.
WARNING! HP Cash Drawers only support 24 volts. Connecting an HP Cash Drawer to 12 volts may result in unpredictable performance, such as the cash drawer not opening or opening unexpectedly, in addition to possible damage to the cash drawer and printer. - b. For the USB cash drawer model, connect one end of the provided USB interface cable to the USB connector underneath the cash drawer and the other end of the cable to the host computer or to a powered USB hub connected to the host computer.
- a. Connect the POS printer interface cable to the MultiPRO® interface underneath or on the rear of the cash drawer, then connect the other end of the cable to the printer.
- Assemble and install the inner drawer divider kit using the installation steps provided in the kit.
- Use the security key supplied with the cash drawer to turn the lock to the online position. Refer to the following illustrations for other lock positions for your model.
- NOTE: Before using the cash drawer, it is recommended that you create a unique and secure lock and key system in accordance with your company’s security policy. HP is not responsible for the security of the cash drawer, damage to the cash drawer, or the replacement of lost keys.
Figure 2-1 Lock Options (Heavy Duty Cash Drawer)

Table 2-1 Lock Options (Heavy Duty Cash Drawer)
| Select | This Lock Option | To Do This |
| 1
2 | Locked Closed
Online | Prevents the cash drawer from being opened by an electrical signal from the printer. Use this security method when it is necessary to be away from the drawer for only a short period.
The operation of the cash drawer is driven electronically by the printer. |
| 3 | Manual Open | Allows manual access to the contents of the cash drawer. |
| 4 | Locked Open | Prevents the cash drawer from being latched closed. Use when the |
NOTE: Locked Open is the default lock position when the Heavy Duty Cash Drawer is shipped. Prevents the cash drawer from being latched closed. Use when the retail environment is closed and the contents of the cash drawer have been removed. The cash drawer is a less-attractive target when it is left open and empty or its contents are removed.
Figure 2-2 Lock Options (Flip-Top Cash Drawer)

Table 2-2 Lock Options (Flip-Top Cash Drawer)
Select This Lock Option To Do This
- Manual Open Allows manual access to the contents of the cash drawer.
- The online Operation of the cash drawer is driven electronically by the printer.
Figure 2-3 Lock Options (Standard Duty and USB Cash Drawers)

Table 2-3 Lock Options (Standard Duty and USB Cash Drawers)
Select This Lock Option To Do This
- Manual Open: Allows manual access to the contents of the cash drawer.
- Online: The operation of the cash drawer is driven electronically by the printer.
- Locked Open/Locked: Closed Prevents the cash drawer from being opened or closed by an electrical signal from the printer or USB source (depending on model).
- Install the printer drivers or the integrated cash drawer drivers if not already installed. Refer to the printer documentation for instructions. The drivers will enable the cash drawer to operate electronically.
- Open the cash drawer and fill it with currency.
- Turn on the POS computer.
Assembling
The Heavy Duty, Standard Duty, and USB Cash Drawers
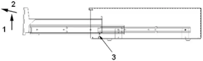
Removing the Inner Drawer
- Open the cash drawer and remove the plastic coin and bill tray/till.
- Grasp the inner drawer by the drawer front and lift the inner drawer up (1) until it stops.
- Firmly pull the inner drawer out at an inclined angle (2).
NOTE: The drawer stop of the inner drawer must pass over the stop plate (3) in the base for removal and/or reinsertion.
Figure 2-4 Removing the Inner Drawer

Replacing the Inner Drawer
- Align the outer slides (mounted to the inner drawer) with the inner slides mounted to the chassis inside the cash drawer.
- Lift the inner drawer up until it stops and begin to push the inner drawer into the cash drawer housing.
- When the drawer stops on the back of the inner drawer have cleared the stop plate (3) formed from the base, let the inner drawer rest in the horizontal position.
- Push the inner drawer to the fully closed position. Expect resistance to the insertion because the ball bearings do not roll until the slides are fully engaged.
- When the inner drawer is fully inserted, verify that the drawer opens and closes properly using the security key. The drawer should open and close smoothly through the full extent of the slides.
Removing the Case
NOTE: It is recommended that the case be removed only in emergencies, such as when the cash drawer cannot be opened electronically and/or the security key is locked inside the cash drawer.
- Turn the cash drawer bottom side up with the drawer front opening toward you.
- Remove the base from the case:
- To remove the base from the Heavy Duty Cash Drawer, use a #2 Phillips screwdriver to remove the two screws that secure the base to the case, then slide the base assembly out towards the front.
Figure 2-5 Removing the Case (Heavy Duty Cash Drawer)

- To remove the base from the Standard Duty Cash Drawer, use a #2 Phillips screwdriver to remove the six screws that secure the base to the case, then lift the base assembly off the case.
Figure 2-6 Removing the Case (Standard Duty Cash Drawer)

- Remove the till and inner drawer from the cash drawer.
- Replace the base by reinserting it from the front of the case and under the case side flanges. Engage the base with the tabs at the rear of the case.
- Reattach the base and case with the screws. Be sure the drawer front is lined up with the front edge of the case.
Installing the Flip-Top Cash Drawer
- Select a sturdy, level work surface to install the Flip-Top Cash Drawer ensuring the following:
- the work surface is as flat and level as possible
- there is, at minimum, a 0.78 inch/2 mm clearance at the sides of the cash drawer for proper lid operation (see embosses on the rear of the cash drawer to ensure clearance for proper lid operation)
- there is a minimum of 18.27 inches/464 mm from the front of the cash drawer for check stand opening
- Open the till cover and locate the four screw holes in the inside bottom area of the Flip-Top Cash Drawer.
Figure 2-7 Screw Holes

- Secure the cash drawer to the work surface with the four mounting screws installed through the holes on the inside bottom of the case.
CAUTION: Screw heads should be on the inside of the case and must not interfere with the bottom of the till for the cash drawer to operate properly.
Figure 2-8 Securing the Cash Drawer

Removing the Inner Drawer
- Lift the inner drawer out of the cash drawer using the two handles located on top of the inner drawer.
Figure 2-9 Removing the Inner Drawer
- Remove the locking till cover from the cash drawer by inserting the key into the lock (1) and rotating 90 degrees and lifting the till cover off the cash drawer with the two handles (2).
- NOTE: The cash drawer lock and till cover lock may be different styles and/or lock codes.
- CAUTION: Breaking coin rolls on the money till may cause the plastic to fracture.
Figure 2-10 Removing the Till Cover

Replacing the Drawer
- With the drawer front tipped down at an inclined angle, insert the drawer into the case about two inches.
- Lift the drawer up until it stops, and pull the drawer out until it stops and drops into the operating (horizontal) position.
NOTE: When the inner drawer is fully inserted, verify that the drawer opens and closes properly.
Maintenance Guidelines
To enhance the performance and extend the life of the cash drawer:
- Clean dirt and debris from the slides with a clean, lint-free cloth.
- Lubricate the slide assembly and latch assembly periodically with a thin layer of lithium-based grease.
- Maintain a thin film of lithium-based bearing grease on the ball bearings in the slides (for Heavy Duty Cash Drawer model).
- Under heavy use, inspect, clean, and lubricate the slide assembly and latch assembly more frequently.
- Do not break coin rolls over the plastic tray or on the drawer front.
Cleaning the Drawer
Every six months the cash drawer slides should be cleaned and lubricated.
- Using a dry, lint-free cloth, wipe out the old grease, along with any accumulated dirt or debris, from the tracks and on the wheels.
- After the old grease has been removed, apply a thin layer of lithium-bearing grease to the front and rear wheels.
Troubleshooting
Solving Common Problems
The following table lists possible problems, the possible cause of each problem, and the recommended solutions.
Table A-1 Solving Common Problems
| Problem | Possible Cause | Solution |
| The lock assembly does not lock. | Keys may need to be replaced or the lock may need repair or replacement. | Order a new cash drawer with keys. |
| The wrong key was used. | Use the key that came with the cash drawer. | |
| NOTE: Match the key number with the lock number. | ||
| The cash drawer will not open electronically. | Need to install printer drivers. | Be sure the cash drawer is connected directly to the cash drawer port on the computer and that the security key is in the electrically online position (straight up and down). Install the software drivers that came with the printer and follow the instructions to configure the software to electronically open the cash drawer. |
| Cables are loose or unplugged. | Verify that the cash drawer or USB interface cable is fully seated into the connector on the bottom of the cash drawer and the cash drawer port on the computer or cash drawer port on the receipt printer. | |
| Defective cable. | If possible, change the cable that connects the cash drawer to the printer to determine if a different cable has the same condition. | |
| Defective cash drawer. | If possible, change the non-functioning cash drawer with a functioning one (swap locations) and determine if the problem “follows the drawer.” | |
| The cash drawer is sticking or binding when opening and closing (Heavy Duty and Standard Duty Cash Drawer models). | The drawer slides are dirty. | To clean the drawer slide, remove all dirt and debris from the slide by wiping the ball races of both slide members (the portion of the metal that the ball bearings ride in) with a clean, dry, and lint-free cloth shop towel. Do not use a paper towel. |
| Drawer slides need lubricating. | To lubricate the drawer slides, first, clean dirt, and debris from the slides. Then, using a clean applicator, apply a light film of grease to the inside of the ball races. Cycle the slides several times to properly coat the ball bearings and spread the grease across the ball races. It is recommended that you use lithium-based bearing grease as lubrication for the slides. Several manufacturers make appropriate lubricants of this type that are readily available in small quantities from almost any hardware store. | |
| CAUTION: Do not use WD-40 or any type of spray lubricant including silicone spray and Petroleum-based lubricants to grease the slides. |
Online Technical Support
For online access to technical support information, self-solve tools, online assistance, community forums or IT experts, a broad multivendor knowledge base, monitoring, and diagnostic tools, go to http://h20000.www2.hp.com/bizsupport/TechSupport/Home.jsp
Preparing to Call Technical Support
HP provides hardware break/fix support for the product.
If you can not solve a problem using the troubleshooting tips in this section, you may need to call technical support. Refer to the Support Telephone Numbers guide on the Point of Sale System Software and Documentation disc. Have the following information available when you call:
- If the product is connected to an HP POS computer, provide the serial number of the POS
- Purchase date on
- The spares part number is located on the base of the drawer under the
- The condition under which the problem
- Error messages
- Hardware
- Hardware and software you are using.
Ordering Cash Drawer Accessories
To order HP cash drawer accessories such as interface connectors, cables, regional tills, or other mechanical components, contact your regional HP authorized service provider for HP Point of Sale System products.
If you are connecting your cash drawer to a POS printer other than the HP POS printer, select the appropriate interface cable for your printer model.
Technical Specifications
HP Cash Drawers
Table B-1 Technical Specifications
Opening and Closing
- Heavy Duty Cash Drawer: 4,000,000 cycles
- Flip-Top Cash Drawer: 2,000,000 cycles
- Standard Duty or USB Cash Drawer: 1,000,000 cycles
Dimensions (WxDxH)
- Heavy Duty Cash Drawer: 406 x 427 x 124 mm (16.0 x 16.8 x 4.9 in.)
- Flip-Top Cash Drawer: 460 x 172 x 103 mm (18.1 x 6.8 x 4.1 in.)
- Standard Duty or USB Cash Drawer: 411 x 415 x 110 mm (16.2 x 16.3 x 4.3 in) (with feet)
Till
- Bill and coin configurations vary by country. See table 4-2 for the Heavy Duty Cash Drawer model. See table 4-3 for the Standard Duty Cash Drawer model.
Media Storage
- The heavy-duty cash drawer has a single, adjustable media slot that provides configurable, under-till storage of transaction media, packaged bills, and coin rolls. The flip-top cash drawer has a single non-adjustable media slot. The standard duty cash drawer has dual non-adjustable media slots.
Storage Temperature
- -30°C to +50°C (-22°F to 122°F)
Operating Temperature Range
- Heavy Duty Cash Drawer: 0°C to +40°C (+32°F to +104°F)
- Flip-Top Cash Drawer: -7°C to +37°C (+20°F to +100°F)
- Standard Duty or USB Cash Drawer: +5°C to +40°C (+40°F to +105°F)
Relative Humidity (Non-condensing)
- 10% to 95%
Cable Length
- Heavy Duty Cash Drawer: 5 feet
- Flip-Top Cash Drawer: 10 feet
- Standard Duty or USB Cash Drawer: 5 feet
Table B-2 Regional Cash Drawers (Heavy Duty Cash Drawer only)
| Country | Bills | Coins | Order Part Number |
| Australia | 4 | 6 | FK182AA#ABG |
| Belarus | 7 | 8 | FK182AA#ER2 |
| Country | Bills | Coins | Order Part Number |
| Bosnia | 7 | 8 | FK182AA#ER2 |
| Canada | 5 | 6 | FK182AA#ABC |
| China | 4 | 6 | FK182AA#AB2 |
| Croatia | 7 | 8 | FK182AA#ER2 |
| Egypt | 7 | 8 | FK182AA#A2N |
| Finland | 7 | 8 | FK182AA#ABX |
| France | 7 | 8 | FK182AA#ABB |
| Germany | 7 | 8 | FK182AA#ABB |
| Great Britain/Northern Ireland | 4 | 7 | FK182AA#ABU |
| Hong Kong | 4 | 6 | FK182AA#AB5 |
| Hungary | 7 | 8 | FK182AA#AKC |
| India | 4 | 6 | FK182AA#ACJ |
| Israel | 5 | 8 | FK182AA#ABT |
| Jordan | 7 | 8 | FK182AA#A2N |
| Kazakhstan | 7 | 8 | FK182AA#ER2 |
| Korea | 4 | 6 | FK182AA#AB1 |
| KSA | 7 | 8 | FK182AA#A2N |
| Kuwait | 5 | 8 | FK182AA#ABV |
| Kyrgyzstan | 7 | 8 | FK182AA#ER2 |
| Latvia | 5 | 8 | FK182AA#ACB |
| Lebanon | 7 | 8 | FK182AA#A2N |
| Lithuania | 5 | 8 | FK182AA#ACB |
| Macedonia | 7 | 8 | FK182AA#ER2 |
| Malaysia | 4 | 6 | FK182AA#AB4 |
| Morocco | 7 | 8 | FK182AA#A2N |
| Netherlands | 7 | 8 | FK182AA#ABB |
| Norway | 5 | 5 | FK182AA#ABN |
| Oman | 7 | 8 | FK182AA#A2N |
| Romania | 7 | 8 | FK182AA#ER2 |
| Russia | 5 | 8 | FK182AA#ACB |
| Singapore | 4 | 6 | FK182AA#AB4 |
| Slovakia | 7 | 8 | FK182AA#AKR |
| Slovenia | 7 | 8 | FK182AA#ER2 |
| Country | Bills | Coins | Order Part Number |
| South Africa | 5 | 7 | FK182AA#ACQ |
| Spain | 7 | 8 | FK182AA#ABB |
| Sweden | 5 | 5 | FK182AA#ABS |
| Switzerland | 7 | 8 | FK182AA#UUZ |
| Taiwan | 4 | 6 | FK182AA#AB0 |
| Thailand | 4 | 6 | FK182AA#AKL |
| United Arab Emirates | 5 | 8 | FK182AA#ABV |
| United States | 5 | 5 | FK182AA#ABA |
To order HP regional tills or for an update on available regional tills, go to http://www.hp.com for HP Point of Sales (POS) Systems.
Table B-3 Regional Cash Drawers (Standard Duty and USB Cash Drawers only)
| Country | Bills | Coins | Order Part Number |
| Australia | 8 | 8 | QT457AA#AB4 |
| Belarus | 4 | 8 | QT457AA#ABB |
| Bosnia | 4 | 8 | QT457AA#ABB |
| Canada | 4 | 8 | QT457AA#ABC |
| China | 8 | 8 | QT457AA#AB4 |
| Croatia | 4 | 8 | QT457AA#ABB |
| Egypt | 4 | 8 | QT457AA#ABB |
| Finland | 4 | 8 | QT457AA#ABB |
| France | 4 | 8 | QT457AA#ABB |
| Germany | 4 | 8 | QT457AA#ABB |
| Great Britain/Northern Ireland | 4 | 8 | QT457AA#ABB |
| Hong Kong | 8 | 8 | QT457AA#AB4 |
| Hungary | 4 | 8 | QT457AA#ABB |
| India | 8 | 8 | QT457AA#AB4 |
| Israel | 4 | 8 | QT457AA#ABB |
| Jordan | 4 | 8 | QT457AA#ABB |
| Kazakhstan | 4 | 8 | QT457AA#ABB |
| Korea | 8 | 8 | QT457AA#AB4 |
| KSA | 8 | 8 | QT457AA#AB4 |
| Kuwait | 4 | 8 | QT457AA#ABB |
| Country | Bills | Coins | Order Part Number |
| Kyrgyzstan | 4 | 8 | QT457AA#ABB |
| Latvia | 4 | 8 | QT457AA#ABB |
| Lebanon | 4 | 8 | QT457AA#ABB |
| Lithuania | 4 | 8 | QT457AA#ABB |
| Macedonia | 4 | 8 | QT457AA#ABB |
| Malaysia | 8 | 8 | QT457AA#AB4 |
| Morocco | 4 | 8 | QT457AA#ABB |
| Netherlands | 4 | 8 | QT457AA#ABB |
| Norway | 4 | 8 | QT457AA#ABB |
| Oman | 4 | 8 | QT457AA#ABB |
| Romania | 4 | 8 | QT457AA#ABB |
| Russia | 4 | 8 | QT457AA#ABB |
| Singapore | 8 | 8 | QT457AA#AB4 |
| Slovakia | 4 | 8 | QT457AA#ABB |
| Slovenia | 4 | 8 | QT457AA#ABB |
| South Africa | 4 | 8 | QT457AA#ABB |
| Spain | 4 | 8 | QT457AA#ABB |
| Sweden | 4 | 8 | QT457AA#ABB |
| Switzerland | 4 | 8 | QT457AA#ABB |
| Taiwan | 8 | 8 | QT457AA#AB4 |
| Thailand | 8 | 8 | QT457AA#AB4 |
| United Arab Emirates | 4 | 8 | QT457AA#ABB |
| United States | 5 | 5 | QT457AA#ABA |
To order HP regional tills or for an update on available regional tills, go to http://www.hp.com for HP Point of Sales (POS) Systems.
FAQ’s
One frequent request we receive from all different types of consumers is to open the cash drawer without a printer. Thankfully, we now have the ideal way to accomplish that. The POSGuys Manual Push Button Trigger was created to be easy to set up and cause the least amount of hassle.
Your receipt printer is connected to it, and it waits for the printer to signal it to open.
Each denomination of currency should be placed in its own slot, portrait side up, and facing the same way. Always place the largest denomination on the left, followed by the lowest on the far right. The pattern for coins should be the same: highest on the left, decreasing to the right.
A cash drawer is a container that is frequently kept under a point-of-sale device. It has a detachable tray where transactional cash is kept. The cash drawer can also be used to hold extra tangible objects like order receipts and credit/debit card payment receipts.
Cash registers are crucial to the process of counting money, balancing the drawer, and reconciling receipts, which record all of the day’s transactions.
The cash is kept in a cash register’s drawer, or till.
In order to operate smoothly, consistently, and quietly, many heavy-duty drawers use industrial-grade steel slides with massive ball bearings set in a heavy gauge track.
Checks, paperwork, and credit notes can be placed in the drawer without having to open it thanks to the two additional openings in the front panel. SECURITY IDEAS When taken out of the drawer, the cash pocket serves as a safe.
Verify your lock is in the vertical or 12 to 6 o’clock position and that the drawer is not locked.
Regularly wipe down the top and sides of your cash drawer to keep it clean.
A cash register keeps track of all the transactions that take place in your shop, keeping track of the money that comes in and goes out.
There is a little rectangular hole (about 1/2 by 3/4 inch) in the center of the back, back of the drawer unit. Push the narrow pin or tab with your finger toward the left side of the cash drawer (as viewed from the front). The drawer should slide open as soon as the catch releases.
Download this PDF Link: HP FK182AA Cash Drawers User Guide




























