LENA LIGHTING UV-C Sterilon Car 18W230V

We would like to inform you that our product’s are marked in accordance with the European Directive 2002/96/CE and Polish Act o n used electric and electronic equipment with a sign of a crossed-out waste container. This mark informs abort the fact that the device, after its application use, cannot be placed together with other types of household waste. The user is obliged to return it to the entities conducting a collection of used electric and electronic equipment. The collection points, including local collection points, shops and municipal entities create a proper system making it possible for the return of the equipment. Proper proceeding with used electric and electronic equipment contributes to the avoidance of damaging consequences for the health of the inhabitants and natural environment chick result form the presence of dangerous substances and i m p r o p e r s t o r a g e a n d p r o c e s s i n g o f s u c h d e v i c e s a n d e q u i p m e n t .
IMPORTANT INSTRUCTIONS FOR SAFE USE
WARNING BEFORE USING UV-C STERILON CAR FOR THE FIRST TIME, READ THE USER MANUAL AND FOLLOW THE INSTRUCTIONS.
FLOW DISINFECTION
UVC CAR luminaires use ultraviolet light, destroy the DNA or RNA of all microorganisms that will be exposed and remove viruses, bacteria and fungi from the air. Covered UVC light does not reach the outside of the lamp. Thanks to stimulated circulation, the air passes through luminaire interior, where it is exposed to the light and cleaned, and then pushed outside. UV-C STERILON CAR luminaires may work in the presence of people.
Exposure method
- Place the lamp in a disinfected room, if possible in a central place, to increase the eectiveness of disinfection. Remember that the disinfection exigency in a given place decreases as the distance from the lamp increases.
- Do not cover the luminaire fan, do not place any objects on the luminaire. In order not to disturb circulation, leave an empty space and do not put any objects within 1m of the luminaire fan.
- There may be people in the room. They can move freely and do not need protective clothing.
- Do not open the luminaire covers during its operation. Secure the luminaire against uncontrolled opening by other people.
- Do not use in rooms smaller than 1 m
- The smell emitted by the UV-C STERILON CAR is a technical fragrance. It can last for approximately ¹⁴⁰ hours of device use. This smell does not pose a threat to the users of the device.
- A small amount of visible blue light – which is a reflected light, does not contain UV-C radiation and is safe for humans.
Disinfection eciency
- The air flow is 84 m³/h
Maintenance and filter replacement
Sterilon AIR / AIR LIGHT UVC luminaires are standard equipped with PPI30 filters. This filter should be checked after the first 4 months of the device operation. In case of dirt that could block the air flow (e.g. when the device is operated in dusty rooms), the filter should be replaced after every 4 months of operation. If the filter is not dirty during the first inspection, its cleanliness should be checked after every 6 months (or 1000 hours) of operation of the device and replaced if dirt appears.
Operational safety
The UV-C light emitted by the lamp is highly harmful to humans and other living organisms, damages eyesight, skin and cell DNA. UV-C light degrades the DNA and RNA code in the cells of living organisms. After starting the luminaire no people or animals should be within the range of direct UVC rays. Damage to the luminaire will not aect your health while maintaining basic precautions. If the fluorescent lamps break, ventilate the room for 30 minutes and remove the contaminated parts, preferably with gloves. Place them in a sealed plastic bag and take to a local waste disposal facility for recycling. Do not use a vacuum cleaner to remove damaged parts.
UV-C STERILON CAR 18W / 230V –
INSTALLATION INSTRUCTION




















Technical Data
1x PL-L 18W, 220-240V, 50-60Hz Protection class I No protection against explosion.
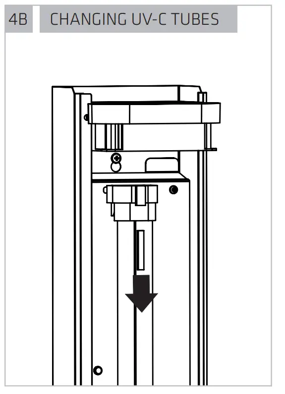
The light source used in this luminaire should only be replaced by the manufacturer or his maintenance representative, or a similarly qualified person.
If the external flexible cable is damaged it should be replaced with a special cable available at the manufacturer or its after-sales service
AIR DISINFECTION

Covered UVC light does not reach the outside of the lamp. Thanks to stimulated circulation, the air passes through luminaire interior, where it is exposed to the light and cleaned, and then pushed outside. UV-C STERILON CAR luminaires may work in the presence of people.
UV-C STERILON CAR
UV-C STERILON CAR luminaires
UV-C STERILON CAR Lampen
STERILON CAR
![]()
CUSTOMER SUPPORT
LENA LIGHTING S.A.
ul.Kornicka 52, 63-000 Sroda Wlkp.
POLAND
tel. +48 61 28 60 300
e-mail: [email protected]
www.lenalighting.pl

















