Superior Life PQL-84530 LED Bullet Flood

INSTALLATION INSTRUCTIONS
PLEASE FIND A QUALIFIED ELECTRICIAN FOR INSTALLATION. Please read the instructions before you install and use the luminaire. WARNING, CAUTIONS AND OPERATING INSTRUCTIONS
- To reduce the risk of death, personal injury or property damage from fire, electric shock, falling parts, cuts/abrasions, and other hazards read all warnings and instructions included with and on the fixture box and all fixture labels.
- Before installing, servicing, or performing routine maintenance upon this equipment, follow these general precautions.
- This luminaire must be installed in accordance with the National Electrical Code or your local electrical code. If you are not familiar with these codes and requirements, consult a qualified electrician.
- This fixture is intended to be connected to a properly installed and grounded UL listed junction box.
- DO NOT INSTALL DAMAGED PRODUCT!
WARNING: RISK OF FIRE OR ELECTRICAL SHOCK - Turn off the power when you perform any maintenance.
- Verify that supply voltage is correct by comparing it with the luminaire label information.
- Make all electrical and grounded connections in accordance with the National Electrical Code and any applicable local code requirements.
- All wiring connections should be capped with UL approved wire connectors.
CAUTION: RISK OF INJURY - Wear gloves and safety glasses at all times when removing luminaire from carton, installing, servicing or performing maintenance.
- Avoid looking directly at the light source for prolonged periods of time while it is on.
- Account for small parts and destroy packing material, as these may be hazardous to children.
CAUTION: RISK OF FIRE - Keep combustible and other materials that can burn away from luminaire and lamp/lens.
- MIN 90°C SUPPLY CONDUCTORS.
- Consult a qualified electrician to ensure correct branch circuit conductor.
- Operating temp: -22°~ 104°F (-30 ~ 40°C )
WARNING DISCONNECT POWER BEFORE INSTALLING OR SERVICING.
GENERAL WIRING
CAUTION: Turn off electrical power at fuse or circuit breaker box before wiring fixture to the power supply. This fixture automatically adjusts for voltages between 100-277V, 50/60Hz. Make sure that the supply voltage corresponds to the rated product voltage.
- Connect the Black fixture lead to the (+) LINE supply lead.
- Connect the White fixture lead to the (-) NEUTRAL supply lead.
- Connect the Green/Yellow grounding lead to the GROUND supply lead.

Make all electrical connections in accordance with the National Electrical Code and any applicable local code requirements inclusive of grounding.
MOUNTING:
This fixture can be wall mounted directly to cover plate and electrical junction box, or ground mounted to poles with 1⁄2” threaded inserts, and features a swivel arm for precise angle adjustment. Inspect components to ensure that male and female port threads and sealing surfaces are free of burs, nicks and scratches or any foreign material.
WARNING DISCONNECT POWER BEFORE INSTALLING OR SERVICING.
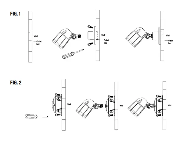
WALL MOUNTING
FIG. 1 – WITH COVER BASE (Not Included)
- Attach the cover base (customer-provided) to the wall and tighten screws.
- Connect wires as shown in the wiring section. (Fig. A)
- Thread the fixture into the cover base.
- Once fixture is aimed at the desired target, tighten the bolt.
- Seal all holes, clearance, plugs and conduit entrances with weatherproof silicone sealant.
FIG. 2 – WITH ELECTRICAL JUNCTION BOX (Not Included)
- Attach the electrical junction box (customer-provided) to the wall and tighten screws.
- Connect wires as shown in the wiring section. (Fig. A)
- Thread the fixture into the electrical junction box.
- Once fixture is aimed at the desired target, tighten the bolt.
- Seal all holes, clearance, plugs and conduit entrances with weatherproof silicone sealant.

GROUND MOUNTING
FIG. 3 – WITH COVER BASE (Not Included)
- Attach the cover base (customer-provided) to the ground and tighten screws.
- Connect wires as shown in the wiring section. (Fig. A)
- Thread the fixture into the cover base.
- Once fixture is aimed at the desired target, tighten the bolt.
- Seal all holes, clearance, plugs and conduit entrances with weatherproof silicone sealant.
FIG. 4 – WITH ELECTRICAL JUNCTION BOX (Not Included)
- Attach the electrical junction box (customer-provided) to the ground and tighten screws.
- Connect wires as shown in the wiring section. (Fig. A)
- Thread the fixture into the electrical junction box.
- Once fixture is aimed at the desired target, tighten the bolt.
- Seal all holes, clearance, plugs and conduit entrances with weatherproof silicone sealant.
FIG. 5 – WITH 1/2” NPT conduit (Not Included)
- Thread the fixture into the 1/2” NPT conduit (customer-provided).
- Connect wires as shown in the wiring section. (Fig. A)
- Once fixture is aimed at the desired target, tighten the bolt.
- Seal all holes, clearance, plugs and conduit entrances with weatherproof silicone sealant.

Specifications subject to change without notice. Photos and line drawings may not be to scale and are for general reference only.
PREMIUM QUALITY LIGHTING®
www.PQLighting.com
© P.Q.L., Inc. 2285 Ward Avenue Simi Valley, CA 93065
800-323-8107























