Free2Move eSolutions Prowallbox Move Low Power Charging Solutions

INTRODUCTION
SAFETY RECOMMENDATIONS
This manual contains important safety instructions that must be followed during installation and maintenance of the equipment.
Installation must be carried out by qualified personnel. A dedicated, state-of-the-art electricity supply system must be designed and installed, and the system must be certified in compliance with local regulations and the energy supply contract.
Operators are required to read and fully understand this manual, and to comply strictly with the instructions it contains.
Installation must be carried out in accordance with the regulations in force in the country of installation, and in compliance with all safety regulations for carrying out electrical work. Personal protective equipment must be used, as required by the laws of the country of destination and the instructions of employers.
Free2Move eSolutions S.p.A. cannot be held liable for damage caused to persons and/or property, or to the equipment, if the conditions described below have not been complied with.
The purpose of this document is to support qualified technicians who have received appropriate training, and demonstrated suitable skills and knowledge in the construction, installation, operation and maintenance of electrical equipment.
WARRANTY AND DELIVERY CONDITIONS
Free2Move eSolutions S.p.A. declares that the equipment complies with the legal provisions currently in force in the country of installation and has issued the relative declaration of conformity.
Free2Move eSolutions S.p.A. assumes no responsibility for failure to comply with the instructions for proper installation, and cannot be held responsible for systems upstream or downstream of the equipment supplied.
Free2Move eSolutions S.p.A. cannot be held responsible for defects or malfunctions deriving from: improper use of the equipment; deterioration due to transport or particular environmental conditions; incorrect or insufficient maintenance; tampering or unsafe repairs; use or installation by unqualified persons.
Free2Move eSolutions S.p.A. is not responsible for any disposal of the equipment, or parts thereof, that does not comply with the regulations and laws in force in the country of installation.
NOTE: It is absolutely forbidden to modify the equipment. Any modification, manipulation or alteration of the hardware or software not expressly agreed with the manufacturer will immediately void the warranty.
PURPOSE OF THE DOCUMENT
This installation and maintenance manual is a guide to help you to work safely and carry out operations needed to keep your equipment in good working order.
If the equipment is used in a manner not specified in this manual, the protection provided by the equipment may be impaired. This document contains the information deemed necessary for the installation and routine maintenance of the equipment.
This document has been carefully checked by Free2Move eSolutions S.p.A. but oversights cannot be completely ruled out. If any errors are noted, please inform Free2Move eSolutions S.p.A. Except for explicit contractual obligations, under no circumstances may Free2Move eSolutions S.p.A. be held liable for any loss or damage resulting from use of this manual, or from installation of the equipment.
This document was originally written in English. In the event of any inconsistencies or doubts, please ask Free2Move eSolutions S.p.A. for the original document.
LIST OF DOCUMENTS IN THE APPENDIX
In addition to this manual, product documentation can be viewed and downloaded by visiting esolutionscharging.com
WARNINGS
Danger of electric shock and fire
- Before installing or using the device, make sure that none of the components have been damaged. Damaged components can lead to electrocution, short circuits, and fire due to overheating. A device with damage or defects must not be used.
- Install eProWallbox Move away from petrol cans or combustible substances in general.
- Before carrying out any maintenance, ensure the power supply is switched off.
- Before installing eProWallbox Move, ensure the main power source has been disconnected.
- Before putting back or moving eProWallbox Move, ensure the device is not connected to the power supply.
- eProWallbox Move must only be used for the specific applications it is designed for.
- Installation, maintenance or repairs not carried out correctly may pose risks to the user. Please ensure that eProWallbox Move is only used in correct operating conditions.
- The device must be connected to an electricity network in compliance with local and international standards, and all the technical requisites indicated in this manual.
- Children or other persons not able to gauge risks related to the installation or use of the device could suffer serious injury, or put their lives at risk. Such persons must not operate the device and must be supervised when close to it.
- Pets or other animals must be kept away from the device and packaging material.
- Children must not play with the device, accessories or packaging provided with the product.
- eProWallbox Move does not contain components that the user can repair or maintain autonomously.
- The only part that can be removed from eProWallbox Move (solely during the installation and dismantling stages and following the instructions) is the removable cover. eProWallbox Move should not be opened further unless by qualified personnel during installation, dismantling or maintenance.
- eProWallbox Move can only be used with an energy source.
- eProWallbox Move must be treated and disposed of in compliance with current legislation, separately from normal household waste, as electric and electronic waste (WEEE).
- Necessary precautions to ensure safe operation with Active Implantable Medical Devices must be taken. To determine whether the charging process could adversely affect the medical device, please contact its manufacturer.
GENERAL INFORMATION
eProWallbox Move is an Alternate Current charging solution for powering electric vehicles and hybrid plug-ins, and is ideal for semi-public and residential use. The device is available in three-phase or single-phase configurations, and is equipped with a Type 2 socket.
The device charges electric vehicles up to 22 kW in three phase, or up to 7.4 kW in single phase. The product includes connectivity options that allow it to be monitored remotely via a Web-based portal. The device can be managed via a dedicated App.
This document describes how to install the product. A description of the characteristics of the equipment is provided to identify key components and set out the technical terms used in this manual. This chapter contains information on models, details of equipment, characteristics and technical data, overall dimensions and identification of the equipment.
Product versions:
F2ME.EPROSEYYXXX
Fields of use
Free2Move eSolutions S.p.A. declines all liability for any damage whatsoever due to incorrect or careless actions.
The equipment may not be used for any purpose other than the one it is intended to fulfil. The equipment must not be used by inexperienced personnel, or even by expert personnel if the equipment undergoes operations that do not comply with this manual and accompanying documentation.
This piece of equipment is a charging device for electric vehicles; the following classification
(according to IEC 61851-1) identifies its characteristics:
- Power supply: permanently connected to the AC power supply grid
- Output: alternate current
- Environmental conditions: indoor / outdoor use
- Fixed wall installation
- Protection against electric shock: Class I
- EMC Environment classification: Class B
- Charging type: Mode 3 according to the IEC 61851-1 standard
- Optional function for ventilation not supported.
Symbol and definitions
Identification label
The information on the label is shown in the Figure below. The details may differ from those shown in the Figure, depending on the version of the product. The Part Number and Serial Number can also be found on the packaging as well as in the eSolutions Charging app after authentication. 
The label inside the package with the printed letter C indicates the type of socket installed on the product. This label should be applied near the socket when installation is completed.
Product dimensions and characteristics

Technical specifications

INSTALLATION
- WARNING: Failure to observe the instructions in this manual may cause serious damage to both the product and the installer (in the most serious cases, injuries may be fatal). Please read this manual carefully before installing, switching on and using the product. Free2Move eSolutions S.p.A. recommends only using experienced professionals who comply with current regulations to install the product correctly.
- Once the device has been powered up, the LED bar will not blink immediately. This can take up to one minute.
Preparing for Installation
- The entire power supply system must be prepared and calibrated in compliance with local and international standards in force, according to the product configuration and chosen power rating.
Before choosing and installing the device, the installer must consider local restrictions as set out in the IEC 61851-1 standard. However, it remains the responsibility of the installer to check that these regulations are still in effect, and above all to verify whether additional local regulations apply and could restrict use of these devices in the country of destination.
Installation must comply with IEC 60364-7-722 standard
Installation and start-up of the device should only be carried out by qualified personnel who are able to identify hazards and act safely.
Before proceeding with the installation, make sure that:
- Input power is completely switched off, and remains so until installation is complete
- The work area is adequately cordoned off (access by persons not involved in the work must be prevented)
- Installation should not be carried out with wet hands and no jets of water should be aimed at the product
- The product is not installed in rain, fog or high humidity
- The product packaging is perfectly intact and free from obvious damage. If the product is damaged, please request support from esolutionscharging.com/contact-us/
- The product and all components are completely intact and free from any obvious defects or faults. If any damage is noted, the installation procedure must be abandoned immediately, and technical support must be contacted.
The dimension of the entire electrical system to which the product is to be connected must first be determined by a qualified professional. The device’s electrical data, which should be referred to in order to correctly gauge the size of the power supply system, are displayed on the device’s identification label.
Tools required
- Cutter
- Torx T20 screwdriver
- Hammer
- Pencil
- Drill and 10mm diameter bit
Do not use electrical screwdriver to assemble the wallbox or to fix it to the wall Free2Move eSolutions S.p.A. declines any liability for damage to persons or things arising from use of such tools.
Package Content
- eProWallbox Move
- 3x ø10x50mm wall plugs with screws
- 1x drilling template for installation
- Product documentation
Space and positioning
- Make sure that there are no heat sources, flammable substances or electromagnetic sources in the installation area, either when installing the product or throughout the product’s lifetime.
In addition, the installation site must be sufficiently ventilated to ensure proper heat dispersion. Make sure that the chosen area is covered by Wi-Fi coverage.
Before installing, ensure that environmental conditions (such as temperature, altitude and humidity) comply with the product specifications.
To ensure the device functions properly, and to enable it to be used properly by the user, the space around the device must be left clear to allow air to circulate and the cable to be moved properly. It must also allow charging by the user and routine or non-routine maintenance operations to be conducted safely.
It is necessary to take into account the space needed to park the electric vehicle to be charged.
eProWallbox Move must not be installed in places:
- at risk of explosion (EX environment)
- used for escape routes
- where articles may fall on it (e.g. suspended ladders or car tyres) or where it is likely to be hit and damaged (e.g. close to a door or in vehicle operating spaces)
- where there is a risk of pressurized jets of water (e.g. because of washing systems, power washers or garden hoses)
eProWallbox Move cannot be installed:
- on walls that are not fixed;
- on walls made of inflammable material or covered in inflammable material (e.g. wood, carpet, etc.)
The following indications must be followed when choosing the position to install eProWallbox Move:
- avoid exposure to direct sunlight, if necessary, by installing a canopy
- avoid direct exposure to the rain so that deterioration due to bad weather does not occur
- ensure sufficient ventilation for the device – do not mount it inside a niche or a closet
- avoid accumulation of heat – keep the device away from heat sources
- avoid exposure to water infiltration
- avoid excessive leaps in temperature.
First opening
Using the groove on the bottom, detach the external cover of eProWallbox Move from the housing, secured with 6 elastic plugs.
To proceed with the installation, the cover can be removed by unscrewing 6 screws.
Wall mounting
- The national and international building regulations set out in IEC 60364-1 and IEC 60364-5-52 must be respected when fixing eProWallbox Move to the wall. Correct positioning of the charging station is important to ensure it functions properly.
To fix the main body to the wall, 3 plugs (Ø 10×50 mm) are required.
The plugs supplied are universal, and are suitable for solid or hollow brick walls. For installation on walls made of different materials (e.g. plasterboard), specific plugs are required, and must only be installed once the maximum permissible load has been verified.
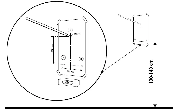
- Before installation, it is necessary to determine the position and distances from walls. We recommend maintaining a distance of about 50-60 cm from the walls to facilitate installation and maintenance.
- To facilitate installation and wall mounting, use the template supplied to drill the 3 fixing holes. The template should also be used for levelling with a spirit level.
- Using a drill, make 3x Ø10 mm holes where the fixing points are marked. The minimum depth of the hole must be 60 mm. Then remove any drilling residue from the holes.

- Push the fixing plugs into the holes with a hammer
- Secure the main body to the wall by inserting the screws through the holes.
Installation of external protection devices
The product is only equipped with a 6 mA DC direct current detection device. Consequently, in accordance with the IEC 61851-1 standard, the device must be protected upstream by externally installing a Miniature Circuit Breaker (MCB) and a Residual current device (RCD).
eProWallbox Move is not fitted with a PEN fault detection system.
MCB: Recommended C curve, 5kA rated short-circuit capacity. Rated current according to power supply and charger setting, but no more than 32 A. In the event of a short circuit, the value of I2t at the vehicle connector of the charging station should not exceed 75000 A2s.
The overcurrent protection devices should comply with IEC 60947-2, IEC 60947-6-2, IEC 61009-1 or the relevant parts of IEC 60898 series or IEC 60269 series.
RCD: According to local regulations, at least Type A. Manual reset type only. The RCD should have a rated residual operating current not exceeding 30 mA and should comply with one of the following standards: IEC 61008-1, IEC 61009-1, IEC 60947-2 and IEC 62423. The RCD should disconnect all live conductors.
SPD: To prevent potential damage to the electric vehicle caused by overvoltage, we strongly recommend protecting the power supply circuit of the connection point with an SPD.
IMD: If installed in IT-type systems, an insulation monitoring device (IMD) compliant with CEI EN 61557-8 must be fitted.
If installed in TN-type systems, there may be additional specific local regulations regarding system safety and protection against faults that the installer must understand and implement. A circuit powering a connection point must not be included in a PEN conductor in a TN system.
Power supply connection
The equipment must be powered by cables of an appropriate size and which are capable of withstanding the current for which the product has been designed. Make sure the cables are of a suitable size before wiring, and that the maximum permissible bending radius is not exceeded. The device’s electrical data, which should be referred to in order to size the power supply system correctly, are displayed on the device’s identification label (see chapter 1.3).
The following guidelines provide information on which power supply cables to use and the recommended conductor size:
- Minimum conductor size: 6 mm²
- Maximum conductor side: 10 mm²
- Stripping length for power supply cables: 18 mm

- The power supply to the device must remain switched off throughout this step. Failure to comply with these instructions can lead to serious damage to people and property, including death.
The lower part of the device body has 2 side cable entries which are closed with protective caps to prevent dust or moisture from entering during shipment.

The following diagram shows how to electrically connect the device in three-phase or single-phase systems. 
In the event of multiple installations, we recommend allowing for phase rotation.
Three phase installation
In the case of three-phase installation, follow the steps below:
- Loosen the left-hand box sheath (P) and insert the Ø 25 mm corrugated sheath.
- Tighten the box sheath (P).
- Insert the power supply cables and connect phases, the neutral N and the earthing cable PE to the CN1 power supply terminal block, making sure that the entire stripped section of each cable is fully inserted into each terminal.

- To configure the maximum current phase unbalance, enable the load unbalance function through the Modbus Map. For further details on the dedicated manual on eSolutions website esolutionscharging.com
Single phase installation
In the case of single-phase installation, follow the steps below:
- Loosen the left-hand box sheath (P) and insert the Ø 25 mm corrugated sheath.
- Tighten the box sheath (P).
- Insert the power supply cables and connect phase, neutral N and earthing cable PE to the CN1 power supply terminal block, making sure that the entire stripped section of each cable is fully inserted into each terminal.

Connecting communication cables
eProWallbox Move is equipped with the following communication port:
- 2x RS485
- BLE
- Wi-Fi
To connect external devices to the wallbox through the RS485 communication ports, such as MID certified energy meters for billing pourposes or to enable additional functionalities like HEMS, or Dynamic Power Management using the Power Meter, follow the steps below and refer to the dedicated installation manuals available on the website esolutionscharging.com/
- Remove the protective cap from the right-hand box sheath (C) at the bottom of the device, loosen it and insert the corrugated sheath Ø 25 mm.
- Insert the communication cable, pulling to a length that reaches the corresponding communication port leaving some slack.
Holes that are not used must be closed using the protective caps provided to ensure the IP rating. - Insert the desired connectors into the chosen communication ports.
- Repeat the procedure for every communication cable you wish to install.
For details on the available ports, please refer to the “Port Description” section.
The power supply of the device must remain switched off throughout this phase. Failure to comply with these instructions can lead to serious damage to persons and property, including death.
Port description
The following table summarizes the ports available on the wallbox:

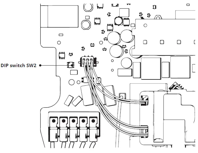
To install eProWallbox Move in IT systems, remove the plastic film from the DIP Switch SW2 and move both contacts to the ON position.
Setting the rotary selector
It is mandatory during the installation phase to set the required type of input power supply (single phase or three phase) and maximum power, according to the maximum power that can be supplied by the network, as per the following table.
- After changing the position of the Rotary Switch, restart the wallbox via the app to make the changes effective

| SW1 – Position | Single phase [kW] | Three phase [kW] |
| 0 | 3.7 | – |
| 1 | 4.6 | – |
| 2 | 5.1 | – |
| 3 | 5.8 | – |
| 4 | 6.0 | – |
| 5 | 7.4 | – |
| 6 | – | 4.3 |
| 7 | – | 6.9 |
| 8 | – | 9.0 |
| 9 | – | 11.0 |
| A | – | 13.1 |
| B | – | 15.2 |
| C | – | 17.3 |
| D | – | 19.3 |
| E | – | 20.7 |
| F | – | 22.0 |
LED behaviour
Once the device is powered up, the LED flashes in a sequence of colours. Then the status of the device can be easily monitored through the colours and behaviour of the frontal LED.

Shunt trip installation (optional)
Verify if in your country this feature is mandatory before installing the equipment.
eProWallbox Move is equipped with an AC normally open contact (CN3). To ensure correct selection of the shunt trip device, it is necessary to bear in mind that the contact on the eProWallbox Move has the following characteristics: rated 3A 250V, programmed to command a Shunt device in accordance with IEC 61851-1 standard. If a fault occurs in the internal switching device, this function is used to command the opening of the MCB (or similar safety device) placed upstream of the eProWallbox Move.
External devices used for this purpose can include:
- Motorized RCD
- Auxiliary contact of MCB
- Any other type of device compatible with this type of contact and with the above rating chosen by the installer.
The shunt trip device must be selected by the installer compatibly with the MCB device identified for correct installation.
- Couple the shunt trip device to the compatible MCB, following the instructions on the respective installation manuals
- Connect the signal cables of the shunt trip device to the CN3 “push-in” terminal of the electronic board.
Closing operations and power supply
- Check to ensure the power supply cables are connected properly, making sure that the respective positions of the phases and neutral in the CN1 terminal block respect the markings.
- Put the cover back on and secure with the screws removed previously (tightening torque 2.5 Nm).
- Put the external cover back on by pushing the rubber tab into the slot and applying light pressure.
- Once the device is closed, it can be powered up by turning on the upstream power system.
- Once powered up, the device carries out several cycles of internal component checks before going into idle status, ready for charging.
MAINTENANCE
Before carrying out any maintenance work, power off the device and disconnect it from the electric vehicle.
Only qualified personnel can open the eProWallbox Move and perform operations on the components.
eProWallbox Move does not contain components that the user can repair or maintain autonomously.
- A damaged or defective appliance must not be used in any way, but must instead immediately be replaced or repaired by qualified personnel in accordance with the manufacturer’s instructions.
Cleaning the outside of the device is always recommended when necessary, and should be carried out using a soft damp cloth with a mild detergent. When finished, wipe off any traces of moisture or liquid with a soft dry cloth.
Avoid strong jets of air or water as well as the use of soaps or detergents that are too harsh and corrosive for the materials of the product.
The owner is responsible for maintenance and conditions of the product. Maintenance must always be carried out in accordance with current regulations while ensuring that people, property and animals are protected during all maintenance operations.
PRODUCT DISPOSAL
This device is certified in compliance with European Directive 2012/19/UE for used electric and electronic equipment (Waste Electric and Electronic Equipment – WEEE). The guidelines set out framework regulations for returning and recycling used appliances in the EU.
Dispose of packaging in an environmentally friendly manner. The materials used for packaging this product can be recycled and must be disposed of in compliance with legislation in force in the country of use.
Further information about current disposal facilities can be obtained from local authorities.
ASSISTANCE
If you have any questions about the installation of eProWallbox Move, please contact your local authorised assistance centre through the appropriate Customer Support section at esolutionscharging.com / esolutions.free2move.com/low-power-charging-solutions/eProWallbox-Move/.
For any further information or requests for support, please contact Free2Move eSolutions S.p.A. through the relevant section of its website: esolutionscharging.com/contact-us/.
DISCLAIMER
Free2Move eSolutions S.p.A. will not be held responsible for any damage directly or indirectly caused to people, things or animals due to the failure to comply with all the provisions set out in this Manual, and the warnings regarding the installation and maintenance of eProWallbox Move.
Free2Move eSolutions S.p.A. reserves all rights to this document, the article and the illustrations it contains. Any whole or partial reproduction, disclosure to third parties or use of its contents is prohibited without the prior written consent of Free2Move eSolutions S.p.A.
Any information in this manual may be changed without prior notice and does not represent any obligation on the part of the manufacturer. Images in this manual are for illustrative purposes only and might differ from the delivered product.
Registered office
Free2Move eSolutions S.p.A.
Piazzale Lodi, 3
20137 Milan – Italy
V.03.2022
























