
FS3.5 ELLIPTICAL
OWNER’S MANUAL
PLEASE CAREFULLY READ THIS ENTIRE MANUAL BEFORE OPERATING YOUR NEW ELLIPTICAL
Congratulations On Your New Elliptical and Welcome to the XTERRA Fitness Family!
Thank you for your purchase of this quality elliptical from XTERRA Fitness. Your new elliptical has been manufactured by one of the leading fitness manufacturers in the world. XTERRA Fitness will do all we can to make your ownership experience as pleasant as possible for many years to come. If you have questions, or if parts are missing or damaged, or you require customer service, call (870) 336-4286. Please have your model number and serial number handy when you call.
Please take a moment to record where you purchased your machine, as well as the date of purchase for future reference. We appreciate your confidence in XTERRA Fitness and we will always remember that you are the reason that we are in business. Please complete and mail your registration card today and enjoy your new elliptical.
Yours in Health, XTERRA Fitness
ATTENTION
THIS ELLIPTICAL IS INTENDED FOR RESIDENTIAL USE ONLY AND IS WARRANTED FOR THE APPLICATION. ANY OTHER APPLICATION VOIDS THIS WARRANTY IN ITS ENTIRETY.
FS3.5_20140715
Product Registration
Purchase Location ———————————–
Purchase Date —————————————
Record Your Serial Number
Please record the Serial Number of this fitness product in the space provided below.
Serial Number ————————————-
Register Your Purchase
The self-addressed product registration card must be completed in full and returned to XTERRA Fitness. You can also go to www.xterrafitness.com/warrantyreg.html to register online.
Power
This product uses an external power supply. The power supply must be plugged into the power jack, located on the front of the unit near the stabilizer tube. Next, plug the power supply into the appropriate wall outlet. When not in use, it is recommended to unplug the power supply from the wall outlet.
IMPORTANT: If the product has been exposed to cold temperatures, allow the product to sit at room temperature to warm up before plugging in the power supply. Failure to do so may result in damage to the display or electronic components.
IMPORTANT: Do not operate the product if the power supply, its plug, or its cord has been damaged.
Important Safety Instructions
When using an electrical appliance, basic precautions should always be followed, including the following:
Read all instructions before using this appliance.
DANGER – To reduce the risk of electric shock:
- Always unplug this appliance from the electrical outlet immediately after using and before cleaning.
WARNING – To reduce the risk of burns, fire electric shock, or injury to persons:
- An appliance should never be left unattended when plugged in. Unplug from outlet when not in use, and before putting on or taking off parts.
- Do not operate under a blanket or pillow. Excessive heating can occur and cause fire, electric shock, or injury to persons.
- Close supervision is necessary when this appliance is used by, on, or near children, invalids, or disabled persons.
- Use this appliance only for its intended use as described in this manual. Do not use attachments not recommended by the manufacturer.
- Never operate this appliance if it has a damaged cord or plug if it is not working properly if it has been dropped or damaged, or dropped into water. Return the appliance to a service center for examination and repair.
- Do not carry this appliance by supply cord or use cord as a handle.
- Keep the cord away from heated surfaces.
- Never operate the appliance with the air openings blocked. Keep the air openings free of lint, hair, and the like.
- Never drop or insert any object into any opening.
- Do not use outdoors.
- Do not operate where aerosol (spray) products are being used or where oxygen is being administered.
- Connect this appliance to a properly grounded outlet only.
- The appliance is intended for household use.
Fitness Equipment Safety Instructions
- To disconnect, turn all controls to the off position, then remove the plug from the outlet.
- Do not operate equipment on deeply padded, plush, or shag carpet. Damage to both carpet and equipment may result.
- Before beginning, this or any exercise program, consult a physician. This is especially important for persons over the age of 35 or persons with pre-existing health conditions.
- Keep hands away from all moving parts.
- The pulse sensors are not medical devices. Various factors, including the user’s movement, may affect the
accuracy of heart rate readings. The pulse sensors are intended only as exercise aids in determining heart rate trends in general. - Do not attempt to use your equipment for any purpose other than for the purpose it is intended.
- Wear proper shoes. High heels, dress shoes, sandals, or bare feet are not suitable for use on your equipment. Quality athletic shoes are recommended to avoid leg fatigue.
Failure to follow all guidelines may compromise the effectiveness of the exercise experience, expose yourself (and possibly others) to injury, and reduce the longevity of the equipment.
SAVE THESE INSTRUCTIONS – THINK SAFETY!
CAUTION!! Please be careful when unpacking the carton.
FS3.5 Assembly Pack Checklist
Hardware Step 1

Hardware Step 2

Hardware Step 3

Hardware Step 4
Assembly Tools

FS3.5 Assembly Instructions
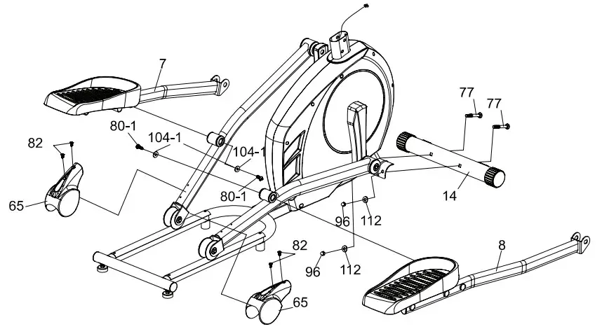
1 Front Stabilizer and Connecting Arms
Hardware Step 1
#77. 3/8″ x 3″ Carriage Bolt (2 pcs)
#80-1. 5/16″ x 15mm Button Head Socket Bolt (2 pcs)
#82. M5 x 15mm Phillips Head Screw (4 pc)
#96. 3/8″ Cap Nut (2 pcs)
#104-1. 8.7″ x 20 x 1.5T Flat Washer (2 pcs)
#112. 3.8″ x 23 x 1.5T Curved Washer (2pcs)
- Install the Front Stabilizer (14) on the front stabilizer holding plate at the bottom of the mainframe with the transportation wheels facing forward and secure them with two Carriage Bolts (77), two Curved Washers (112), and two Cap Nuts (96) by using the Wrench (115).
- Secure two Slide Wheel Covers (65) on the left and right pedal arm (5) with four Phillips Head Screws (82) by using Combination M5 Allen Wrench & Phillips Head Screw Driver (118).
- Insert the shaft on the left connecting arm (7) to the bushing on left pedal arm (5) and secure with one Button Head Socket Bolt (80-1) together with one Flat Washer (104-1) by using Combination M5 Allen Wrench & Phillips Head Screw Driver (118). Do it the same way for the right connecting arm (8) and right pedal arm (5).
2 Console Mast Assembly
Hardware Step 2
#80. 5/16″ x 15mm Button Head Socket Bolt (6 pcs)
#84. M5 x 10mm Phillips Head Screw (4 pcs)
#105. 5/16″ x 23 x 1.5T Flat Washer (4 pcs)
#113. 5/16″ x 23 x 1.5T Curved Washer (2 pcs)
- Use a cable tie to guide the 1150m/m Computer Cable (36) through Console Mast (11) and then pull out of the console holding plate, and Insert the console mast into the mainframe and secure with six Button Head Socket Bolts (80), six Split Washers (111), four Flat Washers (105) and two Curved Washers (113) by using Combination M5 Allen Wrench & Phillips Head Screw Driver (118).
- Take off the cable tie which ties the Computer Cable (36) and plug in the connectors of the Computer cable and the two Handpulse W/Cable Assemblies (40) on the Console. Secure the Console on the Console Assembly (35) four Phillips Head Screws (84) by using Combination M5 Allen Wrench & Phillips Head Screw Driver(118). Pay attention to Avoiding scratching the cables.
3Handle Bar Assembly
Hardware Step 3
#74. 5/16″ x 15mm Hex Head Bolt (2 pc)
#102. Ø8.7 x 20 x 1.5T Flat Washer (2 pcs)
- Install the Lower Handle Bar (L) (9) in the left shaft of Console Mast (11) and the Lower Handle Bar (R) (10) in the right shaft of Console Mast (11), and secure them with two Hex Head Bolts (74) and two Flat Washers (102) by using 12m/m Wrench (116).
- Release rod end shafts (18) which are on the left and right connecting arms. Connect the connecting arm with the lower handlebar and secure with rod end shafts (18) and the screw by using Combination M5 Allen Wrench & Phillips Head Screw Driver (118) and 12m/m_Wrench (116).
4 Conecting Arm Assembly
Hardware Step 4
#76. 5/16 x 1-3/4 Hex Head Bolt (6 pcs)
#87. Ø3.5 x 12mm Sheet Metal Screw (8 pcs) #91. 5/16 x 7T Nyloc Nut (6 pcs)
#113. 5/16″ x 23 x 1.5T Curved Washer (4 pcs)
- Connect the Swing Arm (L) (15) to the left Lower Handle Bar and connect the Swing Arm (R) (16) to the right Lower Handle Bar, and secure them with six Hex Head Bolts (76), four Curved Washers (113) and six Nyloc Nuts (91) by using 12m/m Wrench (116) 13.14m/m Wrench (115).
- Put the Front Handle Bar Cover (L) (69) and the Rear Handle Bar Cover (L) (69-1) together on the left Handle Bar and secure with three Sheet Metal Screws (87) by using Combination M5 Allen Wrench & Phillips Head Screw Driver (118). Repeat the same procedure for the right side.
- Connect the Console Mast Cover (L)(42) and the Console Mast Cover (R)(43) together on the Console Mast and secure with two Sheet Metal Screws (87) by using Combination M5 Allen Wrench & Phillips Head Screw Driver(118)
Operation of Your Console
FS3.5 Console

Key Functions
START / STOP:
- Starts & Pauses workouts.
- Starts body fat measurement.
- Holding the key for 3 seconds will reset all functions and values to zero.
DOWN: Decreases value of selected workout parameter: TIME, DISTANCE, etc. During the workout, it will decrease the resistance load.
UP: Increases value of selected workout parameter. During the workout, it will increase the resistance load.
ENTER: To input desired value or work out mode.
RECOVERY: Press to enter into heart rate Recovery function. Only works when the computer is receiving a heart rate value. Recovery is an indication of Fitness Level. It is a one-minute measurement taken immediately after an exercise session and provides a score from 1 to 6. A score of 1 is an indication of a high level of fitness and a score of 6 indicates the poor condition.
MODE: Press to switch the display from RPM to SPEED, ODO to DIST, WATT to CALORIES.
Functions
SPEED: Displays current training speed. The maximum speed is 99.9 KM/H or MILE/H.
RPM: Displays current pedal rotations per minute.
TIME: Accumulates workout time from 00:00 to 99:59. Or users can preset the target time desired.
DIST: Accumulates the workout distance from 0.00 up to 999.9 KM or Mile. Or users can preset the target distance they want to reach.
ODO: Displays the total accumulated distance from 0.0 to 999.9KM or Mile.
CAL: Accumulates the calories burned from 0 to 9999. Or users can preset the target Calories they want to burn.
WATT: Displays current watt.
HEART RATE: Displays the current heart rate in beats per minute.
TARGET H. R.: Users can preset their Target Heart Rate.
PROGRAM: There are 24 different programs to choose from for training.
LEVEL: The programs have 24 levels of work displayed in 8 bars in each column. Each column represents a 1-minute workout (Unless time is changed to a new value for count down) and each bar represents 3 levels of work.
Music: There is an audio-input port on the top of the monitor. Users can connect an MP3, smartphone, or another audio source to the port.
Workout Selection
After power-up, use the UP / DOWN keys to select a workout program then press ENTER. There are 7 basic workout programs: Manual, Pre-Programs, Watt Program, Body Fat Program, Target Heart Rate program, Heart Rate Control Program, and User Program.
Workout Parameter
(TIME/DISTANCE/CALORIES/WATT/TARGET HEART RATE)
Setting Workout Parameters
After selecting desired workout program (Manual, Pre-set Programs, Watt Program, Target Heart Rate, Heart Rate Control, and User Program) you may pre-set several workout parameters for desired results.
Note: Some parameters are not adjustable in certain programs. Time and Distance can not be set up in the same workout.
Once a program has been selected pressing ENTER will make the “Time” parameter flash. Using UP / DOWN KEY you may set the desired time value. Press ENTER KEY to the input value. The flashing prompt will move to the next parameter. Continue use of UP / DOWN KEY. Press START / STOP to start the workout.
More About Workout Parameters
| Parameter | Setting Range | Default Value | Increment /Decrement | Description |
| Time | 0:00 – 99:00 | 00:00 | ± 1:00 | 1. When the display is 0:00, Time will count up. 2. When Time is 1:00 – 99:00, it will count down to 0:00. |
| Distance | 0.00 – 999.0 | 0.00 | ± 1.0 | 1. When the display is 0.00, the Distance will count up. 2. When Distance is 1.0 -990.0, it will count down to 0.00. |
| Calories | 0 – 9995 | 0 | ± 5 | 1. When the display is 0, Calories will count up. 2. When Calories is 5 – 9995, it will count down to 0. |
| Watt | 40-250 | 100 | + 5 | Users can set watt value only in the Watt control program. |
| Age | 10-99 | 30 | + 1 | Target Heart Rate will be based on Age. When heart rate exceeds Target Heart Rate, the number of heart rates will flash. |
| Pulse | 60-220 | 90 | + 1 | Setting Parameters for Target Heart Rate. |
Program Operation
Manual Program
Setting Parameters for the Manual Program
Select Manual using UP / DOWN KEY then press the ENTER KEY. The first parameter, “Time” will flash so the value can be adjusted using UP / DOWN KEY. Press ENTER KEY to save value & move to the next parameter to be adjusted. **(If the user sets up the target time to workout then the next parameter of Distance can not be adjusted) Continue through all desired parameters, pressing START / STOP to start the workout.
Note: When any one of the workout parameters counts down to zero the console emits a beep sound and the workout stops automatically. Press START KEY to continue the workout to reach the unfinished workout goals set.
Pre-Set Programs
There are 12 pre-set program profiles ready for use ROLLING, VALLEY, FAT BURN, RAMP, STEPS, OBSTACLE, INTERVALS, PLATEAU, CLIMBING, OFF-ROAD, HILL, FASTRAK. All program profiles have 24 levels of resistance. See page 13 to view the profiles.
Setting Parameters for Pre-Set Programs
Select one of the pre-set programs using UP / DOWN KEY then press ENTER KEY. The first parameter, “Time” will flash indicating the value can be adjusted using UP / DOWN KEY. Press ENTER KEY to save value & move to the next parameter to be adjusted. Continue through all desired parameters, pressing START / STOP to start the workout.
Workout in any Pre-Set Program
Users can exercise at different levels of intensity at different intervals as the profiles flash. Users may adjust the resistance level using the UP / DOWN keys during the workout.
Note: If the user sets up the target time to workout then the next parameter of Distance can not be adjusted. When any one of the workout parameters counts down to zero the console emits a beep sound and the workout stops automatically. Press START KEY to continue the workout to reach the unfinished workout goals set.
Watt Control Program
Setting Parameters for Watt Control Programs
Select Watt Control Program using UP / DOWN KEY then press ENTER KEY. The first parameter “Time” will flash indicating the value can be adjusted using UP / DOWN KEY. Press ENTER KEY to save value & move to the next parameter to be adjusted. **(If the user sets up the target time to workout, then the next parameter of Distance can not be adjusted) Continue through all desired parameters, pressing START / STOP to start the workout.
Note: When any one of the workout parameters counts down to zero the console emits a beep sound and the workout stops automatically. Press START KEY to continue the workout to reach the unfinished workout goals set. The computer will adjust the resistance load automatically depending on the speed to maintain a constant watt value. Users can use the UP / DOWN key to adjust the watt value during a workout.
Pre-Set Programs (P2 – P13)
Body Fat Measurement

Setting Data for Body Fat
- Select Body Fat using UP / DOWN KEY then press ENTER.
- “Male” will flash indicating the Gender can be adjusted using UP / DOWN KEY. Press ENTER to save the gender setting & move to the next setting.
- A Height of “175” will flash indicating the Height can be adjusted using UP / DOWN KEY. Press ENTER KEY
to save value & move to the next setting. - A Weight of “75” will flash indicating the Weight can be adjusted using the UP / DOWN KEY. Press ENTER
KEY to save vale & move to the next setting. - An Age of “30” will flash indicating the Age can be adjusted using UP / DOWN KEY. Press ENTER to save the value.
- Press START / STOP to start measurement. Please be sure to grasp the hand pulse grips. After 15 seconds the display will show Body Fat %, BMR, BMI & BODY TYPE.
- Press START / STOP KEY to return the main Display.
Body Types: There are 9 possible body types according to the FAT% calculated. Type 1 is from 5% to 9%. Type 2 is from 10% to 14%. Type 3 is from 15% to 19%. Type 4 is from 20% to 24%. Type 5 is from 25% to 29%. Type 6 is from 30% to 34%. Type 7 is from 35% to 39%. Type 8 is from 40% to 44%. Type 9 is from 45% to 50%.
BMR: Basal Metabolic Rate is the amount of daily energy expended at rest.
BMI: Body Mass Index is a general body type based on height and weight.
User Program
Four User Programs allow the user to create their own personal programs.
Setting Parameters for User Programs
Select “User” using UP / DOWN KEY then press ENTER KEY. The first parameter, “Time” will flash indicating the value can be adjusted using UP / DOWN KEY. Press ENTER KEY to save value & move to the next parameter to be adjusted. **(If the user sets up the target time to workout, then the next parameter of Distance can not be adjusted) Continue through all desired parameters.
After completing the parameter setup, row 1 of the profile will be flashing. Use UP / DOWN KEY to adjust level then press ENTER until finished (10 times total). Press START / STOP to start the workout.
Note: When any one of the workout parameters counts down to zero the console emits a beep sound and the workout stops automatically. Press START KEY to continue the workout to reach the unfinished workout goals set.
Heart Rate Training Programs
There are two ways to communicate your heart rate to the console. Use the contact heart rate grips and keep a consistent and firm grip, or buy an optional heart rate strap that transmits your pulse wirelessly to the console. The heart rate strap is a more accurate measurement of your actual heart rate.
Wearing The Chest Strap
- Attach the transmitter to the elastic strap using the locking parts.
- Adjust the strap as tightly as possible as long as the strap is not too tight to remain comfortable.
- Position the transmitter with the logo centered in the middle of your torso
facing away from your chest (some people must position the transmitter slightly left of center). Attach the final end of the elastic strap by inserting the round end and, using the locking parts, secure the transmitter and strap around your chest.
- Position the transmitter directly below the pectoral muscles.
- Sweat is the best conductor to measure very minute heartbeat electrical signals.
However, plain water can also be used to pre-wet the electrodes (2 ribbed oval areas on the reverse side of the belt and both sides of the transmitter). It’s also recommended that you wear the transmitter strap a few minutes before your workout. Some users, because of body chemistry, have a more difficult time achieving a strong, steady signal at the beginning. After “warming up”, this problem lessens. As noted, wearing clothing over the transmitter/strap doesn’t affect performance. - Your workout must be within range – the distance between transmitter/receiver to achieve a strong steady signal. The length of the range may vary somewhat but generally stay close enough to the console to maintain good, strong, reliable readings. Wearing the transmitter directly on bare skin assures you of proper operation. If you wish, you may wear the transmitter over a shirt. To do so, wet the areas of the shirt that the electrodes will rest upon.
Note: The transmitter is automatically activated when it detects activity from the user’s heart. Additionally, it automatically deactivates when it does not receive any activity. Although the transmitter is water-resistant, moisture can have the effect of creating false signals, so you should take precautions to completely dry the transmitter after use to prolong battery life (estimated transmitter battery life is 2500 hours). The replacement battery is Panasonic CR2032.
Erratic Operation
Caution! Do not use this treadmill for Heart Rate programs unless a steady, solid Actual Heart Rate value is being displayed. High, wild, random numbers being displayed indicate a problem.
Areas to look for interference that may cause erratic heart rate:
- Microwave ovens, TVs, small appliances, etc.
- Fluorescent lights.
- Some household security systems.
- Perimeter fence for a pet.
- Some people have problems with the transmitter picking up a signal from their skin. If you have problems try wearing the transmitter upside down. Normally the transmitter will be oriented so the XTERRA Fitness logo is right-side up.
- The antenna that picks up your heart rate is very sensitive. If there is an outside noise source, turning the whole machine 90 degrees may de-tune the interference.
- Another Individual wearing a transmitter within 3′ of your machine’s console.
If you continue to experience problems contact your us.
Target Heart Rate Program

Setting Parameters for the Target Heart Rate Program
Select Target HR using UP / DOWN KEY then press ENTER KEY. The first parameter “Time” will flash indicating the value can be adjusted using UP / DOWN KEY. Press ENTER KEY to save value & move to the next parameter to be adjusted. **(If the user sets up the target time to workout, then the next parameter of Distance can not be adjusted) Continue through all desired parameters, pressing START / STOP to start the workout.
Note: If your Pulse measurement is above or below (± 5) the TARGET HR setting, the computer will adjust the resistance load automatically; it will check approximately every 10 seconds. If the heart rate signal disappears, the computer will keep the resistance load constant for 60 seconds then it will decrease the resistance load 1 level every 10s.
When any one of the workout parameters counts down to zero the console emits a beep sound and the workout stops automatically. Press START KEY to continue the workout to reach the unfinished workout goals set.
Heart Rate Control Program

There are 4 selections for target pulse:
HRC- 55% TARGET H.R= 55% of (220-AGE)
HRC – 65% TARGET H.R= 65% of (220-AGE)
HRC – 75% TARGET H.R= 75% of (220-AGE)
HRC – 85% TARGET H.R= 85% of (220-AGE)
Setting Parameters for Heart Rate Control Programs
Select one of the Heart Rate Control Programs using UP / DOWN KEY then press ENTER KEY. The first parameter “Time” will flash indicating the value can be adjusted using UP / DOWN KEY. Press ENTER KEY to save value & move to the next parameter to be adjusted. **(If user sets up the target time to workout, then the next parameter of Distance can not be adjusted) Continue through all desired parameters, pressing START / STOP to start the workout.
Note: If your Pulse measurement is above or below (± 5) the Target HR setting, the computer will adjust the resistance load automatically; it will check approximately every 10 seconds. If the heart rate signal disappears, the computer will keep the resistance load constant for 60 seconds then it will decrease the resistance load 1 level every 10 seconds.
When any one of the workout parameters counts down to zero the console emits a beep sound and the workout stops automatically. Press START KEY to continue the workout to reach the unfinished workout goals set.
Manufacturer’s Limited Warranty
Effective August 1, 2012 – ELLIPTICAL LIMITED WARRANTY
XTERRA Fitness Inc. warrants all its home use elliptical parts for a period of time listed below, from the date of retail sale, as determined by a sales receipt or in the absence of a sales receipt, eighteen (18) months from the original factory shipping date. XTERRA Fitness’s responsibilities include providing new or remanufactured parts, at XTERRA Fitness’s option, and technical support to our independent dealers and service organizations. In the absence of a dealer or service organization, these warranties will be administered by XTERRA Fitness directly to a consumer. The warranty period applies to the following components:
Home Use Limited Warranty
| Frame | Parts |
| 5 Years | 1 Year |
NORMAL RESPONSIBILITIES OF THE CONSUMER
This warranty applies only to products in ordinary household use. The consumer is responsible for the items listed below:
- The warranty registration card must be completed and returned to the address listed on the card within 10 days of the original purchase
to validate the manufacturer’s limited warranty or register online at http://www.xterrafitness.com/warrantyreg.html. - Proper use of the elliptical in accordance with the instructions provided in this manual, including maintenance.
- Proper connection to a power supply of sufficient voltage, replacement of blown fuses, repair of loose connections or defects in house/
facility wiring. - Expenses for making the elliptical accessible for servicing, including any item that was not part of the elliptical at the time it was shipped
from the factory. - Damages to the elliptical finish during shipping, installation, or following installation.
EXCLUSIONS
This warranty does not cover the following:
- CONSEQUENTIAL, COLLATERAL, OR INCIDENTAL DAMAGES SUCH AS PROPERTY DAMAGE AND INCIDENTAL EXPENSES
RESULTING FROM ANY BREACH OF THIS WRITTEN OR ANY IMPLIED WARRANTY. Note: Some states do not allow the exclusion or limitation of incidental or consequential damages, so this limitation or exclusion may not apply to you. - Damages caused by services performed by persons other than authorized XTERRA Fitness service companies, use of parts other than original XTERRA Fitness parts, or external causes such as alterations, modifications, abuse, misuse, accident, improper maintenance, inadequate power supply, or acts of God.
- Products with original serial numbers that have been removed or altered.
- Products that have been; sold, transferred, bartered, or given to a third party.
- Products that are used as store display models.
- Products that do not have a warranty registration on file at XTERRA Fitness, Inc. XTERRA Fitness reserves the right to request proof of purchase if no warranty record exists for the product.
- Product used in any environment other than a residential setting.
- THIS WARRANTY IS EXPRESSLY IN LIEU OF ALL OTHER WARRANTIES EXPRESSED OR IMPLIED, INCLUDING THE WARRANTIES OF MERCHANTABILITY AND/OR FITNESS FOR A PARTICULAR PURPOSE.
SERVICE
Keep your bill of sale. Twelve (12) months from the date on the bill of sale or eighteen (18) months from the date of factory shipping as determined by the serial number establishes the warranty period should service be required. If service is performed, it is in your best interest to obtain and keep all receipts. This written warranty gives you specific legal rights. You may also have other rights that vary from state to state. Service under this warranty must be obtained by following these steps, in order:
- Contact your selling authorized XTERRA Fitness dealer. OR
- Contact your local authorized XTERRA Fitness service organization.
- If there is a question as to where to obtain service, contact our service department at (870) 336-4286.
- XTERRA Fitness’s obligation under this warranty is limited to repairing or replacing, at XTERRA Fitness’s option, the product through
one of our authorized service centers. All repairs must be preauthorized by XTERRA Fitness. If the product is shipped to a service center freight charges to and from the service center will be the customer’s responsibility. For replacement parts shipped while the product is under warranty, the customer will be responsible for shipping and handling charges. The owner is responsible for adequate packaging upon return to XTERRA Fitness. XTERRA Fitness is not responsible for damages in shipping. Make all freight damage claims with the appropriate freight carrier. DO NOT SHIP ANY UNIT TO OUR FACTORY WITHOUT A RETURN AUTHORIZATION NUMBER. All units arriving without a return authorization number will be refused. - For any further information, or to contact our service department by mail, send your correspondence to:
XTERRA Fitness, Inc
. P.O. Box 2037
Jonesboro, AR 72402-2037
Product features or specifications as described or illustrated are subject to change without notice. All warranties are made by XTERRA Fitness, Inc. This warranty applies only in the 48 contiguous United States.
NOTE: This does not apply to Alaska or Hawaii.
3000 Nestle Road Jonesboro, AR 72401
Phone:870-336-4286
Fax:870-935-7611
www.xterrafitness.com
©2014 All RIghts Reserved.
FS3.5 Owner’s Manual

However, plain water can also be used to pre-wet the electrodes (2 ribbed oval areas on the reverse side of the belt and both sides of the transmitter). It’s also recommended that you wear the transmitter strap a few minutes before your workout. Some users, because of body chemistry, have a more difficult time achieving a strong, steady signal at the beginning. After “warming up”, this problem lessens. As noted, wearing clothing over the transmitter/strap doesn’t affect performance.














