MORRIS W58243BIFF Built-In Fridge Freezer User Manual
Thank you for choosing this product.
This user manual contains important information on safety and instructions intended to assist you in the operation and maintenance of your appliance. Please take the time to read this user manual before using your appliance and keep this book for future reference.
SAFETY INSTRUCTIONS
General Safety Warnings
Read this user manual carefully.
WARNING: Keep ventilation openings, in the appliance enclosure or in the built-in structure, clear of obstruction.
WARNING: Do not use mechanical devices or other means to accelerate the defrosting process, other than those recommended by the manufacturer.
WARNING: Do not use electrical appliances inside the food storage compartments of the appliance, unless they are of the type recommended by the manufacturer.
WARNING: Do not damage the refrigerant circuit.
WARNING: When positioning the appliance, ensure the supply cord is not trapped or damaged.
WARNING: Do not locate multiple portable socketoutlets or portable power supplies at the rear of the appliance.
WARNING: In order to avoid any hazards resulting from the instability of the appliance, it must be fixed in accordance with the instructions.
- If your appliance uses R600a as a refrigerant (this information will be provided on the label of the cooler) you should take care during transportation and installation to prevent the cooler elements from being damaged. R600a is an environmentally friendly and natural gas, but it is explosive. In the event of a leak due to damage of the cooler elements, move your fridge away from open flames or heat sources and ventilate the room where the appliance is located for a few minutes.
- While carrying and positioning the fridge, do not damage the cooler gas circuit.
- Do not store explosive substances such as aerosol cans with a flammable propellant in this appliance
- This appliance is intended to be used in household and domestic applications such as:
- staff kitchen areas in shops, offices and ot working environments.
- farm houses and by clients in hotels, motels and other residential type environments.
- bed and breakfast type environments;
- catering and similar non-retail applications.
- If the socket does not match the refrigerator plug, it must be replaced by the manufacturer, a service agent or similarly qualified persons in order to avoi a hazard.
- A specially grounded plug has been connected to the power cable of your refrigerator. This plug should be used with a specially grounded socket of 13 amperes. If there is no such socket in your house, please have one installed by an authorised electrician.
- This appliance can be used by children aged from 8 years and above and persons with reduced physical, sensory or mental capabilities or lack of experience and knowledge if they have been given supervision or instruction concerning use of the appliance in a safe way and understand the hazards involved. Children shall not play with the appliance. Cleaning and user maintenance shall not be made by children without supervision.
- Children aged from 3 to 8 years are allowed to load and unload refrigerating appliances. Children are not expected to perform cleaning or user maintenance of the appliance, very young children (0-3 years old) are not expected to use appliances, young children (3-8 years old) are not expected to use appliances safely unless continuous supervision is given, older children (8-14 years old) and vulnerable people can use appliances safely after they have been given appropriate supervision or instruction concerning use of the appliance. Very vulnerable people are not expected to use appliances safely unless continuous supervision is given.
- If the supply cord is damaged, it must be replaced by the manufacturer, an authorised service agent or similar qualified persons, in order to avoid a hazard.
- This appliance is not intended for use at altitudes exceeding 2000 m.
To avoid contamination of food, please respect the following instructions:
- Opening the door for long periods can cause a significant increase of the temperature in the compartments of the appliance.
- Clean regularly surfaces that can come in contact with food and accessible drainage systems
- Store raw meat and fish in suitable containers in th refrigerator, so that it is not in contact with or drip onto other food.
- Two-star frozen-food compartments are suitable for storing pre-frozen food, storing or making ice cream and making ice cubes.
- One-, two- and three-star compartments are not suitable for the freezing of fresh food.
- If the refrigerating appliance is left empty for long periods, switch off, defrost, clean, dr , and leave the door open to prevent mould developing within the appliance.
Electrical information (For UK type plug)
Warning! This appliance must be earthed.
The mains lead of this appliance has been fitted with a specially earthed plug
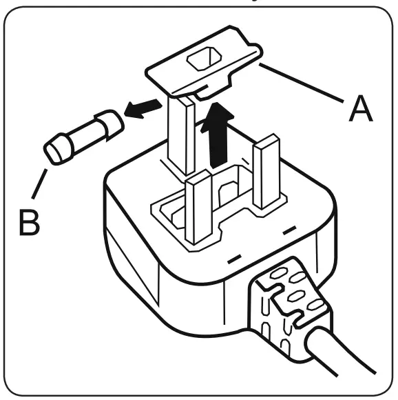
![]()
Important: Do not use the appliance without the fuse cover in position. Should the fuse need to be replaced, it must be replaced with a 13A fuse, ASTA approved to BS1362.
The plug must be used with a specially earthed socket of 13 amperes. If there is no such socket in your house, please have one installed by an authorised electrician.
The mains lead of this appliance has been fitted with a BS 1363 13A fused plug. To change a fuse in this type of plug, follow the steps below:
- Remove the fuse cover and fuse.
- Fit replacement 13A fuse, ASTA approved to BS 1362 type, into the fuse cover.
- Replace fuse cover.
During Usage
- Do not connect your fridge freezer to the mains electricity supply using an extension lead.
- Do not use damaged, torn or old plugs.
- Do not pull, bend or damage the cord.
- Do not use plug adapter.
- This appliance is designed for use by adults. Do not allow children to play with the appliance or hang off the doo .
- Never touch the power cord/plug with wet hands. This may cause a short circuit or electric shock.
- Do not place glass bottles or cans in the ice-making compartment as they will burst when the contents freeze.
- Do not place explosive or flammable material in your fridge. Place drinks with hig alcohol content vertically in the fridge compartment and make sure their tops are tightly closed.
- When removing ice from the ice-making compartment, do not touch it. Ice may cause frost burns and/or cuts.
- Do not touch frozen goods with wet hands. Do not eat ice cream or ice cubes immediately after they are removed from the ice-making compartment.
- Do not re-freeze thawed frozen food. This may cause health issues such as food poisoning.
Installation warnings
Before using your fridge freezer for the first time, please pay attention to the following points:
- The operating voltage for your fridge freezer is 220-240 V at 50Hz.
- The plug must be accessible after installation.
- Your fridge freezer may have an odour when it is operated for the first time. This is normal and the odour will fade when your fridge freezer starts to cool.
- Before connecting your fridge freezer, ensure that the information on the data plate (voltage and connected load) matches that of the mains electricity supply. If in doubt, consult a qualifie electrician.
- Insert the plug into a socket with an efficient ground connection. If the sock has no ground contact or the plug does not match, we recommend you consult a qualified electrician for assistance
- The appliance must be connected with a properly installed fused socket.
The power supply (AC) and voltage at the operating point must match with the details on the name plate of the appliance (the name plate is located on the inside left of the appliance). - We do not accept responsibility for any damages that occur due to ungrounded usage.
- Place your fridge freezer where it will not be exposed to direct sunlight.
- Your fridge freezer must never be used outdoors or exposed to rain.
- Your appliance must be at least 50 cm away from stoves, gas ovens and heater cores, and at least 5 cm away from electrical ovens.
- If your fridge freezer is placed next to a deep freezer, there must be at least 2 cm between them to prevent humidity forming on the outer surface.
- Do not cover the body or top of fridge freezer with lace. This will affect the performance of your fridge freezer.
- Clearance of at least 150 mm is required at the top of your appliance. Do not place anything on top of your appliance.
- Do not place heavy items on the appliance.
- Clean the appliance thoroughly before use (see Cleaning and Maintenance).
- Before using your fridge freezer, wipe all parts with a solution of warm water and a teaspoon of sodium bicarbonate. Then, rinse with clean water and dry. Return all parts to the fridge freezer after cleaning.
- The installation procedure into a kitchen unit is given in the installation manual. This product is intended to be used in proper kitchen units only.
During Usage
- Do not connect your fridge freezer to the mains electricity supply using an extension lead.
- Do not use damaged, torn or old plugs.
- Do not pull, bend or damage the cord.
- Do not use plug adapter.
- This appliance is designed for use by adults. Do not allow children to play with the appliance or hang off the door.
- Never touch the power cord/plug with wet hands. This may cause a short circuit or electric shock.
- Do not place glass bottles or cans in the ice-making compartment as they will burst when the contents freeze.
- Do not place explosive or flammabl material in your fridge. Place drinks with high alcohol content vertically in the fridge compartment and make sure their tops are tightly closed.
- When removing ice from the ice-making compartment, do not touch it. Ice may cause frost burns and/or cuts.
- Do not touch frozen goods with wet hands. Do not eat ice-cream or ice cubes immediately after they are removed from the ice-making compartment.
- Do not re-freeze thawed frozen food. This may cause health issues such as food poisoning.
Old and Out-of-order Fridges
- If your old fridge or freezer has a lock, break or remove the lock before discarding it, because children may get trapped inside it and may cause an accident.
- Old fridges and freezers contain isolation material and refrigerant with CFC. Therefore, take care not to harm environment when you are discarding your old fridges.
CE Declaration of conformity
We declare that our products meet the applicable European Directives, Decisions and Regulations and the requirements listed in the standards referenced.
Disposal of your old appliance
The symbol on the product or on its packaging indicates that this product may not be treated as household waste. Instead it shall be handed over to the applicable collection point for the recycling of electrical and electronic equipment. By ensuring this product is disposed of correctly, you will help prevent potential negative consequences for the environment and human health, which could otherwise be caused by inappropriate waste handling of this product. For more detailed information about recycling of this product, please contact your local city office, you household waste disposal service or the shop where you purchased the product.
Packaging and the Environment
Packaging materials protect your machine from damage that may occur during transportation.
The packaging materials are environmentally friendly as they are recyclable. The use of recycled material reduces raw material consumption and therefore decreases waste production.
Notes
- Please read the instruction manual carefully before installing and using your appliance. We are not responsible for the damage occurred due to misuse.
- Follow all instructions on your appliance and instruction manual, and keep this manual in a safe place to resolve the problems that may occur in the future.
- This appliance is produced to be used in homes and it can only be used in domestic environments and for the specified purposes. It is not suitable for commercial or common use. Such use will cause the guarantee of the appliance to be cancelled and our company will not be responsible for any losses incurred.
- This appliance is produced to be used in houses and it is only suitable for cooling / storing foods. It is not suitable for commercial or common use and/or for storing substances except for food. Our company is not responsible for any losses incurred by inappropriate usage of the appliance.
DESCRIPTION OF THE APPLIANCE


This presentation is only for information about the parts of the appliance. Parts may vary according to the appliance model.
- A) Refrigerator compartment
- B) Freezer compartment
- 1) Thermostat knob
- 2) Lamp cover
- 3) Turbo fan *
- 4) Wine rack *
- 5) Refrigerator shelves
- 6) Crisper cover
- 7) Crisper
- 8) Freezer upper flap / Drawe
- 9) Freezer drawers
- 10) Ice box tray
- 11) Freezer glass shelves*
- 12) Bottle shelf
- 13) Adjustable door shelf * / Door shelf
- 14) Door shelves
- 15) Egg holder
* In some models
General notes:
Fresh Food Compartment (Fridge): Most efficient use of energy is ensured in th configuration with the drawers in the bottom part of the appliance, and shelves evenly distributed, position of door bins does not affect energy consumption
Freezer Compartment (Freezer): Most Efficient use of energy is ensured in the configuration with the drawers and bins are on stock position.
Dimensions

USING THE APPLIANCE
Information on the Frost Free Technology
The Frost Free refrigerators have a different operating system to static refrigerators.
In normal (static) fridges, the humidity entering the fridge due to opening the door, and the humidity inherent in the food, causes frost build-up in the freezer compartment. To defrost the frost and ice in the freezer compartment, you are required to periodically switch off the fridge, place the frozen food in a separate cooled container, then remove the ice gathered in the freezer compartment.
The situation is completely different in No-frost fridges. A built-in fan blows dry and cold air evenly throughout the cooler and freezer compartments. The cold air disperses uniformly between the shelves, ensuring all your food is cooled equally, thus preventing humidity and frost build-up. Therefore, your No-frost fridge allows ease of use, in addition to its huge capacity and stylish appearance.
Thermostat Setting
The thermostat automatically regulates the temperature inside the cooler and freezer compartments. Refrigerator temperatures can be obtained by rotating the knob to higher numbers; 1 to 3, 1 to 5 or SF (Maximum numbers on the thermostat depends on your product.)
Thermostat settings:
1 – 2 : For short-term storage of food in the freezer compartment.
3 – 4 : For long-term storage of food in the freezer compartment.
5 – MAX : For freezing fresh food. The appliance will work longer. Once the food is fully frozen, reset the thermostat to its original position.
Temperature Settings Warnings
- Your appliance is designed to operate in the ambient temperature ranges stated in the standards, according to the climate class stated in the information label. It is not recommended that your fridge is operated in the environments which are outside of the stated temperature ranges. This will reduce the cooling efficiency the appliance.
- Temperature adjustments should be made according to the frequency of door openings, the quantity of food kept inside the appliance and the ambient temperature in the location of your appliance.
- When the appliance is first switched on allow it to run for 24 hours in order to reach operating temperature. During this time, do not open the door and do not keep a large quantity of food inside.
- A 5 minute delay function is applied to prevent damage to the compressor of your appliance when connecting or disconnecting to mains, or when an energy breakdown occurs. Your appliance will begin to operate normally after 5 minutes.
Climate class and meaning:
T (tropical): This refrigerating appliance is intended to be used at ambient temperatures ranging from 16 °C to 43 °C.
ST (subtropical): This refrigerating appliance is intended to be used at ambient temperatures ranging from 16 °C to 38 °C.
N (temperate): This refrigerating appliance is intended to be used at ambient temperatures ranging from 16 °C to 32 °C.
SN (extended temperate): This refrigerating appliance is intended to be used at ambient temperatures ranging from 10 °C to 32 °C.
The Turbo Fan (if available)
Do not block the air inlet and outlet openings when storing food, otherwise air circulation provided by the turbo fan will be impaired.
Accessories
Visual and text descriptions in the accessories section may vary according to the model of your appliance.
Ice Tray (In some models)
- Fill the ice tray with water and place in the freezer compartment.
- After the water has completely frozen, you can twist the tray as shown below to remove the ice cubes.

The Bottle Holder (In some models)
Use the bottle holder to prevent bottles from slipping or falling over.
The Fresh Dial (In some models)

If the crisper is full, the fresh dial located in front of the crisper should be opened. This allows the air in the crisper and the humidity rate to be controlled, to increase the life of food within.
The dial, located behind the shelf, must be opened if any condensation is seen on the glass shelf.
Adjustable Door Shelf (In some models)
Six different height adjustments can be made to provide storage areas that you need by adjustable door shelf. To change the position of adjustable door shelf ;
Hold the bottom of the shelf and pull the buttons on the side of the door shelf direction of arrow. (Fig.1)
Position door shelf the height you need by moving up and down. After you get the position that you want the door shelf, release the buttons on the side of the door shelf (Fig.2).
Before releasing the door shelf, move up down and make sure the door shelf is fixed.
Note: Before moving door shelf is loaded, you must hold the shelf by supporting the bottom. Otherwise, door shelf could fall off the rails due to the weight. So damage may occur on the door shelf or rails.
Maxi-fresh preserver (If available)
Maxi Fresh Preserver technology helps to remove ethylene gas (a volatile organic compound released naturally from fresh foods) and unpleasant odors from the crisper.
In this way, food stays fresh for a longer time.
- Maxi Fresh Preserver must be cleaned once in a year. The filter should be waite for 2 hours at 65°C in a oven.
- To clean the filter, please remove the back cover of the filter box by pulling it i the direction of the arrow.

- The filter should not be washed wit water or any detergent.

Visual and text descriptions in the accessories section may vary according to the model of your appliance.
FOOD STORAGE
Refrigerator Compartment
- To reduce humidity and avoid the consequent formation of frost, always store liquids in sealed containers in the refrigerator. Frost tends to concentrate in the coldest parts of the evaporating liquid and, in time, your appliance will require more frequent defrosting.
- Cooked dishes must remain covered when they are kept in the fridge.Do not place warm foods in fridge.Place them when they are cool, otherwise the temperature/humidity inside the fridge will increases, reducing the fridge’s efficient.
- Make sure no items are in direct contact with the rear wall of the appliance as frost will develop and packaging will stick to it. Do not open the refrigerator door frequently.
- We recommend that meat and clean fist are loosely wrapped and stored on the glass shelf just above the vegetable bin where the air is cooler, as this provides the best storage conditions.
- Store loose fruit and vegetable items in the crisper containers.
- Storing fruit and vegetables separately helps prevent ethylene-sensitive vegetables (green leaves, broccoli, carrot, etc.) being affected by ethylene releaser fruits (banana, peach, apricot, fig etc.)
- Do not put wet vegetables into the refrigerator.
- Storage time for all food products depends on the initial quality of the food and an uninterrupted refrigeration cycle before refrigerator storage.
- Water leaking from meat may contaminate other products in the refrigerator. You should package meat products and clean any leakages on the shelves.
- Do not put food in front of the air flo passage.
- Consume packaged foods before the recommended expiry date.
Do not allow food to come into contact with the temperature sensor, which is located in the refrigerator compartment, in order to keep the refrigerator compartment at optimum temperature.
- For normal working conditions, it will be sufficient to adjust the temperature setting of your refrigerator to +4 °C.
- The temperature of the fridge compartment should be in the range of 0-8 °C, fresh foods below 0 °C are iced and rotted, bacterial load increases above 8 °C, and spoils.
- Do not put hot food in the refrigerator immediately, wait for the temperature to pass outside. Hot foods increase the degree of your refrigerator and cause food poisoning and unnecessary spoiling of the food.
- Meat, fish, etc. should be store in the chiller compartment of the food, and the vegetable compartment is preferred for vegetables. (if available)
- To prevent cross contamination, meat products and fruit vegetables are not stored together.
- Foods should be placed in the refrigerator in closed containers or covered to prevent moisture and odors.
The table below is a quick guide to show you the most efficient way to store the major food groups in your refrigerator compartment.
| Food | Maximum storage time | How and where to store |
| Vegetables and fruits | 1 week | Vegetable bin |
| Meat and fish | 2 – 3 days | Wrap in plastic foil, bags, or in a meat container and store on the glass shelf |
| Fresh cheese | 3 – 4 days | On the designated door shelf |
| Butter and margarine | 1 week | On the designated door shelf |
| Bottled products e.g. milk and yoghurt | Until the expiry date recommended by the producer | On the designated door shelf |
| Eggs | 1 month | On the designated egg shelf |
| Cooked food | 2 days | All shelves |
NOTE
Potatoes, onions and garlic should not be stored in the refrigerator.
Freezer Compartment
- The freezer is used for storing frozen food, freezing fresh food, and making ice cubes.
- Food in liquid form should be frozen in plastic cups and other food should be frozen in plastic folios or bags.For freezing fresh food; wrap and seal fresh food properly, that is the packaging should be air tight and shouldn’t leak. Special freezer bags, aluminum foil polythene bags and plastic containers are ideal.
- Do not store fresh food next to frozen food as it can thaw the frozen food.
- Before freezing fresh food, divide it into portions that can be consumed in one sitting.
- Consume thawed frozen food within a short period of time after defrosting
- Always follow the manufacturer’s instructions on food packaging when storing frozen food. If no information is provided food, should not be stored for more than 3 months from the date of purchase.
- When purchasing frozen food, make sure that it has been stored under appropriate conditions and that the packaging is not damaged.
- Frozen food should be transported in appropriate containers and placed in the freezer as soon as possible.
- Do not purchase frozen food if the packaging shows signs of humidity and abnormal swelling. It is probable that it has been stored at an unsuitable temperature and that the contents have deteriorated.
- The storage life of frozen food depends on the room temperature, the thermostat setting, how often the door is opened, the type of food, and the length of time required to transport the product from the shop to your home. Always follow the instructions printed on the packaging and never exceed the maximum storage life indicated.
- If the freezer door has been left open for a long time or not closed properly, frost will form and can prevent efficient a circulation. To resolve this, unplug the freezer and wait for it to defrost. Clean the freezer once it has fully defrosted.
- The freezer volume stated on the label is the volume without baskets, covers, and so on.
- Do not refreeze thawed food. It may pose a danger to your health and cause problems such as food poisoning.
NOTE: If you attempt to open the freezer door immediately after closing it, you will find that it will not open easil . This is normal. Once equilibrium has been reached, the door will open easily. - Use the fast freezing shelf to freeze home cooking (and any other food which needs to be frozen quickly) more quickly because of the freezing shelf’s greater freezing power. Fast freezing shelf is the bottom drawer of the freezer compartment.
- To use the maximum capacity of the freezer compartment, use the glass shelves for the upper and middle section, and use the lower basket for the bottom section.
The table below is a quick guide to show you the most efficient way t store the major food groups in your freezer compartment.
| Meat and fish | Preparation | Maximum storage time (months) |
| Steak | Wrap in foil | 6 – 8 |
| Lamb meat | Wrap in foil | 6 – 8 |
| Veal roast | Wrap in foil | 6 – 8 |
| Veal cubes | In small pieces | 6 – 8 |
| Lamb cubes | In pieces | 4 – 8 |
| Minced meat | In packaging without using spices | 1 – 3 |
| Giblets (pieces) | In pieces | 1 – 3 |
| Bologna sausage/salami | Should be kept packaged even if it has a membrane | 1 – 3 |
| Chicken and turkey | Wrap in foil | 4 – 6 |
| Goose and duck | Wrap in foil | 4 – 6 |
| Deer, rabbit, wild boar | In 2.5 kg portions or as fillet | 6 – 8 |
| Freshwater fish (Salmon, Carp, Crane, Catfish) | After cleaning the bowels and scales of the fish, wash and dry it. If necessary, remove the tail and head. | 2 |
| Lean fish (Bass, Turbot, Flounder) | 4 | |
| Fatty fishes (Tuna, Mackerel, Bluefish, Anchovy) | 2 – 4 | |
| Shellfish | Clean and in a bag | 4 – 6 |
| Caviar | In its packaging, or in an aluminium or plastic container | 2 – 3 |
| Snails | In salty water, or in an aluminium or plastic container | 3 |
| Vegetables and Fruits | Preparation | Maximum storage time (months) |
| String beans and beans | Wash, cut into small pieces and boil in water | 10 – 13 |
| Beans | Hull, wash and boil in water | 12 |
| Cabbage | Clean and boil in water | 6 – 8 |
| Carrot | Clean, cut into slices and boil in water | 12 |
| Pepper | Cut the stem, cut into two pieces, remove the core and boil in water | 8 – 10 |
| Spinach | Wash and boil in water | 6 – 9 |
| Cauliflower | Remove the leaves, cut the heart into pieces and leave it in water with a little lemon juice for a while | 10 – 12 |
| Eggplant | Cut into pieces of 2cm after washing | 10 – 12 |
| Corn | Clean and pack with its stem or as sweet corn | 12 |
| Apple and pear | Peel and slice | 8 – 10 |
| Apricot and Peach | Cut into two pieces and remove the stone | 4 – 6 |
| Strawberry and Blackberry | Wash and hull | 8 – 12 |
| Vegetables and Fruits | Preparation | Maximum storage time (months) | |
| Cooked fruits | Add 10 % of sugar to the container | 12 | |
| Plum, cherry, sourberry | Wash and hull the stems | 8 – 12 | |
| Maximum storage time (months) | Thawing time at room temperature (hours) | Thawing time in oven (minutes) | |
| Bread | 4 – 6 | 2 – 3 | 4-5 (220-225 °C) |
| Biscuits | 3 – 6 | 1 – 1,5 | 5-8 (190-200 °C) |
| Pastry | 1 – 3 | 2 – 3 | 5-10 (200-225 °C) |
| Pie | 1 – 1,5 | 3 – 4 | 5-8 (190-200 °C) |
| Phyllo dough | 2 – 3 | 1 – 1,5 | 5-8 (190-200 °C) |
| Pizza | 2 – 3 | 2 – 4 | 15-20 (200 °C) |
| Dairy products | Preparation | Maximum storage time (months) | Storage conditions |
| Packet (Homogenized) Milk | In its own packet | 2 – 3 | Pure Milk – in its own packet |
| Cheese – excluding white cheese | In slices | 6 – 8 | Original packaging may be used for short-term storage. Keep wrapped in foil for longer periods. |
| Butter, margarine | In its packaging | 6 | |
CLEANING AND MAINTENANCE
Disconnect the unit from the power supply before cleaning.
Do not wash your appliance by pouring water on it.
Do not use abrasive products, detergents or soaps for cleaning the appliance. After washing, rinse with clean water and dry carefully. When you have finished cleaning, reconnect the plug to the mains supply with dry hands.
- Make sure that no water enters the lamp housing and other electrical components.
- The appliance should be cleaned regularly using a solution of bicarbonate of soda and lukewarm water.
- Clean the accessories separately by hand with soap and water. Do not wash accessories in a dish washer.
- Clean the condenser with a brush at least twice a year. This will help you to save on energy costs and increase productivity.
![]()
The power supply must be disconnected during cleaning.
Defrosting

- Your appliance performs automatic defrosting. The water formed as a result of defrosting passes through the water collection spout, flows into the water tra behind your appliance and evaporates there.
- Make sure you have disconnected the plug of your appliance before cleaning the water tray.
- Remove the water tray from its position by removing the screws (if it has screws). Clean it with soapy water at specific tim intervals. This will prevent odours from forming.
Replacing LED Lighting
To replace any of the LEDs, please contact the nearest Authorised Service Centre.
Note: The numbers and location of the LED strips may change according to the model.
SHIPMENT AND REPOSITIONING
Transportation and Changing Positioning
- The original packaging and foam may be kept for re-transportation (optional).
- Fasten your appliance with thick packaging, bands or strong cords and follow the instructions for transportation on the packaging.
- Remove all movable parts or fix the into the appliance against shocks using bands when re-positioning or transporting.
Always carry your appliance in the upright position.
BEFORE CALLING AFTER SALES SERVICE
If you are experiencing a problem with your appliance, please check the following before contacting the after-sales service.
Your appliance is not operating Check if:
- There is power
- The plug is correctly placed in the socket
- The plug fuse or the mains fuse has blown
- The socket is defective. To check this, plug another working appliance into the same socket.
The appliance performs poorly Check if:
- The appliance is overloaded
- The appliance door is closed properly
- There is any dust on the condenser
- There is enough space near the rear and side walls.
Your appliance is operating noisily
Normal noises
Cracking noise occurs:
- During automatic defrosting
- When the appliance is cooled or warmed (due to expansion of appliance material).
Short cracking noise occurs: When the thermostat switches the compressor on/off.
Motor noise: Indicates the compressor is operating normally. The compressor may cause more noise for a short time when it is first activated
Bubbling noise and splash occurs: Due to the flow of the refrigerant in the tubes of the system.
Water flowing noise occurs: Due to water flowing to the evaporation container. This noise is normal during defrosting.
Air blowing noise occurs: In some models during normal operation of the system due to the circulation of air.
The edges of the appliance in contact with the door joint are warm
Especially during summer (warm seasons), the surfaces in contact with the door joint may become warmer during the operation of the compressor, this is normal.
There is a build-up of humidity inside the appliance Check if:
- All food is packed properly. Containers must be dry before being placed in the appliance.
- The appliance door is opened frequently. Humidity of the room enters the appliance when the doors are opened. Humidity increases faster when the doors are opened more frequently, especially if the humidity of the room is high.
The door does not open or close properly
Check if:
- There is food or packaging preventing the door from closing
- The door joints are broken or torn
- Your appliance is on a level surface.
- The compressor can run loudly or the noise of the compressor/refrigerator may increase in some models during operating in some conditions such that the product is plugged in for the first time depending on change in the ambient temperature or change of usage. That is normal; when the refrigerator reaches the required temperature, the noise decreases automatically.
Recommendations
- If the appliance is switched off o unplugged, wait at least 5 minutes before plugging the appliance in or restarting it in order to prevent damage to the compressor.
- If you will not use your appliance for a long time (e.g. in summer holidays) unplug it. Clean your appliance according to chapter cleaning and leave the door open to prevent humidity and smell.
- If a problem persists after you have followed all the above instructions, please consult the nearest authorised service centre.
- The appliance you have purchased is designed for domestic use only. It is not suitable for commercial or common use. If the consumer uses the appliance in a way that does not comply with this, we emphasise that the manufacturer and the dealer will not be responsible for any repair and failure within the guarantee period.
TIPS FOR SAVING ENERGY
- Install the appliance in a cool, wellventilated room, but not in direct sunlight and not near a heat source (such as a radiator or oven) otherwise an insulating plate should be used.
- Allow warm food and drinks to cool before placing them inside the appliance.
- Place thawing food in the refrigerator compartment if available. The low temperature of the frozen food will help cool the refrigerator compartment while the food is thawing. This will save energy. Frozen food left to thaw outside of the appliance will result in a waste of energy.
- Drinks or other liquids should be covered when inside the appliance. If left uncovered, the humidity inside the appliance will increase, therefore the appliance uses more energy. Keeping drinks and other liquids covered helps preserve their smell and taste.
- Avoid keeping the doors open for long periods and opening the doors too frequently as warm air will enter the appliance and cause the compressor to switch on unnecessarily often.
- Keep the covers of the different temperature compartments (such as the crisper and chiller if available) closed.
- The door gasket must be clean and pliable. In case of wear, replace the gasket.
TECHNICAL DATA
The technical information is situated in the rating plate on the internal side of the appliance and on the energy label. The QR code on the energy label supplied with the appliance provides a web link to the information related to the performance of the appliance in the EU EPREL database.
Keep the energy label for reference together with the user manual and all other documents provided with this appliance.
It is also possible to find the same information in EPREL using the link https://eprel.ec.europa.eu and the model name and product number that you find on the rating plate , the appliance.
See the link www.theenergylabel.eu for detailed information about the energy label.
INFORMATION FOR TEST INSTITUTES
Appliance for any EcoDesign verification shall be compliant with EN 62552.
Ventilation requirements, recess dimensions and minimum rear clearances shall be as stated in this User Manual at Chapter 2. Please contact the manufacturer for any other further information, including loading plans.
CUSTOMER CARE AND SERVICE
Always use original spare parts.
When contacting our Authorised Service Centre, ensure that you have the following data available: Model, Serial Number and Service Index.
The information can be found on the rating plate. You can find the rating label inside the fridge zone on the left lower side. The original spare parts for some specific components are available for a minimum of 7 or 10 years, based on the type of component, from the placing on the market of the last unit of the model.
Visit our website: www.morris.gr
IMPORTER: Kalliopi Karyda & Co, LP
87A, 17th November str. 55535, Pylea, Thessaloniki
Tel. 2316 006600
Fax. 2316 006650
www.morris.gr




















