
W58121BI
BUILT-IN REFRIGERATOR
USER MANUAL
Safety and warning information
For your safety and correct usage, before installing and first using the appliance, read this user manual carefully, including its hints and warnings. To avoid unnecessary mistakes and accidents, it is important to make sure that all people using the appliance are thoroughly familiar with its operation and safety features. Save these instructions and be sure that they remain with the appliance if it is moved or sold, so that anyone using it throughout its life, will be properly informed on its usage and safety notices.
For the safety of life and property, keep the precautions of these users’ instructions as the manufacturer is not responsible for damages caused by omission.
Safety for children and others who are vulnerable people
According to EN standard
This appliance can be used by children aged from 8 years and above and persons with reduced physical, sensory or mental capabilities or lack of experience and knowledge if they have been given supervision or instruction concerning the use of the appliance in a safe way and understand the hazards involved. Children shall not play with the appliance. Cleaning and user maintenance shall not be made by children without supervision.
According to IEC standard
This appliance is not intended for use by persons (including children) with reduced physical, sensory or mental capabilities, or lack of experience and knowledge unless they have been given supervision or instruction concerning the use of the appliance by a person being responsible for their safety.
- Keep all packaging away from children as there is a risk of suffocation.
- If you are discarding the appliance, pull the plug out of the socket, cut the connection cable (as close to the appliance as you can), and remove the door to prevent children playing from suffering an electric shock or from closing themselves inside it.
- If this appliance, featuring magnetic door seals, is to replace an older appliance having a spring lock (latch) on the door or lid, be sure to make the spring lock unusable before you discard the old appliance. This will prevent it from becoming a death trap for a child.
General safety
WARNING —This appliance is intended to be used in household and similar applications such as
-staff kitchen areas in shops, offices, and other working environments;
-farmhouses and hotels, motels, and other residential type environments;
-bed and breakfast type environments;
-catering and similar non-retail applications.- WARNING — Do not store explosive substances such as aerosol cans with a flammable propellant in this appliance.
- WARNING — If the supply cord is damaged, it must be replaced by the manufacturer, its service agent or similarly qualified persons in order to avoid a hazard.
- WARNING — Keep ventilation openings, in the appliance enclosure or in the built-in structure, clear of obstruction.
- WARNING — Do not use mechanical devices or other means to accelerate the defrosting process, other than those recommended by the manufacturer.
- WARNING — Do not damage the refrigerant circuit.
- WARNING — Do not use electrical appliances inside the food storage compartments of the appliance, unless they are of the type recommended by the manufacturer.
- WARNING — The refrigerant and insulation blowing gas are flammable.
When disposing of the appliance, do so only at an authorized waste disposal center. Do not expose to flame. - WARNING —When positioning the appliance, ensure the supply cord is not trapped or damaged.
- WARNING —Do not locate multiple portable socket outlets or portable power supplies at the rear of the appliance.
- WARNING—To avoid a hazard due to the instability of the appliance, it must be fixed in accordance with the instructions.
Replacing the illuminating lamps - WARNING—The illuminating lamps must not be replaced by the user! If the illuminating lamps is damaged, contact the customer helpline for assistance. This warning is only for refrigerators that contain illuminating lamps.
Refrigerant
The refrigerant isobutene (R600a) is contained within the refrigerant circuit of the appliance, natural gas with a high level of environmental compatibility, which is nevertheless flammable. During transportation and installation of the appliance, ensure that none of the components of the refrigerant circuit becomes damaged.
The refrigerant (R600a) is flammable.
WARNING —
Refrigerators contain refrigerant and gases in the insulation.
Refrigerants and gases must be disposed of professionally as they may cause eye injuries or ignition. Ensure that tubing of the refrigerant circuit is no damaged prior to proper disposal.
WARNING: Risk of fire/flammable materials
If the refrigerant circuit should be damaged:
-Avoid opening flames and sources of ignition.
-Thoroughly ventilate the room in which the appliance is situated.
It is dangerous to alter the specifications or modify this product in any way.
Any damage to the cord may cause a short circuit, fire, and/or electric shock.
Electrical safety
- The power cord must not be lengthened.
- Make sure that the power plug is not crushed or damaged. A crushed or damaged power plug may overheat and cause a fire.
- Make sure that you can access the main plug of the appliance.
- Do not pull the main cable.
- If the power plug socket is loose, do not insert the power plug. There is a risk of electric shock or fire.
- You must not operate the appliance without the interior lighting lamp cover.
- The fridge is only applied with a power supply of a single-phase alternating current of 220~240V/50Hz. If fluctuation of voltage in the district of the user is so large that the voltage exceeds the above scope, for safety sake, be sure to apply an A.C. Automatic voltage regulator of more than 350W to the fridge. The fridge must employ a special power socket instead of a common one with other electric appliances. Its plug must match the socket with ground wire.
Daily use
- Do not store flammable gas or liquids in the appliance, there is a risk of an explosion.
- Do not operate any electrical appliances in the appliance (e.g. electric ice cream makers, mixers, etc.).
- When unplugging always pull the plug from the mains socket, do not pull on the cable.
- Do not place hot items near the plastic components of this appliance.
- Do not place food products directly against the air outlet on the rear wall.
- Store pre-packed frozen food in accordance with the frozen food manufacturer’s instructions.
- The appliance manufactures storage recommendations should be strictly adhered to. Refer to relevant instructions for storage.
- Do not place carbonated or fizzy drinks in the freezer compartment as it creates pressure on the container, which may cause it to explode, resulting in damage to the appliance.
- Frozen food can cause frost burns if consumed straight from the freezer compartment.
- Do not place the appliance in direct sunlight.
- Keep burning candles, lamps, and other items with naked flames away from the appliance so that do not set the appliance on fire.
- The appliance is intended for keeping foodstuff and/or beverages in a normal household as explained in this instruction booklet. You should take care when moving it as the appliance is heavy.
- Do not remove nor touch items from the freezer compartment if your hands are damp/wet, as this could cause skin abrasions or frost/freezer burns.
- Never use the base, drawers, doors etc. to stand on or as supports.
- Frozen food must not be refrozen once it has been thawed out.
- Do not consume ice popsicles or ice cubes straight from the freezer as this can cause freezer burn to the mouth and lips.
- To avoid items falling and causing injury or damage to the appliance, do not overload the door racks or put too much food in the crisper drawers.
caution!
Care and cleaning - Before maintenance, switch off the appliance and disconnect the mains plug from the mains socket.
- Do not clean the appliance with metal objects, steam cleaner, ethereal oils, organic solvents, or abrasive cleansers.
- Do use a plastic scraper instead of sharp objects to remove frost from the appliance.
Installation Important!
- For electrical connection carefully, follow the instructions given in this manual. Unpack the appliance and check if there is damage to it.
- Do not connect the appliance if it is damaged. Report possible damages immediately to the place you bought it. In this case, retain packing.
- It is advisable to wait at least four hours before connecting the appliance to allow the oil to flow back in the compressor.
- Adequate air circulation should be around the appliance, lacking this leads to overheating. To achieve sufficient ventilation, follow the instructions relevant to installation.
- Wherever possible the back of the product should not be too close to a wall to avoid touching or catching warm parts(compressor, condenser) to prevent the risk of a fire, follow the instructions relevant to installation.
- The appliance must not be located close to radiators or cookers.
- Make sure that the mains plug is accessible after the installation of the appliance.
Service
- Any electrical work required to do the servicing of the appliance should be carried out by a qualified electrician or competent person.
- This product must be serviced by an Authorized Service Center, and only genuine spare parts must be used.
1)If the appliance is Frost Free.
2)If the appliance contains a freezer compartment.
Note: Children aged from 3 to 8 years are allowed to load and unload refrigerating appliances.(This clause applies only to the EU region.)
Installing Your New Appliance
Positioning:
Position the appliance away from sou away from sources of stoves, radiators, direct sunlight, etc.
Maximum performance and safety are guaranteed by maintaining the correct indoor temperature for the class of unit concerned as specified on the rating plate.
This appliance performs well under direct sunlight etc.
Maximum performance and safety are guaranteed by maintaining the correct indoor temperature for the class of unit concerned as specified on the rating plate.
This appliance performs well from SN to ST. The appliance may not work properly if left at a temperature above below may not works properly if left at a temperature above or below the indicated range.
| Climate class | Ambient temperature |
| SN | +10°C to +32°C |
| N | +16°C to +32°C |
| ST | +16°C to +38°C |
| T | +16°C to +43°C |
The appliance must not be exposed to rain. Sufficient air must be allowed to circulate in the lower rear section of the appliance, as poor air circulation can affect performance. The built-in appliances should be positioned away from heat sources such as stoves, fires, or heaters.
Installation instructions:
Before installing, carefully read the instruction in order to avoid a certain number of problems. These are the Dimensions of the mounting slot.

Follow the steps in the installation guide provided.
Note: Your product is designed and built for domestic household use only. The Your product is designed and built the product must be correctly installed, located, and operated in accordance with the instructions contained in the User Instructions guide provided.
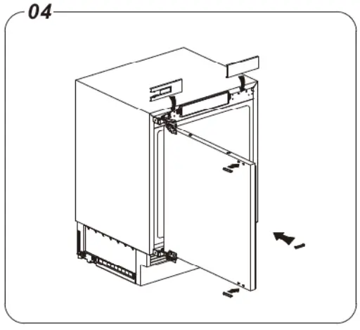
Reversing the fridge door
The side at which the door opens can be changed, from the right side (as supplied) to the left side, if the installation site requires it. Warning! When reversing the door, the appliance must not be connected to the mains. Ensure that the plug is removed from the mains socket.. Tools you will need(Not provided):
![]() | ![]() |
| Philips Screwdriver & Slotted Screwdriver | Wrench(8mm) |
Note: When required, tilt the refrigerator back in order to gain access to the base, you should rest the appliance on soft foam packaging or similar material to avoid damaging the backboard of the refrigerator. To reverse the door, the following steps are generally recommended.
- Stand the refrigerator upright. Open the door, and remove the upper hinge cover (left and right). Remove the lower screw hole cover for the cabinet. Remove the screw hole cover for the door.

- With the door closed, remove the screws on the outside of the hinges. Open the hinges away from the door. With the hinge open undo the screws holding it to the cabinet. Be careful with the hinge, use a long-shafted screwdriver if you have one.

- Turn the hinge over and place it on the diagonally opposite comer of the cabinet. Screw back in place. Repeat with the other hinge. Replace the door and re-attach the hinges. Check that the door is aligned horizontally and vertically and that the door seals are secure on all sides before finally tightening the hinge bracket screws.

- Replace the upper hinge cover (left and right). Replace the lower screw hole cover for the cabinet. Replace the screw hole cover for the door.

Description of the Appliance

View of the appliance
- Controller part
- Freezer room
- Storage shelf
- Crisper box cover
- Crisper box
- Upper door rack
- Movable door rack
- Lower door rack
- Egg tray
- Ice tray
Note!
- Due to unceasing modification of our products, from this instruction manual, its functions and using methods remain the same.
- To get the best energy efficiency of this product, please place all shelves, drawers, and baskets in their original position as in the illustration above.
Display Controls
Use your appliance according to the following control regulations, your appliance has the corresponding functions as the control panels shown in the pictures below.

Controlling the temperature
For optimum food preservation, we recommend that when you start your refrigerator for the first time, the temperature for the refrigerator is set to 4°C. If you want to change the temperature, follow the instructions below.
Caution!
When you set a temperature, you set an average temperature for the whole refrigerator cabinet. Temperatures inside each compartment may vary from the temperatures displayed on the panel, depending on how much food you store and where you place it. High or low room temperature may also affect the actual temperature inside the appliance.
- POWER

Press and hold the “POWER” button for 3 seconds to turn the power function on or off.
When the power function is on, the display board will show “- -“. If no buttons have been pressed, the display board will turn off about 1 minute later.
IF you want to turn off the power function, make sure the display board is lighting up. IF not, you can press any button to light up the display board.
Important! When the power function is on, the refrigerator stops cooling.
Do not store any food in the fridge during this time. If you will not use the refrigerator for a long time, please pull the plug.
- SUPER

Super will quickly lower the temperature within the freezer so food will freeze faster. This can lock in the vitamins and nutrients of fresh food and keep food fresh longer.
- Press the button to activate the super freeze function. The light
will be illuminated, and the panel will display 2°C. - Super freeze automatically switches off after 52 hours.
- When the super freeze function is on, you can switch off the super freeze function by pressing the middle part of the button and the freezer temperature setting will revert back to the previous setting.
- TEMP

Press the middle part of the button to set the fridge temperature between 2’C and £3°C as needed, and the control panel will display corresponding figures according to the following sequence.
NOTE: High-temperature settings will accelerate food waste.

- ALARM

In case of alarm,
the icon will light up and flash, meanwhile a buzzing sound will start.
- Leaving the door of the refrigerator open for over 1 minute will activate the door alarm, the icon will light up and flash, and the buzzer will beep 3 times per minute for 10 Closing the door cancels the door alarm and buzzer.
- Press the “ALARM” button to stop the alarm, and the buzzing and
icon will turn off. - To save energy, please avoid keeping the door open for a long time when using
Using your Appliance
This section tells you how to use most of the useful features. We recommend that you read through them carefully before using the appliance.
Door rack
- It is suitable for the storage of eggs, canned liquid, bottled drinks, packed food, etc. Do not place too many heavy things in the racks. To adjust, gradually pull the rack in the direction of the arrows until it comes free, then reposition as required.
Remove the door rack
Install the door rack
Refrigerator compartment
- For storing food that does not need to be frozen and different sections suitable for different kinds of food.
The shelf in the Refrigerator chamber
- There are shelves in the refrigerator chamber, and they can be taken out to be cleaned. Please push the shelve inside when replacing it.

Crisper box
- For storing fruit and vegetables.

Caution! Never close the door while the Crisper box cover is extended. It may damage the unit.
Using the freezer compartment
- The freezer compartment is upper inside. For freezing fresh food and storing frozen and deep-frozen food for long periods of time.
Ice-cube tray
- For making ice and storing ice cubes.

Cleaning and Care
For hygienic reasons, the appliance (including exterior and interior accessories) should be cleaned at least every two months.
Warning!
To avoid electrical shock, the appliance must not be connected to the main power supply during cleaning. Before cleaning, switch the appliance off and remove the plug from the main socket.
Exterior cleaning
To maintain the good appearance of your appliance, you should clean it regularly.
- Spray water onto a cleaning cloth instead of spraying directly on the surface of the This helps ensure an even distribution of moisture to the surface.
- Clean the doors, handles, and cabinet surfaces with a mild detergent, and then wipe dry with a soft cloth.
Caution!
- Don’t use sharp objects to clean with, as they are likely to scratch the surface.
- Don’t use Thinner, Car detergent, bleach, ethereal oil, abrasive cleansers, or an organic solvent such as Benzene for cleaning. They may damage the surface of the appliance and may cause a fire.
Interior cleaning
You should clean the appliance interior regularly. It will be easier to clean when food stocks are low. Wipe the inside of the fridge freezer with a weak solution of baking soda and water, and then rinse with warm water using a wrung-out sponge or cloth. Wipe completely dry before replacing the shelves and baskets. Thoroughly dry all surfaces and removable parts before putting them back into place. This appliance manually defrosts, a layer of frost may occur on the fridge compartment’s interior walls if the fridge door is opened frequently or kept open too long. If the frost is too thick, choose a time when the fridge is nearly empty and proceed as follows:
- Remove existing food and accessories baskets, unplug the appliance from the main power and leave the doors open. Ventilate the room thoroughly to accelerate the process.
- When defrosting is completed, dean your fridge as described above.
Warning!
Do not use sharp objects to remove frost from the freezer compartment. Only after the interior is completely dry should the appliance be switched back on and plugged back into the main socket.
Door seals cleaning
Take care to keep door seals clean. Sticky food and drinks can cause seals to stick to the cabinet and tear when you open the door. Wash seal with a mild detergent and warm water. Rinse and dry it thoroughly after cleaning.
Caution! Only after the door seals are completely dry should the appliance be powered on.
Replacing the LED light
Warning: The LED light must be replaced by a competent person. If the LED light is damaged, follow the steps below:
- Unplug your appliance.
- Remove the light cover by rising up and pulling out the LED light.
- Hold the LED light with one hand and pull it with the other hand while pressing the connector latch.
- Replace the LED light and snap it correctly in place and recover the light cover.
Helpful Hints and Tips
Energy Saving Tips
We recommend that you follow the tips below to save energy.
- Try to avoid keeping the door open for long periods in order to conserve energy. Ensure the appliance is away from any sources of heat (direct sunlight, electric oven or cooker, etc.)
- Don’t set the temperature colder than
- Don’t store warm food or evaporating liquid in the appliance.
‘Place the appliance in a well-ventilated, humidity-free, room. Please refer to the “Installing your New Appliance” chapter.
- If the diagram shows the correct combination for the drawers, crisper, and shelves, do not adjust the combination as this is designed to be the most energy-efficient configuration.
Hints for fresh food refrigeration
- Do not place hot food directly into the refrigerator or freezer, the internal temperature will increase resulting in the compressor has to work harder and will consume more energy
- Do cover or wrap the food, particularly if it has a strong flavor.
- Place food properly so that air can circulate freely around it.
Hints for refrigeration
- For Meat (all types) wrap in cling wrap and place on the glass shelf above the vegetable drawer. Always follow food storage times and use by dates suggested by manufacturers.
‘Cooked food, cold dishes, etc.:
They should be covered and placed on any shelf.
- Fruit and vegetables: They should be stored in the special drawer provided.
- Butter and cheese: Should be wrapped in airtight foil or plastic film wrap.
- Milk bottles: Should have a lid and be stored in the door racks.
Hints for freezing
‘When first starting up or after a period out of use, let the appliance run at least 2 hours on the higher settings before putting food in the compartment.
- If the freezing capacity according to the rating plate is to be used, switch on super freezing 24 hours before the fresh products are placed in the freezer
- Prepare food in small portions to enable it to be rapidly and completely frozen and to make it possible to subsequently thaw only the quantity required.
‘Wrap up the food in aluminum foil or cling wraps which are airtight.
- Do not allow fresh, unfrozen food to touch the food which is already frozen to avoid a temperature rise of the latter.
- Iced products, (ice cubes, popsicles): if consumed immediately after removal from the freezer compartment, will probably cause frost burns to the skin.
- It is recommended to label and date each frozen package in order to keep track of the storage time.
Hints for the storage of frozen food
- Ensure that frozen food has been stored correctly by the food retailer
‘Once defrosted, food will deteriorate rapidly and should not be re-frozen. Do not exceed the storage period indicated by the food manufacturer.
Switching off your appliance
If the appliance needs to be switched off for an extended period, the following steps should be taken to prevent mold on the appliance.
- Remove all food.
- Remove the power plug from the main socket.
- Clean and dry the interior thoroughly.
- Ensure that all the doors are wedged open slightly to allow air to circulate.
troubleshooting
If you experience a problem with your appliance or are concerned that the appliance is not functioning correctly, you can carry out some easy checks before calling for service, please see below.
Warning! Don’t try to repair the appliance yourself. If the problem persists after you have made the checks mentioned below, contact a qualified electrician, authorized service engineer, or the shop where you purchased the product.
Warning! A child entrapment warning statement is included in either the operating instructions or in a use and care manual provided with each refrigerator.
DANGER: Risk of child entrapment. Before you throw away your old refrigerator or freezer:
– Take off the doors.
– Leave the shelves in place so that children may not easily climb inside.
| Problem | Possible Cause & Solution |
| The appliance is not working correctly | Check whether the power cord is plugged into the power outlet properly. |
| Check the fuse or circuit of your power supply, and replace it if necessary. | |
| The ambient temperature is too low. Try setting the chamber temperature to a colder level to solve this problem. | |
| It is normal that the freezer is not operating during the defrost cycle, or for a short time after the appliance is switched on to protect the compressor. | |
| Odors from the compartments | The interior may need to be cleaned |
| Some food, containers, or wrapping cause odors. | |
| Noise from the appliance | The sounds below are quite normal: · Compressor running noises. · Air movement noise from the small fan motor in the freezer compartment or other compartments. · Gurgling sound similar to water boiling. · Popping noise during automatic defrosting. · Clicking noise before the compressor starts. · Clicking noise when you get the water. · The motor running noises when you get ice. |
| Other unusual noises are due to the reasons below and may need you to check and take action: The cabinet is not level. The back of the appliance is touching the wall. Bottles or containers have fallen or are rolling. |
| The motor runs continuously | It is normal to frequently hear the sound of the motor, it will need to run more when in the following circumstances: · Temperature setting is set colder than necessary |
| A layer of frost occurs in the compartment | Check that the air outlets are not blocked by food and ensure food is placed within the appliance to allow sufficient ventilation. Ensure that door is fully closed. To remove the frost, please refer to the “Cleaning and Care” chapter. |
| The temperature inside is too warm | You may have left the doors open too long or too frequently, or the doors are kept open by some obstacle; or the appliance is located with insufficient clearance at the sides, back, and top |
| The temperature inside is too cold | Increase the temperature by following the “Display Controls” chapter. |
| Doors can’t be closed easily | Check whether something inside is preventing the doors from dosing. |
| The light is not working | · The LED light may be damaged. Refer to replacing LED lights in the” Cleaning and Care” chapter. · The control system has disabled the lights due to the door being kept open too long. Close and reopen the door to reactivate the lights. |
| Hear water bubbling in the refrigerator | This is normal. The bubbling comes from the refrigerant coolant liquid circulating through the refrigerator. |
Disposal of the Appliance
It is prohibited to dispose of this appliance as household waste.
Packaging materials
Packaging materials with the recycle symbol are recyclable. Dispose of the packaging into a suitable waste collection container to recede it.
Before disposal of the appliance
- Pull out the main plug from the main socket.
- Cut off the power cord and discard with the main plug.
Warning! Refrigerators contain refrigerant and gases in the insulation. Refrigerants and gases must be disposed of professionally as they may cause eye injuries or ignition. Ensure that tubing of the refrigerant circuit is not damaged prior to proper disposal.
| Correct Disposal of this product | |
![]() | This symbol on the product or in its packing indicates that this product may not be treated as household waste. Instead, it should be taken to the appropriate waste collection point for the recycling of electrical and electronic equipment. By ensuring this product is disposed of correctly, you will help prevent potential negative consequences for the environment and human health, which could otherwise be caused by the inappropriate waste handling of this product. For more detailed information about the recycling of this product, please contact your local council, your household waste disposal service, or the shop where you purchased the product. |
To avoid contamination of food, please respect the following instructions:
-Opening the door for long periods can cause a significant increase of the temperature in the compartments of the appliance.
– Clean regularly surfaces that can come in contact with food and accessible drainage
-Clean water tanks if they have not been used for 48 h.
– Store raw meat and fish in suitable containers in the refrigerator, so that it is not in contact with or drip onto other food.
-Two-star frozen-food compartments are suitable for storing pre-frozen food, storing or making ice cream, and making ice cubes.
– One-, two- and three-star compartments are not suitable for the freezing of fresh food.
| Order | Compartments TYPE | Target storage temp.[ºC] | Appropriate food |
| 1 | Fridge | +2∼+8 | Eggs, cooked food, packaged food, fruits and vegetables, dairy products, cakes, drinks, and other foods which are not suitable for freezing. |
| 2 | (***)*-Freezer | ≤ -18 | Seafood (fish, shrimp, shellfish), freshwater aquatic products, and meat products (recommended time is 3 months — nutrition values and taste decrease with time), suitable for frozen fresh food. |
| 3 | ***-Freezer | ≤ -18 | Seafood (fish, shrimp, shellfish), freshwater aquatic products, and meat products (recommended time is 3 months — nutrition values and taste decrease with time). Not suitable for freezing fresh food. |
| 4 | “-Freezer | ≤ -12 | Seafood (fish, shrimp, shellfish), freshwater aquatic products, and meat products (recommended time is 2 months — nutrition values and taste decrease with time). Not suitable for freezing fresh food. |
| 5 | *-Freezer | ≤ -6 | Seafood (fish, shrimp, shellfish), freshwater aquatic products, and meat products (recommended time is 1 month — nutrition values and taste decrease with time). Not suitable for freezing fresh food. |
| 6 | 0-star | -6∼ 0 | Fresh pork, beef, fish, chicken, some packaged processed foods, etc. (Recommended to eat within the same day, preferably not later than 3 days). Partially packed/wrapped up encapsulated processed foods (non-freezable foods) |
| 7 | Chill | -2∼ +3 | Fresh/frozen pork, beef, chicken, freshwater aquatic products, etc.(7 days below 0 °C and above 0 °C is recommended for consumption within that day, preferably no more than 2 days). Seafood (less than 0 for 15 days, it is not recommended to store above 0 Ce) |
| 8 | Fresh Food | 0 ∼+4 | Fresh pork, beef, fish, chicken, cooked food, etc. (Recommended to eat within the same day, preferably no more than 3 days) |
| 9 | Wine | +5 ∼+20 | red wine, white wine, sparkling wine, etc. |
Note: please store different foods according to the compartments or target the storage temperature of your purchased products.
-If the refrigerating appliance is left empty for long periods, switch off, defrost, clean, dry, and leave the door open to prevent mold from developing within the appliance.
Water dispenser deaning (special for water dispenser products):
– Clean water tanks if they have not been used for 48 h; flush the water system connected to a water supply if water has not been drawn for 5 days.
WARNING! Food needs to be packed in bags before putting into the refrigerator, and liquids need to be packed in bottles or capped containers to avoid the problem that the product design structure is not easy to the dean. If the refrigerating appliance is left empty for long periods, switch off, defrost, clean, dry, and leave the door open to prevent mold from developing within the appliance.
Ambient Room Temperature Limits
This appliance is designed to operate in ambient temperature specified by its temperature class marked on the rating plate.
| Temperature Class | Symbol | Ambient Temperature | |
| Maximum | Minimum | ||
| Extended Temperate | SN | 32°C (90°F) | 10°C (50°F) |
| Temperate | N | 32°C (90°F) | 16°C (61°F) |
| Subtropical | ST | 38°C (100°F) | 18°C (64°F) |
| Tropical | T | 43°C (109°F) | 18°C (64°F) |
NOTE: The internal temperature may be affected by such factors as the location of the appliance, ambient temperature, and the frequency with which you open the doors. Adjust the temperature as required to compensate for these factors.
The ordered parts in the following table can be acquired from Channel: AMIRIDIS – SAVVIDIS S.A.
87A, 17th November str
55535, Pylea, Thessaloniki
Tel: +302310944944
| Part description | Purchased by | Minimum availability period |
| thermostats | Professional maintenance personnel | At least 7 years after the last model is launched on the market |
| temperature sensors | Professional maintenance personnel | At least 7 years after the last model is launched on the market |
| printed circuit boards | Professional maintenance personnel | At least 7 years after the last model is launched on the market |
| light sources | Professional maintenance personnel | At least 7 years after the last model is launched on the market |
| door handles | Professional maintenance personnel and final users | At least 7 years after the last model is launched on the market |
| door hinges | Professional maintenance personnel and final users | At least 7 years after the last model is launched on the market |
| trays | Professional maintenance personnel and final users | At least 7 years after the last model is launched on the market |
| baskets | Professional maintenance personnel and final users | At least 7 years after the last model is launched on the market |
| door gaskets | Professional maintenance Personnel and final users | At least 10 years after the last model is launched on the market |
DECLARATION OF CONFORMIT
Herewith, we state that this product, complies with the requirements of the below directives:
EMC-Directive: 14 / 30 / EU
Low Voltage Directive: 14/ 35 / EU
ERP Directive 09 / 125 / EC
CE Marking: 93 / 68 / EEC
RoHS Directive: 11 / 65 / EU Delegated Directive (EU) 15/863
The detailed declaration of conformity can be found at www.morris.gr

| Product Information Sheet COMMISSION DELEGATED REGULATION (EU) 2019/2016 | |||||
| Supplier’s name or trademark: MORRIS | |||||
| Supplier’s address: 17th November str 87A, 55534 Thessaloniki Pylea, Thessaloniki Thessaloniki, EL | |||||
| Model identifier: W58121131 | |||||
| Type of refrigerating appliance: | |||||
| Low-noise appliance: | NO | Design type: | Built-in | ||
| Wine storage appliance: | NO | Other refrigerating appliances: | Yes | ||
| General product parameters: | |||||
| Parameter | Value | Parameter | Value | ||
| Overall dimensions (millimeter) | Height | 818 | Total volume (dm’ or I) | 121 | |
| Width | 595 | ||||
| Depth | 545 | ||||
| ELI | 125 | Energy efficiency class | F | ||
| Airborne acoustical noise emissions (dB(A) re 1 pW) | 39 | Airborne acoustical noise emission class | C | ||
| Annual energy consumption (kWh/a) | 185 | Climate class: temperate, | extended temperate, subtropical | ||
| Minimum ambient temperature (2C), for which the refrigerating appliance is suitable | 10 | Maximum ambient temperature (QC), for which the refrigerating appliance is suitable | 38 | ||
| Winter setting | NO | ||||
| Compartment Parameters: | |||||
| Compartment type | Compartment parameters and values | ||||
| Compartment volume (dm3 or I) | Recommended temperature the setting for optimized food storage (2C) These setting shall not contradict the storage conditions set out in Annex IV, Table 3 | Freezing capacity (kg/24h) | Defrosting type (auto-defrost=A, manual defrost=M) | ||
| Pantry | No | – | – | ||
| Wine storage | No | – | – | – | |
| Cellar | No | – | – | – | |
| Fresh food | Yes | 104 | 4 | – | A |
| Chill | No | – | – | – | |
| 0-star or ice-making | No | – | – | – | – |
| 1-star | No | – | – | ||
| 2-star | Yes | – | – | – | |
| 3-star | No | – | – | – | |
| 4-star | No | 17 | -18 | 4 | M |
| 2-star section | No | – | – | – | |
| Variable temperature compartment | – | – | – | – | – |
| For 4-star compartments | |||||
| Fast freeze facility | Yes | ||||
| Light source parameters: | |||||
| Type of light source | Lighting technology used: LED | ||||
| Energy efficiency class | G | ||||
| Minimum duration of the guarantee offered by the manufacturer: 24 months | |||||
| Additional information: | |||||
| Weblink to the manufacturer’s website, where the information in point4(a) Annex of Commission Regulation (EU) 2019/2019 is found: www.morris.gr | |||||
IMPORTER: Kalliopi Karyda & Co, LP
87A, 17th November str.
55535, Pylea, Thessaloniki
Tel. 2316 006600
Fax. 2316 006650
www.morris.gr
5280483
![]()






























