Best Master Furniture A806TB Newport 46 inch L Round Walnut Wood Dining Table

ASSEMBLY INSTRUCTIONS
HARDWARE LIST

PARTS LIST
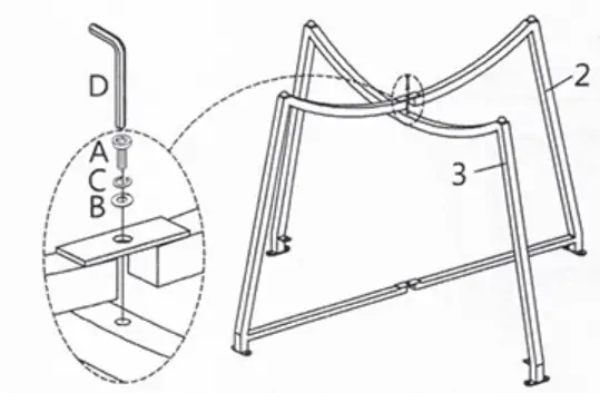
- Step 1

Note: At this step, do not fully tighten the bolts. - Step 2

Note: At this step, do not fully tighten the bolts. - Step 3

Note: At this stage, tighten all Bolts at all joints fully in a sequential manner - Step 4

- Step 5


























