beurer BM27LE Blood Pressure Monitor Limited Edition

Included in delivery
- Blood pressure monitor
- Upper arm cuff
- 4 x 1.5 V LR6 AA batteries
- Storage bag
- Instructions for use
Dear customer,
Thank you for choosing one of our products. Our name stands for high-quality, thoroughly tested products for ap-plications in the areas of heat, weight, blood pressure, body temperature, pulse, gentle therapy, massage, beauty and air. Please read these instructions for use carefully and keep them for later use, be sure to make them accessible to other users and observe the information they contain.
With kind regards, Your Beurer team
Getting to know your device
Check that the device packaging has not been tampered with and make sure that all contents are present. Before use, ensure that there is no visible damage to the device or ac-cessories and that all packaging material has been removed. If you have any doubts, do not use the device and contact your retailer or the specified Customer Services address. The upper arm blood pressure monitor is used to carry out non-invasive measurement and monitoring of the arterial blood pressure values in adults.
This allows you to quickly and easily measure your blood pressure, save the measured values and display the devel-opment and average values of the measured values taken. You are also warned of possible existing cardiac arrhythmia. The recorded values are classified and evaluated graphically.
Important notes
Signs and symbols
The following symbols are used in these instructions for use, on the packaging and on the type plate for the device and the accessories:

- Attention
- Note Note on important information
- Observe the instructions for use
- Application part, type BF
- Direct current

- Disposal in accordance with the Waste Electrical and Electronic Equipment EC Directive – WEEE
- Separate the packaging elements and dispose of them in accordance with local regulations.
- Marking to identify the packaging material. A = Material code, B = Material number: 1-7 = Plastics, 20-22 = Paper and cardboard
- The product can be recycled, is subject to extended producer responsibility, and is collected separately.
- Manufacturer
- Permissible storage and transport temperature and humidity
- Permissible operating temperature and humidity
![]()
- Protected against solid foreign objects 12.5 mm in diameter and larger, and against vertically falling drops of water
- Serial number
- The CE labelling certifies that the product complies with the essential requirements of Directive 93/42/EEC on medical products.
Notes on use
- In order to ensure comparable values, always measure your blood pressure at the same time of day.
- Do not take a measurement within 30 minutes of eating, drinking, smoking or exercising.
- Before the initial blood pressure measurement, make sure always to rest for about 5 minutes.
- Furthermore, if you want to take several measurements in succession, make sure always to wait for at least 1 minute between the individual measurements.
- Repeat the measurement if you are unsure of the meas-ured value.
- The measured values taken by you are for your informa-tion only – they are no substitute for a medical examina-tion. Discuss the measured values with your doctor and never base any medical decisions on them (e.g. medi-cines and their administration).
- Using the blood pressure monitor outside your home environment or whilst on the move (e.g. whilst travelling in a car, ambulance or helicopter, or whilst undertaking physical activity such as playing sport) can influence the measurement accuracy and cause incorrect measure-ments.
- Do not use the blood pressure monitor on newborns or patients with pre-eclampsia. We recommend consulting a doctor before using the blood pressure monitor during pregnancy.
- Cardiovascular diseases may lead to incorrect measure-ments or have a detrimental effect on measurement ac-curacy. The same also applies to very low blood pressure, diabetes, circulatory disorders and arrhythmias as well as chills or shaking.
- This device is not intended for use by people (including children) with restricted physical, sensory or mental skills or a lack of experience and/or a lack of knowledge, unless they are supervised by a person who is responsible for their safety or are instructed by such a person in how to use the device. Supervise children around the device to ensure they do not play with it.
- The blood pressure monitor must not be used in connec-tion with a high-frequency surgical unit.
- Only use the device on people who have the specified up-per arm measurement for the device.
- Please note that when inflating, the functions of the limb in question may be impaired.
- During the blood pressure measurement, the blood circu-lation must not be stopped for an unnecessarily long time. If the device malfunctions remove the cuff from the arm.
- Avoid any mechanical restriction, compression or bending of the cuff line.
- Do not allow sustained pressure in the cuff or frequent measurements. The resulting restriction of the blood flow may cause injury.
- Make sure that the cuff is not placed on an arm in which the arteries or veins are undergoing medical treatment, e. g. intravascular access or intravascular or therapy, or an arteriovenous (AV) shunt.
- Do not use the cuff on people who have undergone a mastectomy.
- Do not place the cuff over wounds as this may cause further injury.
- Place the cuff on your upper arm only. Do not place the cuff on other parts of the body.
- The blood pressure monitor can only be operated with batteries.
- To conserve the batteries, the blood pressure monitor switches off automatically if you do not press any buttons for 30 seconds.
- The device is only intended for the purpose described in these instructions for use. The manufacturer is not liable for damage resulting from improper or careless use.
Instructions for storage and maintenance
- The blood pressure monitor is made from precision and electronic components. The accuracy of the measured values and service life of the device depend on its careful handling:
- Protect the device from impacts, humidity, dirt, marked temperature fluctuations and direct sunlight.
- Do not drop the device.
- Do not use the device in the vicinity of strong electro-magnetic fields and keep it away from radio systems or mobile telephones.
- Only use the cuff included with the delivery or original replacement parts. Otherwise incorrect measured val-ues will be recorded.
- We recommend that the batteries be removed if the de-vice will not be used for a prolonged period of time.
Notes on handling batteries
- If your skin or eyes come into contact with battery fluid, rinse the affected areas with water and seek medical as-sistance.
- Choking hazard! Small children may swallow and choke on batteries. Store the batteries out of the reach of small children.
- Observe the plus (+) and minus (-) polarity signs.
- If a battery has leaked, put on protective gloves and clean the battery compartment with a dry cloth.
- Protect batteries from excessive heat.
- Risk of explosion! Never throw batteries into a fire.
- Do not charge or short-circuit batteries.
- If the device is not to be used for a relatively long period, take the batteries out of the battery compartment.
- Use identical or equivalent battery types only.
- Always replace all batteries at the same time.
- Do not use rechargeable batteries.
- Do not disassemble, split or crush the batteries.
Instructions for repairs and disposal
- Batteries do not belong in household waste. Please dis-pose of empty batteries at the collection points intended for this purpose.
- Do not open the device. Failure to comply will result in voiding of the warranty.
- Do not repair or adjust the device yourself. Proper opera-tion can no longer be guaranteed in this case.
- Repairs must only be carried out by Customer Services or authorised suppliers. Before making a claim, please check the batteries first and replace them if necessary.
- Please dispose of the device in accordance with EC Directive – WEEE (Waste Electrical and Electronic Equipment). If you have any questions, please contact the local authorities responsible for waste disposal.
Notes on electromagnetic compatibility
- The device is suitable for use in all environments listed in these instructions for use, including domestic environ-ments.
- The use of the device may be limited in the presence of electromagnetic disturbances. This could result in issues such as error messages or the failure of the display/device.
- Avoid using this device directly next to other devices or stacked on top of other devices, as this could lead to faulty operation. If, however, it is necessary to use the de-vice in the manner stated, this device as well as the other devices must be monitored to ensure they are working properly.
- The use of accessories other than those specified or provided by the manufacturer of this device can lead to an increase in electromagnetic emissions or a decrease in the device’s electromagnetic immunity; this can result in faulty operation.
- Failure to comply with the above can impair the perfor-mance of the device.
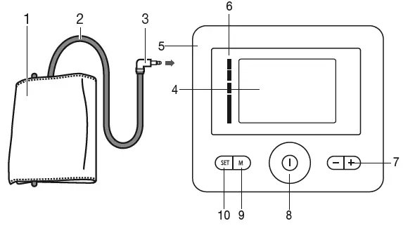
Device description
- Cuff
- Cuff line
- Cuff connector
- Display
- Connection for cuff connector
- Risk indicator
- Function buttons -/+
- START/STOPbutton

- Memory button M
- Setting button SET
Information on the display:
- Time and date
- Systolic pressure
- Diastolic pressure
- Calculated pulse value
- Cardiac arrhythmia symbol

- Memory display: average value (R ), morning ( AM), evening (
), memory space number - Release air

- User memory

- Battery replacement symbol

- Risk indicator
- Cuff position control
Preparing the measurement
Inserting the batteries
- Open the battery compartment lid.
- Insert four 1.5V AA (alkaline type LR6) batteries. Make sure that the batteries are inserted the correct way round.
- Do not use rechargeable batteries.
- Close the battery compartment lid again carefully.
- All display elements are briefly displayed, 24 h flashes in the display. Now set the date and time as described below.
If the low battery
indicator is permanently displayed, you can no longer perform any measurements and must re-place the batteries. Once the batteries have been removed from the device, the time must be set again.
Battery disposal
- The empty, completely flat batteries must be disposed of through specially designated collection boxes, recycling points or electronics retailers. You are legally required to dispose of the batteries.
- The codes below are printed on batteries containing harmful substances:
- Pb = Battery contains lead,
- Cd = Battery contains cadmium,
- Hg = Battery contains mercury
Setting the hour format, date and time
It is essential to set the date and time. Otherwise, you will not be able to save your measured values correctly with a date and time and access them again later.
There are two different ways to access the menu from which you can adjust the settings:
- Before initial use and after each time you replace the battery:
When inserting batteries into the device, you will be taken to the relevant menu automatically. - If the batteries have already been inserted:
Press and hold the settings button SET on the device when switched off for approx. 5 seconds.
To set the date and time, proceed as follows:
- Select 12h or 24h mode using the function buttons -/+. Press SET to confirm. The year display will start to flash. Set the year with the function buttons -/+ and confirm with SET.
- Set the month, day, hour and minute and confirm each with the setting button SET.
- The blood pressure monitor switches itself off automatically.
Measuring blood pressure
Ensure the device is at room temperature before measuring. The measurement can be performed on the left or right arm.
Attaching the cuff
- Place the cuff onto the bare upper arm. The circulation of the arm must not be hindered by tight clothing or similar.
- The cuff must be placed on the upper arm so that the bottom edge is positioned 2 – 3 cm above the elbow and over the artery. The line should point to the centre of the palm.
- Now tighten the free end of the cuff, but make sure that it is not too tight around the arm and close the hook-and-loop fastener. The cuff should be fastened so that two fingers can fit under the cuff. Now insert the cuff line into the connection for the cuff connector.

- This cuff is suitable for you if the index mark ( ) is within the OK range after fitting the cuff on the upper arm.
If the measurement is performed on the right upper arm, the line should be located on the inside of your elbow. Ensure that your arm is not pressing on the line.
- Blood pressure may vary between the right and left arm, which may mean that the measured blood pressure values are different. Always perform the measurement on the same arm.
- If the values between the two arms are significantly differ-ent, please consult your doctor to determine which arm should be used for the measurement.
Important: The unit may only be operated with the original cuff. The cuff is suitable for an arm circumference of 22 to 42 cm.
Adopting the correct posture

- Before the initial blood pressure measurement, make sure always to rest for about 5 minutes. Otherwise deviations can occur.
- Furthermore, if you want to take several measurements in succession, make sure always to wait for at least 1 minute between the individual measurements.
- You can take the measurement while sitting or lying. Al-ways make sure that the cuff is at heart level.
- To carry out a blood pressure measurement, make sure you are sitting comfortably with your arms and back lean-ing on something. Do not cross your legs. Place your feet flat on the ground.
- To avoid falsifying the measurement, it is important to remain still during the measurement and not to speak.
Performing the blood pressure measurement
- As described above, attach the cuff and adopt the pos-ture in which you want to perform the measurement.
- Start the blood pressure monitor with the START/STOP button .
- The cuff automatically inflates. The cuff’s air pressure is slowly released. If you already recognise a tendency for high blood pressure, you should reinflate the cuff and increase the cuff’s pressure again. As soon as a pulse is found, the pulse symbol
will be displayed. - The cuff position control symbol OK is displayed throughout the entire measurement. If the cuff is ap-plied too tightly or too loosely, then
and “ Er3” are displayed. In such cases, the measurement is cancelled after approx. 5 seconds and the device switches itself off. Apply the cuff correctly and take a new measurement. - The systolic pressure, diastolic pressure and pulse rate measurements are displayed.
- You can cancel the measurement at any time by pressing the START/STOP button
. - E_ appears if the measurement has not been performed properly. Observe the chapter on error messages/trou-bleshooting in these instructions for use and repeat the measurement.
- Now select the desired user memory by pressing the memory button M. If you do not select a user memory, the measurement is stored in the most recently used user memory. The relevant
symbol appears on the display. - To switch off, press the START/STOP button . If you forget to turn off the device, it will switch itself off auto-matically after approx. 3 minutes.
Wait for at least 1 minute before taking another measurement.
Evaluating results
Cardiac arrhythmia:
This device can identify potential disruptions of the heart rhythm when measuring and if necessary, indicates this after the measurement with the symbol
. This can be an indicator for arrhythmia. Arrhythmia is an illness in which the heart rhythm is abnormal because of flaws in the bioelectri-cal system that regulates the heartbeat. The symptoms
(skipped or premature heart beats, pulse being slow or too fast) can be caused by factors such as heart disease, age, physical make-up, excess stimulants, stress or lack of sleep. Arrhythmia can only be determined through an examination by your doctor. If the symbol
is shown on the display after the measurement has been taken, repeat the measure-ment. Please ensure that you rest for 5 minutes beforehand and do not speak or move during the measurement. If the symbol
appears frequently, please consult your doctor. Self-diagnosis and treatment based on the measurements can be dangerous. Always follow your GP’s instructions
Risk indicator:
- The measurements can be classified and evaluated in ac-cordance with the following table.
- However, these standard values serve only as a general guideline, as the individual blood pressure varies in different people and different age groups etc.
- It is important to consult your doctor regularly for advice. Your doctor will tell you your individual values for normal blood pressure as well as the value above which your blood pressure is classified as dangerous.
- The bar chart on the display and the scale on the unit show which category the recorded blood pressure values fall into. If the values of systole and diastole fall into two different categories (e.g. systole in the High normal category and diastole in the Normal category), the graphical classifica-tion on the device always shows the higher category; for the example given this would be High normal.
| Blood pressure value category | Systole (in mmHg) | Diastole (in mmHg) | Action |
| Setting 3: severe hypertension | ≥ 180 | ≥ 110 | seek medical attention |
| Blood pressure value category | Systole (in mmHg) | Diastole (in mmHg) | Action |
| Setting 2: mode- rate hypertension | 160 – 179 | 100 – 109 | seek medical attention |
| Setting 1: mild hypertension | 140 – 159 | 90 – 99 | regular monito- ring by doctor |
| High normal | 130 – 139 | 85 – 89 | regular monito- ring by doctor |
| Normal | 120 – 129 | 80 – 84 | self-monitoring |
| Optimal | < 120 | < 80 | self-monitoring |
Source: WHO, 1999 (World Health Organization)
Saving, displaying and deleting measured values
- The results of every successful measurement are stored together with the date and time. If there are more than 30 measurements, the oldest measurements are lost.
- Press the memory button M. Select the desired user memory ( … ) by pressing the memory button M again.
- If you press the function button +, the average value of all the stored measured values in the user memory will be displayed. If you press the function button + again, the average value of the morning measurements for the last 7 days will be displayed (morning: 5 a.m. – 9 a.m., display ). If you press the function button + again, the average value of the evening measurements for the last 7 days will be displayed (evening: 6 p.m. – 8 p.m., display ). If you continue to press the function button +, the most recent individual measured values are displayed in turn with the date and time.
- To switch off, press the START/STOP button .
- If you forget to switch off the device, it will switch itself off automatically after 30 seconds.
- If you want to delete the whole memory for a specific user, press the memory button M. Press and hold down the memory button M and the setting button SET simultaneously for 5 seconds.
Error messages/troubleshooting
In the event of errors, the error message _ appears on the screen. Error messages may appear if:
- It was not possible to correctly record the pulse: E1;
- No measurement could be taken: E2;
- The cuff is fastened too tightly or loosely: E3;
- Errors occur during the measurement: E4;
- The pump pressure is higher than 300 mmHg: E5;
- There is a system error. If this error message appears, please contact Customer Services: E6.
- The batteries are almost empty:
.
In such cases, repeat the measurement. Ensure that the cuff line is correctly attached and that you do not move or speak during the measurement.
If necessary, reinsert or replace the batteries.
Cleaning and storing the device and cuff
- Clean the device and cuff carefully using a slightly damp cloth only.
- Do not use any cleaning agents or solvents.
- Under no circumstances hold the device and cuff under water, as this can cause liquid to enter and damage the device and cuff.
- If you store the device and cuff, do not place heavy objects on the device and cuff. Remove the batteries. The cuff line should not be bent sharply.
Technical specifications

The serial number is located on the device or in the battery compartment. Technical information is subject to change without notifica-tion to allow for updates.
- This device complies with European Stand- ard EN60601-1-2 (In accordance with CISPR 11, IEC 61000-4-2, IEC 61000-4-3 and IEC 61000-4-8) and is subject to particular precautions with regard to elec-tromagnetic compatibility. Please note that portable and mobile HF communication systems may interfere with this unit.
- The device complies with the EU Medical Devices Directive 93/42/EEC, the German Medical Devices Act (Medizinproduktgesetz) and the standards EN1060-1 (Non-invasive sphygmomanometers – Part 1: General requirements), EN1060-3 (Non-invasive sphygmomanometers – Part 3: Supplementary requirements for electro-mechanical blood pressure measuring systems) and IEC80601-2-30 (Medical electrical equipment – Part 2 – 30: Particular requirements for the basic safety and essential performance of automated non-invasive sphygmomanometers).
- The accuracy of this blood pressure monitor has been carefully checked and developed with regard to a long useful life. If using the device for commercial medical pur-poses, it must be regularly tested for accuracy by appropriate means. Precise instructions for checking accuracy may be requested from the service address.
Replacement parts and wearing parts
Replacement parts and wearing parts are available from the corresponding listed service address under the stated material number.
| Designation | Item number and/or order number |
| Universal cuff (22 – 42 cm) | 163.911 |
Warranty/service
Further information on the guarantee and guarantee condi-tions can be found in the guarantee leaflet supplied.
Beurer GmbH
Söflinger Straße 218
89077 Ulm, Germany
www.beurer.com
www.beurer-blutdruck.de
www.beurer-gesundheitsratgeber.com
www.beurer-healthguide.com




and “ Er3” are displayed. In such cases, the measurement is cancelled after approx. 5 seconds and the device switches itself off. Apply the cuff correctly and take a new measurement.


















