MOWERS DIRECT 45-0597 Dethatcher

Read the manual that came with your Dethatches for:
- Important safety warnings
- Further explanation of features
- Operating instructions
CARTON CONTENTS

HARDWARE PACKAGE

Installation Instructions
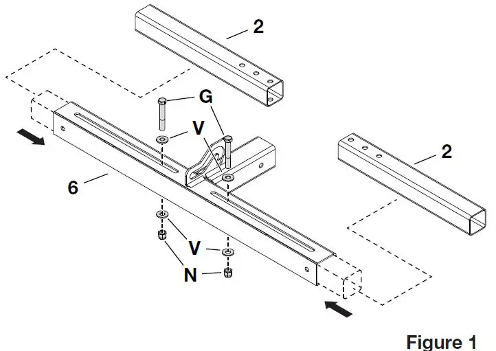
- STEP 1:
Insert a slider tube (2) into each end of the hitch mount assembly (6).Attach the slider tube to the hitch mount assembly using two hex bolts (G), four washers (V), and two NY lock hex nuts (N). Do not tighten.
- STEP 2:
- Attach the hitch mount assembly (6) to the tractor frame using two U-bolts (4) secured with two mounting brackets (3), four washers (U), and four NY lock hex nuts (P). Do not tighten.
- If the slider tube does not fully extend into both
U- bolts (4), then loosen the appropriate hex bolt (G) and reposition the slider tube (2). - Center the hitch mount assembly on the tractor frame.
- Tighten all hex bolts and hex nuts.

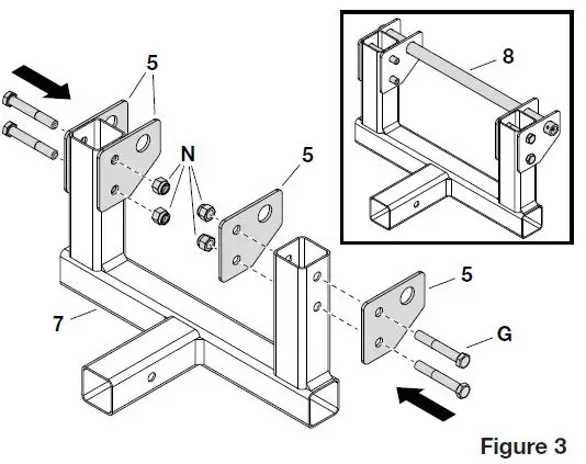
- STEP 3:
- Attach four pivot brackets (5) to the blade mount assembly (7) using four hex bolts (G) and Nylock hex nuts (N).
- To help align the pivot brackets (5), temporarily insert the pivot shaft (8) through the holes in the pivot brackets.
- Remove the pivot shaft (8) once the pivot brackets (5) are securely attached to the blade mount assembly (7).

- STEP 4:
- Insert the blade mount assembly (7) into the hitch mount assembly tube (6).
- Secure with a clevis pin (I) and a hair cotter pin (K).
- Insert the square plugs (ZZ) into the blade mount assembly (7).

- STEP 5:
- Insert the pivot shaft (8) through the two sets of pivot brackets (5) of the blade mount assembly (7) and the holes in the bulkhead (9).
NOTE: The holes to use in the bulkhead are deter-mined by your tractor height. - Secure each end of the pivot shaft (8) using a washer (Y) and a hair cotter pin (K).

- Insert the pivot shaft (8) through the two sets of pivot brackets (5) of the blade mount assembly (7) and the holes in the bulkhead (9).
- STEP 6:
- With a push tube (1) level to the hitch mount assembly (6), insert the uncapped end of the push tube into the bulkhead (9) hole at that height.
- Repeat with the second push tube (1).
- Secure each push tube (1) to the bulkhead (9) using a washer (Y) and hair cotter pin (K).

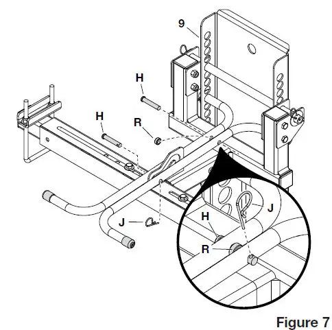
- STEP 7:
- Attach the two push tubes (1) together using a clevis pin (H) and a spacer (R) between the push tubes at the end closest to the bulkhead (9).
- Insert a second clevis pin (H) through the opposite side of the push tubes at the end furthest from the bulkhead (9).
- Secure each clevis pin using a hair cotter pin (J).
Note: We recommend the two hair cotter pins (P) be on opposite sides of the push tubes (1).
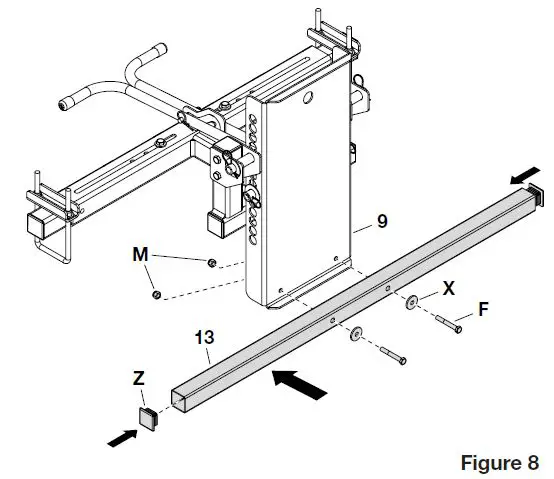
- STEP 8:
- Attach the square tube (13) to the bulkhead (9) using two hex bolts (F), washers (X) and hex nuts (M).
- Insert the two square plugs (Z) into the square tube.

- STEP 9:
- Attach mounting brackets (11) to the square tube (13) using two U-bolts (10).
- Secure the U-bolts with four washers (U) and four hex nuts (P).

- STEP 10:
- Attach the two lift brackets (12) to the two mounting brackets (11) with the two bolts (C) above the two bolts (D).
- Secure the two hex bolts (C) with the four washers (W) and two NY lock hex nuts (O).
- Secure the two hex bolts (D) with two NY lock hex nuts (M).

- STEP 11:
- Onto one tine mount bracket (14), attach six thatcher springs (15) using six hex bolts (B), six washers (T), and six rubber washers (S).
- Secure the hex bolts (B) and washers using six Ny lock hex nuts (L).
- On the second tine mount bracket, attach six thatcher springs (15) in a staggered pattern from the first tine mount bracket using six hex bolts (B), six washers (T), and six rubber washers (S).This will ensure the thatcher springs (15) are not directly in front of the tines on the previous tine mount bracket.
- Secure the hex bolts (B) and washers using six Ny lock hex nuts (L).


- STEP 12:
- Attach one tine mount bracket assembly (14) to the lift brackets (14) with four hex bolts (A).
- Secure the hex bolts with four NY lock nuts (M).
- Repeat for the other tine mount bracket assembly (14).

- STEP 13:
- Slide a spacer (27), a 1/2″ washer (35), and a wheel (2) onto the end of the axle.
- Slide a 1/2″ washer (35) over the axle and secure the wheel with a 1/8 x 1-1/4″ cotter pin (29), spreading the ends.

- STEP 14:
- Attach the wheel (17) to the wheel mount bracket (16) using a hex bolt (E), two washers (W), a hex nut (Q), and a Nylock hex nut (O).
- Tighten, but not too tight. The wheel should rotate easily

Problem?
Call: 1-800-448-9282































