ZEBRA ET51 Enterprise Tablet with Integrated Scanner User Guide
ZEBRA and the stylized Zebra head are trademarks of Zebra Technologies Corporation, registered in many jurisdictions worldwide. Google, Android, Google Play and other marks are trademarks of Google LLC. All other trademarks are the property of their respective owners. ©2021 Zebra Technologies Corporation and/or its affiliates. All rights reserved. COPYRIGHTS & TRADEMARKS: For complete copyright and trademark information, go to zebra.com/copyright. WARRANTY: For complete warranty information, go to zebra.com/warranty. END USER LICENSE AGREEMENT: For complete EULA information, go to zebra.com/eula.
Terms of Use
- Proprietary Statement
This manual contains proprietary information of Zebra Technologies Corporation and its subsidiaries (“Zebra Technologies”). It is intended solely for the information and use of parties operating and maintaining the equipment described herein. Such proprietary information may not be used, reproduced, or disclosed to any other parties for any other purpose without the express, written permission of Zebra Technologies. - Product Improvements
Continuous improvement of products is a policy of Zebra Technologies. All specifications and designs are subject to change without notice. - Liability Disclaimer
Zebra Technologies takes steps to ensure that its published Engineering specifications and manuals are correct; however, errors do occur. Zebra Technologies reserves the right to correct any such errors and disclaims liability resulting therefrom. - Limitation of Liability
In no event shall Zebra Technologies or anyone else involved in the creation, production, or delivery of the accompanying product (including hardware and software) be liable for any damages whatsoever (including, without limitation, consequential damages including loss of business profits, business interruption, or loss of business information) arising out of the use of, the results of use of, or inability to use such product, even if Zebra Technologies has been advised of the possibility of such damages. Some jurisdictions do not allow the exclusion or limitation of incidental or consequential damages, so the above limitation or exclusion may not apply to you.
Service Information
If you have a problem using the equipment, contact your facility’s Technical or Systems Support. If there is a problem with the equipment, they will contact the Zebra Support at: zebra.comhttp://zebra.com/support.
For the latest version of this guide go to: zebra.com/support.
Introduction
The ET51 is a wireless LAN (WLAN) tablet with built in scanner capabilities.
Features

| Item | Description |
| 1 | Adjustable Hand Strap – Use to securely hold the device in your hand. |
| 2 | Exit Window – Provides data capture using the imager. |
| 3 | Ambient Light Sensor – Recognizes the ambient light and adjusts the display brightness (if enabled). |
| 4 | Front Microphones – Use for voice communications or audio recordings. |
| 5 | Front Facing Camera – Use for video conferencing or capturing images and video. |
| 6 | Power Button – Push once to start the device; push it again to enable sleep mode. Push and hold it to shut down the device. |
| 7 | Volume Key – Push the left side to reduce the volume. Press the right side to increase the volume. |
| 8 | USB-C Port – Provide charging using USB-C cable and power supply (ET51CE only). |
| 9 | Charging Indicator LED – Indicates charging status. Off – device is not connected to charger. Blinking Amber – Android ™ device is charging. Solid Amber – Windows® device is charging. Green – device is connected and fully charged. Red – charge error. |
| 10 | Indicator LED – Lights red when the camera is activate. Momentarily lights red when the device boots and shuts down (Windows). Lights blue when a notification is received (Android). |

| Item | Description |
| 11 | Back Cover – Covers the service replaceable battery. |
| 12 | NFC Antenna Position – Use to read NFC cards. |
| 13 | Scan Button – Initiates barcode data capture when a scan-enabled application is active. |
| 14 | Rear Camera – Use for high resolution images and video. |
| 15 | Camera LED Flash – Provides illumination for the camera. |
| 16 | Stereo Speakers – Provides audio playback. |
| 17 | Docking Connector – Interfaces with the cradle. |
Besides the device, the box also includes:
- Two rubber covers for use with the Rugged Communication and Charging Cradle.
- Additional screws for mounting the hand strap on the back of the device. See the ET51/56 Integrator Guide for more information.
Installing a micro SD Card
To install a microSD card:
- Press the Power button to turn off the device.
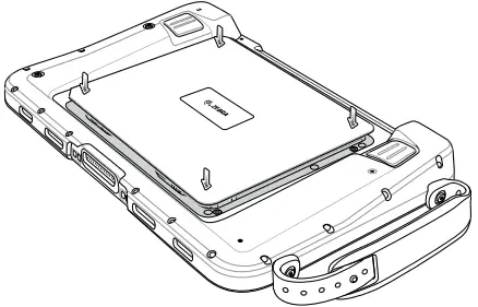
- Lift the notched corner of the battery cover.
- Carefully lift the battery cover off the device.

- Push the two locking tabs up, then pull up on the tab to remove battery.

- Insert the microSD card with contacts facing down.

- Push the micro SD card in and ensure that it locks into place.
- Replace the battery

CAUTION: Be aware of the orientation of the battery cover. Failure to replace the battery cover properly may damage the battery cover. - Align the tabs on the underside of the cover with the slot around the battery well. Make sure that the notch on the battery cover is at the bottom left cover of the device.

- Carefully press down around the edge of the cover. Make sure that the cover is seated properly.
- Press Power button to turn on the device.
Charging the Device
Use the Rugged Communication and Charging Cradle to charge the device. See ET51/56
User Guide for more information.
Power supply (PWR-BGA12V50W0WW), DC Line Cord (CBL-DC-388A1-01), and country-specific AC line cord, sold separately.
Insert the two rubber covers over the backs of the cradle.
- Align the device with the alignment pins on the cradle.
- Insert the device into the cradle. Note that the Communication Cradle contains a locking mechanism that locks the device to the cradle.

- The Charging LED indicates charging.
To remove the device from the cradle, press the release button on the right side of the cradle and lift the device. Use thumb to hold down the cradle.
The tablet main battery charges from fully depleted to 90% in approximately 2 hours and from fully depleted to 100% in approximately 3 hours.
Charging Using USB-C Port
To charge the device:
- Connect USB-C cable (CBL-TC2X-USBC-01) to power supply (PWR-WUA5V12W0xx). Plug power supply into AC outlet.
- Open USB port access cover on the device.
- Plug the USB-C connector into the USB-C port.

Scanning
To capture barcode data:
- Ensure that an application is open on the device and a text field is in focus (text cursor in text field).
- Point the top of the device at a barcode.

- Press and hold either Scan button.
- The red aiming pattern turns on to assist in aiming. Ensure the barcode is within the area formed by the aiming pattern. The aiming dot is used for increased visibility in bright lighting conditions.

- A beep sounds to indicate the barcode was decoded successfully. Note that when the device is in Pick List Mode, the device does not decode the barcode until the center of the dot touches the barcode.
- Release the scan button.
- The captured data appears in the text field
Using the Camera
To take photos or videos:
- Open the Camera application. The Camera Indicator LED lights red (Windows only).
- Point the device camera at an object.
- Touch the on-screen shutter button to take a photo or record a video.

Reading NFC Cards
The device supports reading NFC cards. The NFC antenna is located on the back of the device under the NFC logo.
With an NFC enabled application open, bring the NFC card toward the antenna. Depending upon the application, an audio or visual indication indicates successful reading of the card.
Regulatory Information
This device is approved under Zebra Technologies Corporation.
This guide applies to the following Model Numbers: ET51AE, and ET51CE.
All Zebra devices are designed to be compliant with rules and regulations in locations they are sold and will be labeled as required.
Local language translations are available at the following website: zebra.com/support.
Any changes or modifications to Zebra equipment, not expressly approved by Zebra, could void the user’s authority to operate the equipment.
Declared maximum operating temperature: +50°C.
CAUTION: Only use Zebra approved and UL Listed accessories, battery packs and battery chargers.
Do NOT attempt to charge damp/wet mobile computers or batteries. All components must be dry before connecting to an external power source.
UL Listed Products with GPS
Underwriters Laboratories Inc. (UL) has not tested the performance or reliability of the Global Positioning System (GPS) hardware, operating software, or other aspects of this product. UL has only tested for fire, shock, or casualties as outlined in UL’s Standard(s) for Safety for Information Technology Equipment, UL60950-1. UL Certification does not cover the performance or reliability of the GPS hardware and GPS operating software. UL makes no representations, warranties, or certifications whatsoever regarding the performance or reliability of any GPS related functions of this product.
Bluetooth® Wireless Technology
This is an approved Bluetooth® product. For more information or to view the End Product Listing, please visit bluetooth.org/tpg/listings.cfm.
Wireless Device Country Approvals
Regulatory markings subject to certification are applied to the device signifying the radio(s) is/are approved for use in the following countries and continents: United States, Canada, Japan, China, South Korea, Australia, and Europe.
Please refer to the Declaration of Conformity (DoC) for details of other country markings.
This is available at: zebra.com/doc.
Note: Europe includes Austria, Belgium, Bulgaria, Croatia, Czech Republic, Cyprus, Denmark, Estonia, Finland, France, Germany, Greece, Hungary, Iceland, Ireland, Italy, Latvia, Liechtenstein, Lithuania, Luxembourg, Malta, Netherlands, Norway, Poland, Portugal, Romania, Slovak Republic, Slovenia, Spain, Sweden, Switzerland, and the United Kingdom.
CAUTION: Operation of the device without regulatory approval is illegal.
Country Roaming
This device incorporates the International Roaming feature (IEEE802.11d), which will ensure the product operates on the correct channels for the particular country of use.
Wi-Fi Direct
Operation is limited to the following channels/bands as supported in the country of use:
- Channels 1 – 11 (2,412 – 2,462 MHz)
- Channels 36 – 48 (5,150 – 5,250 MHz)
- Channels 149 – 165 (5,745 – 5,825 MHz)
Frequency of Operation – FCC and IC
5 GHz Only
Industry Canada Statement
CAUTION: The device for the band 5,150 – 5,250 MHz is only for indoor usage to reduce potential for harmful interference to co-Channel mobile satellite systems. High power radars are allocated as primary users (meaning they have priority) of 5,250 – 5,350 MHz and 5,650 – 5,850 MHz and these radars could cause interference and/or damage to LE-LAN devices.
2.4 GHz Only
The available channels for 802.11 operation in the US are Channels 1 to 11. The range of channels is limited by firmware.
Health and Safety Recommendations
Ergonomic Recommendations
CAUTION: In order to avoid or minimize the potential risk of ergonomic injury follow the recommendations below. Consult with your local Health & Safety Manager to ensure that you are adhering to your company’s safety programs to prevent employee injury.
- Reduce or eliminate repetitive motion
- Maintain a natural position
- Reduce or eliminate excessive force
- Keep objects that are used frequently within easy reach
- Perform tasks at correct heights
- Reduce or eliminate vibration
- Reduce or eliminate direct pressure
- Provide adjustable workstations
- Provide adequate clearance
- Provide a suitable working environment
- Improve work procedures.
Safety in Aircraft
Switch off your wireless device whenever you are instructed to do so by airport or airline staff. If your device offers a ‘flight mode’ or similar feature, consult airline staff as to its use in flight.
Safety in Hospitals
Wireless devices transmit radio frequency energy and may affect medical electrical equipment.
Wireless devices should be switched off wherever you are requested to do so in hospitals, clinics, or healthcare facilities. These requests are designed to prevent possible interference with sensitive medical equipment.
Pacemakers
Pacemaker manufacturers recommended that a minimum of 15 cm (6 inches) be maintained between a handheld wireless device and a pacemaker to avoid potential interference with the pacemaker. These recommendations are consistent with independent research and recommendations by Wireless Technology Research.
Persons with Pacemakers:
- Should ALWAYS keep the device more than 15 cm (6 inches) from their pacemaker when turned ON.
- Should not carry the device in a breast pocket.
- Should use the ear furthest from the pacemaker to minimize the potential for interference.
- If you have any reason to suspect that interference is taking place, turn OFF your device.
Other Medical Devices
Please consult your physician or the manufacturer of the medical device, to determine if the operation of your wireless product may interfere with the medical device.
RF Exposure Guidelines
Safety Information
Reducing RF Exposure – Use Properly
Only operate the device in accordance with the instructions supplied.
International
The device complies with internationally recognized standards covering human exposure to electromagnetic fields from radio devices. For information on “International” human exposure to electromagnetic fields refer to the Zebra Declaration of Conformity (DoC) at zebra.com/doc.
For further information on the safety of RF energy from wireless devices, see zebra.com/responsibility located under Corporate Responsibility.
Europe
Handheld Devices
This device was tested for typical body-worn operation. Use only Zebra tested and approved belt-clips, holsters, and similar accessories to ensure EU Compliance.
US and Canada
Co-located statement
To comply with FCC RF exposure compliance requirement, the antenna used for this transmitter must not be co-located or operating in conjunction with any other transmitter/antenna except those already approved in this filling.
Use only Zebra tested and approved belt clips, holsters, and similar accessories to ensure FCC Compliance. The use of third-party belt clips, holsters, and similar accessories may not comply with FCC RF exposure compliance requirements and should be avoided. The FCC has granted an Equipment Authorization for these model phones with all reported SAR levels evaluated as in compliance with the FCC RF emission guidelines. SAR information on these model phones is on file with the FCC and can be found under the Display Grant section of fcc.gov/oet/ea/fccid.
Handheld Devices
This device was tested for typical body worn operation. Use only Zebra tested and approved belt-clips, holsters, and similar accessories to ensure FCC Compliance. The use of third-party belt clips, holsters, and similar accessories may not comply with FCC RF exposure compliance requirements, and should be avoided.
To satisfy US and Canadian RF exposure requirements, a transmitting device must operate with a minimum separation distance of 0 cm or more from a person’s body.
Laser Devices
LED Devices
Classified as ‘EXEMPT RISK GROUP’ according to IEC 62471:2006 and EN 62471:2008. Pulse duration: CW.
Batteries
Taiwan – Recycling
EPA (Environmental Protection Administration) requires dry battery producing or importing firms in accordance with Article 15 of the Waste Disposal Act are required to indicate the recycling marks on the batteries used in sales, giveaway or promotion. Contact a qualified Taiwanese recycler for proper battery disposal.
Battery Information
CAUTION: Risk of explosion if battery is replaced by an incorrect type. Dispose of batteries according to instructions.
Use only Zebra approved batteries. Accessories which have battery charging capability are approved for use with the following battery models:
- Model: AMME3735 (7.6 VDC, 3,300 mAh) for 8.4″ ET51AE
- Model: BT-000393 (3.8 VDC, 6,350 mAh) for 8.4″ ET51CE
Zebra approved rechargeable battery packs are designed and constructed to the highest standards within the industry.
However, there are limitations to how long a battery can operate or be stored before needing replacement. Many factors affect the actual life cycle of a battery pack, such as heat, cold, harsh environmental conditions and severe drops.
When batteries are stored over six (6) months, some irreversible deterioration in overall battery quality may occur. Store batteries at half of full charge in a dry, cool place, removed from the equipment to prevent loss of capacity, rusting of metallic parts and electrolyte leakage. When storing batteries for one year or longer, the charge level should be verified at least once a year and charged to half of full charge.
Replace the battery when a significant loss of run time is detected.
Standard warranty period for all Zebra batteries is one year, regardless if the battery was purchased separately or included as part of the mobile computer or bar code scanner. For more information on Zebra batteries, please visit: zebra.com/batterybasics.
Battery Safety Guidelines
The area in which the units are charged should be clear of debris and combustible
materials or chemicals. Particular care should be taken where the device is charged in a
non-commercial environment.
- Follow battery usage, storage, and charging guidelines found in the user’s guide.
- Improper battery use may result in a fire, explosion, or other hazard.
- To charge the mobile device battery, the battery and charger temperatures must be between +32°F and +104°F (0°C and +40°C).
- Do not use incompatible batteries and chargers. Use of an incompatible battery or charger may present a risk of fire, explosion, leakage, or other hazard. If you have any questions about the compatibility of a battery or a charger, contact Zebra support.
- Do not disassemble or open, crush, bend or deform, puncture, or shred.
- Severe impact from dropping any battery-operated device on a hard surface could cause the battery to overheat.
- Do not short circuit a battery or allow metallic or conductive objects to contact the battery terminals.
- Do not modify or remanufacture, attempt to insert foreign objects into the battery, immerse or expose to water or other liquids, or expose to fire, explosion, or other hazard.
- Do not leave or store the equipment in or near areas that might get very hot, such as in a parked vehicle or near a radiator or other heat source. Do not place battery into a microwave oven or dryer.
- Battery usage by children should be supervised.
- Please follow local regulations to promptly dispose of used re-chargeable batteries.
- Do not dispose of batteries in fire.
- Seek medical advice immediately if a battery has been swallowed.
- In the event of a battery leak, do not allow the liquid to come in contact with the skin or eyes. If contact has been made, wash the affected area with large amounts of water and seek medical advice.
- If you suspect damage to your equipment or battery, contact Zebra support to arrange for inspection.
Removing the Battery
- Lift the notched corner of the battery cover.

- Carefully lift the battery cover off the device.
- Push the two locking tabs up, then pull up on the tab to remove battery.

Radio Frequency Interference Requirements-FCC
Note: This equipment has been tested and found to comply with the limits for a Class B digital device, pursuant to Part 15 of the FCC rules. These limits are designed to provide reasonable protection against harmful interference in a residential installation. This equipment generates, uses and can radiate radio frequency energy and, if not installed and used in accordance with the instructions, may cause harmful interference to radio communications. However there is no guarantee that interference will not occur in a particular installation. If this equipment does cause harmful interference to radio or television reception, which can be determined by turning the equipment off and on, the user is encouraged to try to correct the interference by one or more of the following measures:
- Reorient or relocate the receiving antenna
- Increase the separation between the equipment and receiver
- Connect the equipment into an outlet on a circuit different from that to which the receiver is connected
- Consult the dealer or an experienced radio/TV technician for help.
Radio Transmitters (Part 15)
This device complies with Part 15 of the FCC Rules. Operation is subject to the following two conditions: (1) this device may not cause harmful interference, and (2) this device must accept any interference received, including interference that may cause undesired operation.
Radio Frequency Interference Requirements – Canada
Innovation, Science and Economic Development Canada ICES-003 Compliance Label: CAN ICES-3 (B)/NMB-3(B)
Radio Transmitters
This device complies with Industry Canada’s licence-exempt RSSs. Operation is subject to the following two conditions: (1) This device may not cause interference; and (2) This device must accept any interference, including interference that may cause undesired operation of the device.
For RLAN Devices:
The use of 5 GHz RLAN in Canada has the following restriction:
- Restricted Band 5.60 – 5.65 GHz
: - Bande restreinte 5.60 – 5.65 GHz
Label Marking: The Term ‘IC:’ before the radio certification only signifies that Industry Canada technical specifications were met.
Marking and European Economic Area (EEA)
The use of 5 GHz RLAN throughout the EEA has the following restrictions:
5.15 – 5.35 GHz is restricted to indoor use only.
Statement of Compliance
Zebra hereby declares that this radio equipment is in compliance with Directives, 2014/53/EU and 2011/65/EU. The full text of the EU Declaration of Conformity is available at the following internet address: zebra.com/doc.
EU Importer : Zebra Technologies B.V
Address: Mercurius 12, 8448 GX Heerenveen, Netherlands
Waste Electrical and Electronic Equipment (WEEE)
For EU and UK Customers: All products at the end of their life must be returned to Zebra for recycling. For information on how to return product, please go to: zebra.com/weee.
Turkish WEEE Statement of Compliance
EEE Yönetmeliğine Uygundur.
United Kingdom
Statement of Compliance
Zebra hereby declares that this radio equipment is in compliance with the Radio Equipment Regulations 2017 and the Restriction of the Use of Certain Hazardous Substances in Electrical and Electronic Equipment Regulations 2012.
Any radio operation limitations within UK are identified in Appendix A of UK Declaration of Conformity.
The full text of the UK Declaration of Conformity is available at: zebra.com/doc.
UK Importer: Zebra Technologies Europe Limited
Address: Dukes Meadow, Millboard Rd, Bourne End, Buckinghamshire, SL8 5XF
Software Support
Zebra wants to ensure that customers have the latest release of entitled software at the time of product purchase.
To confirm that your Zebra device shipped with the latest release of entitled software, visit: zebra.com/support. Check for the latest software from Software Downloads > Product Line/Product > Go.
If your device does not have the latest entitled software release as of your product purchase date, please e-mail a request to Zebra at: [email protected].
You must include the following essential device information with your request:
- Model number
- Serial number
- Proof of purchase
- Title of the software download you are requesting.
If it is determined by Zebra that your device is entitled to the latest software release, you will receive an e-mail containing a link directing you to a Zebra web site to download the appropriate software.
CMM Disclosure
| (Parts) | ![]() | |||||
| (Pb) | (Hg) | (Cd) | (Cr(VI)) | (PBB) | (PBDE) | |
| (Metal Parts) | X | O | X | O | O | O |
| (Circuit Modules) | X | O | O | O | O | O |
| (Cables and Cable Assemblies) | O | O | O | O | O | O |
| (Plastic and Polymeric Parts) | O | O | O | O | O | O |
| Optical Components) | O | O | O | O | O | O |
| (Batteries) | X | O | O | O | O | O |
Note 1: “Exceeding 0.1 wt%” and “exceeding 0.01 wt%” indicate that the percentage content of the restricted substance exceeds the reference percentage value of presence condition.
Note 2: “O” indicates that the percentage content of the restricted substance does not exceed the percentage of reference value of presence.
Note 3: The “ − ” indicates that the restricted substance corresponds to the exemption.
ZEBRA and the stylized Zebra head are trademarks of Zebra Technologies
Corporation, registered in many jurisdictions worldwide. All other trademarks are the property of their respective owners. ©2021 Zebra Technologies Corporation and/or its affiliates. All rights reserved

References
Launch Studio - Listing Search
FCC ID Search | Federal Communications Commission
Launch Studio - Listing Search
FCC ID Search | Federal Communications Commission
Zebra Technologies | Visible. Connected. Optimized.
zebra.com/batterybasics
Declarations of Conformity | Zebra Technologies
RF Exposure and Assessment Standards
WEEE and EU Battery Directive FAQs | Zebra
zebra.com/batterybasics
Copyright
Declarations of Conformity | Zebra Technologies
RF Exposure and Assessment Standards
Support and Downloads | Zebra
Product Warranty Information | Zebra
WEEE and EU Battery Directive FAQs | Zebra
RF Exposure and Assessment Standards
































