NTS Capacitive Level Limit Switch for Bulk Goods
Instruction Manual
Manufactured and sold by:
Kobold Messring GmbH
Nordring 22-24
D-65719 Hofheim
Tel.: +49(0)6192-2990
Fax: +49(0)6192-23398
E-Mail: [email protected]
Internet: www.kobold.com
Note
Please read these operating instructions before unpacking and putting the unit into operation. Follow the instructions precisely as described herein.
The instruction manuals on our website www.kobold.com are always for the currently manufactured versions of our products. Due to technical changes, the instruction manuals available online may not always correspond to the product version you have purchased. If you need an instruction manual that corresponds to the purchased product version, you can request it from us free of charge by email ([email protected]) in PDF format, specifying the relevant invoice number and serial number. If you wish, the operating instructions can also be sent to you by post in paper form against an applicable postage fee.
The devices are only to be used, maintained and serviced by persons familiar with these operating instructions and in accordance with local regulations applying to Health & Safety and prevention of accidents.
When used in machines, the measuring unit should be used only when the machines fulfill the EC-machine guidelines.
Instrument Inspection
Instruments are inspected before shipping and sent out in the perfect condition.
Should damage to a device be visible, we recommend a thorough inspection of the delivery packaging. In case of damage, please inform your parcel service /forwarding agent immediately, since they are responsible for damages during transit.
Scope of delivery:
The standard delivery includes:
- Capacitive Level Limit Switch for bulk goods
model: NTS
Regulation Use
Any use of the Capacitive Level Limit Switch for bulk goods, model: NTS, which exceeds the manufacturer’s specification may invalidate its warranty. Therefore, any resulting damage is not the responsibility of the manufacturer. The user assumes all risk for such usage.
Operating Principle
The Kobold NTS Level Limit Switch for bulk goods operates on the capacitive measuring technique. The measuring probe, tank, or vessel wall forms a capacitor.
The capacitance depends on the medium between the probe and the wall.
If air is present (tank empty), the capacitance is low. As soon as the product touches the probe, the capacitance increases. This change in capacitance is detected electronically and converted to a switching signal when the capacitance rises above or drops below the limit.
The instrument has a changeover feature for minimum/ maximum safety. The switch point is always accurately maintained by the “deposit compensation” even with deposit formation. The effect of deposit compensation depends on the density of the coating on the probe, the conductance of the coating as well as the adjustable sensitivity. The NTS is adjusted at the factory; the sensitivity can be re-adjusted however. For non-conductive vessels, the earth connection must be attached to nearby conductive and earthed objects.
Mechanical Connection
6.1. Installation examples
6.2. Installation
Screw in the NTS limit switch. Do not use housing to turn.
Electrical Connection
Caution! Make sure that the voltage values of your system correspond with the voltage values of the measuring unit.
7.1. DC version, PNP (DC terminal)

7.2. AC / DC version (AC-DC universal terminal)
Operation
8.1. Setting fail-safe mode
1 = Position of switch
2 = Green illuminating diode for operating state
3 = Red illuminating diode for switching state
8.2. Optimising performance
Proper device function is ensured in switch configuration B (= factory setting).
This setting does not normally need to be changed.
The switch configuration should be changed only under the following conditions:
- Tendency to heavy build-up on the probe
- Mounting in a non-metallic vessel
Explanation of display:
N = container non-metallic
M = container metallic
εr = relative permittivity of the bulk material (DK-value)
Technical Information
| Housing: | Plastic |
| Probe: | PPS (polyphenylene sulfide) |
| Medium: | DK value εr ≥ 1.6 bulk materials up to grain size 30mm, bulk weight min. 200 g/L |
| Connection: | R 1 male thread DIN 2999/ISO 7 Option: installation coupling R 1 1/2 or G 1 1/2 |
| Auxiliary power: | DC version 10.8 to 45 VDC/max. 30 mA AC/DC version 20 to 253 VAC or 20 to 55 VDC max. 130 mA |
| Output: | DC version PNP/Imax 200 mA overload and short-circuit proof AC/DC version Change-over contact potential-free: Imax 4 A; lmin 1 mA; Umax 253 V Umin 6 V; Pmax 1000 VA |
| Failure signal: | DC-PNP < 100 µA AC/DC relay dropped out |
| Switch delay: | 0.5 s becoming uncovered/becoming covered |
| Error of measurement: | horizontal ± 3 mm vertical ± 6 mm |
| Hysteresis: | horizontal 4 mm vertical 7 mm |
| Switch point: | horizontal: middle of probe -5 mm Vertical: 40 mm above end of probe |
| Electrical connection: | terminal connection |
| Protection: | IP 66 |
| Medium temperature: | – 40 to 120 °C |
| Ambient temperature: | – 40 to 70 °C |
| Operating pressure: | – 1 to 25 bar |

9.1. Bulk material density ρ
Order Codes
(Example: NTS-1000R25)
| Connection male thread | Order number | |
| 20-55 VDC 20-253 VAC | 10,8-45 VDC | |
| Standard R 1 male thread | NTS-1000 R25 | NTS-1001 R25 |
| Option: with installation coupling R 1 ½ | NTS-1000 R40 | NTS-1001 R40 |
| Option: with installation coupling G 1 ½ | NTS-1000 G40 | NTS-1001 G40 |
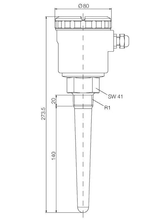
Dimensions

NTS
Adapter for NTS:

EU Declaration of Conformance
We, KOBOLD-Messring GmbH, Hofheim-Ts, Germany, declare under our sole responsibility that the product:
Capacitive Level Limit Switch for bulk goods model: NTS
to which this declaration relates is in conformity with the standards noted below:
EN 61010-1:2010
Safety requirements for electrical equipment for measurement, control and laboratory use – Part 1: General requirements
EN 61326-1:2013
Electrical equipment for measurement, control, and laboratory use – EMC requirements – Part 1: General requirements
EN 61326-2-3:2013
Electrical equipment for measurement, control, and laboratory use – EMC requirements – Part 2-3: Particular requirements – Test configuration, operational conditions and performance criteria for transducers with integrated or remote signal conditioning
The following EEC guidelines are also fulfilled:
2014/35/EU Low voltage guideline
2014/30/EU Electromagnetic compatibility
Hofheim, 22. Sept. 2016




















