VALIN Go Switch Limit Switch

Caution- Switch Damage
- Switch must be installed according to local electrical codes.
- Wiring connections must be properly secured.
- For two-circuit switches, contacts must be connected to the same polarity in order to minimize the possibility of a line-to-line short.
- In damp environments, use a certified cable gland or a similar moisture barrier to prevent water/condensation from entering conduit hub.
Danger- Improper Use
All switches must be installed per the certification requirements.
Mounting tips for standard and latching switch
- Determine the desired operating point.
- Determine location of the sensing area on the GO™ Switch.

- Position the switch and target in a position that ensures the target comes within the switches sensing area.
In Figure 1, the target has been posi-tioned to stop on the outside edge of the sensing envelope. This is a margin-al condition for long term reliable operation.

In Figure 2, the target has been positioned to stop well within the sensing envelope which will assure long reliable operation.
Ferrous target needs to be at least one cubic inch in size. If the target is less than one cubic inch in size, it may significantly reduce operational effectiveness or the target might not be detected by the switch.

In Figure 3, the ferrous target is too small to be detected reliably over the long term.
In Figure 4, the target has sufficient size and mass for long term reliable operation.
- Switch may be mounted in any position.
Side by side on non-ferrous bracket (Figure 5 and 6).

- Switch mounted on non-magnetic materials
Recommended for the best results
a). Keep all ferrous materials at least 1” from switch.
b). Steel placed outside the switches sensing area will not affect functioning.
It is not recommended that switches are mounted on ferrous metal, due to the reduction in sensing distance.
Activate/Deactivate the switch
a). Switch with standard contacts – has sensing area on one side of the switch (A). To activate, the ferrous or magnetic target must fully enter the sensing area of the switch (Figure 7). To deactivate the target must move fully outside the sensing area, equal or greater than the reset distance in Table.

To activate the contacts on side A (see Figure 10), the target must fully enter sensing area A of the switch (see sensing ranges in Table x). To deactivate the contacts on side A and activate on side B, the target must move fully outside of sensing area A and anoth-er target fully enter sensing area B (Figure 11). To reactivate the contacts on side A, the target must fully exit sensing area B and the target must fully re-enter sensing area A
(Figure 13).

Sensing Range
Ferrous Target
Steel bar target 1/2” (13mm) x 1” (25mm) x4” (102mm). Factory standards ferrous target used to establish sensing and reset distance. (Figure 14).
A- Sensing
B- Reset

Sensing range including ferrous target and magnets.

Sealing Switches

In Figure 14, the conduit system is filled with water and is leaking inside the switch. Over a period of time, this may cause the switch to fail prematurely. In Figure 15, the termination of the switch may be fitted with a certified thread-ed cable entry device (user supplied) in accordance with the manufacturer’s instructions to prevent water intrusion resulting in premature switch failure. A drip loop with provision for water to escape has also been installed.
Attachment of Conduit or Cable

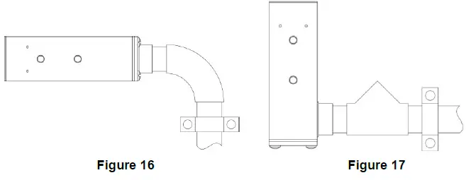
If the switch is mounted on a moving part, be sure that the flexible conduit is long enough to allow for movement, and positioned to eliminate binding or pulling. (Figure 16). In damp applications, use a certified cable gland or a similar moisture barrier to prevent water/condensation from entering the conduit hub. (Figure 17).
Wiring Information
Ratings
| AC | Volts | 120 | 240 | 480 |
| Amps | 10 | 5 | 2.5 | |
| DC | Volts | 24 | 48 | 120 |
| Amps | 3 | 1 | 0.5 |

All GO Switches are dry contact switches, meaning that they have no voltage drop when closed, nor do they have any leakage current when open. For multiunit installation, switches may be wired in series or in parallel.
Wiring Diagrams



Grounding
Depending on certification requirements, GO Switches may be supplied with or without an integral ground wire. If supplied without ground wire, installer must ensure proper ground connection to the enclosure.
EU Declaration of Conformity
The products described herein, conform to the provisions of the following Union
Directives, including the latest amendments:
Low Voltage Directive (2006/95/EC)
EMC Directive (2004/108/EC)
Machinery Directive (2006/42/EC)
ATEX Directive (2014/34/EU).

Special Conditions for Intrinsic Safety
- Both contacts of the Double Throw and the separate poles of the Double Pole switch, within one switch must form part of the same intrinsically safe circuit.
- The proximity switches do not require a connection to earth for safety purposes, but an earth connection is provided which is directly connected to the metallic enclosure. Normally an intrinsically safe circuit may be earthed at one point only. If the earth connection is used, the implication of this must be fully considered in any installation. I.e. by use of a galvanically isolated interface.
The terminal block variants of the equipment are fitted with a non-metallic cover that constitutes a potential electrostatic hazard and must only be cleaned with a damp cloth. - The switch must be supplied from a certified Ex ia IIC Intrinsically safe source.
- The flying leads must be terminated in a manner suitable for the zone of installation.
Terminal Block Wiring For Flameproof And Increased Safety
- External earth bonding can be achieved via the mounting fixings. These fixings should be in stainless steel or an alternati ve nonferrous metal in order to minimize both corrosion and magnetic interference of the switch function. The connection shall made in such a manner as to prevent loosening and twisting (e.g. with shaped lugs/nuts and locking washers).
- Suitably certified cable entry devices shall be installed in accordance with IEC60079-14 and must maintain the ingress protection (IP) rating of the enclosure. The cable entry device thread shall not protrude within the enclosure body (i.e. shall maintain the clearance to the terminals).
- Only one single or multiple strand conductor of size 16 to 18 AWG (1.3 to 0.8mm2) is to be accommodated in each terminal. The insulation of each conductor shall extend to within 1 mm of the terminal clamping plate. Connection lugs and/or ferrules are not permitted.

Wiring must be 16 to 18 gauge and rated for the electrical load marked on the switch with a service temperature of at least 80°C.
Wire terminal screws, (4) #8-32X5/16” stainless with annular ring, must be tightened down to 2.8 N-m [25 lb-in].
Cover plate must be tightened down to terminal block to a value of 1.7 N-m [15 lb-in].
Marking

Visit www.topworx.com for
comprehensive information on our company, capabilities, and products – including model numbers, data sheets, specifications, dimensions, and certifications.
[email protected]
www.topworx.com
© 2013-2016 TopWorx, All rights reserved. TopWorx™, and GO™ Switch ar all trademarks of TopWorx™. The Emerson logo is a trademark and a service mark of Emerson Electric. Co. © 2013-2016 Emerson Electric Company. All other marks are the property of their respective owners. Information herein – including product specifications – is subject to change without notice.
GLOBAL SUPPORT OFFICES
Americas
3300 Fern Valley Road
Louisville, Kentucky 40213 USA
+1 502 969 8000
[email protected]
Europe
Horsfield Way
Bredbury Industrial Estate
Stockport SK6 2SU
United Kingdom
+44 0 161 406 5155
[email protected]
Africa
24 Angus Crescent
Longmeadow Business Estate East
Modderfontein
Gauteng
South Africa
27 011 441 3700
[email protected]
Middle East
P.O. Box 17033
Jebel Ali Free Zone
Dubai 17033
United Arab Emirates
971 4 811 8283
[email protected]
Asia-Pacific
1 Pandan Crescent
Singapore 128461
+65 6891 7550
[email protected]



















