
Instruction Manual for Electric Contact Grill
Moldel PG 1 (443-1000) / PG 1B (443-1005) / PG 2 (443-1010)
Abb. 443-1010
Translation of the original
Dear customer,
congratulations on the purchase of this electric contact grill!
Saros electric contact grills are made of high-quality stainless steel. The grill plate is made of solid cast iron. The high-quality materials ensure incomparable functionality and good success.
This type of construction also offers excellent energy efficiency and guarantees a uniform temperature over the entire surface. Temperatures of up to 300 °C are quickly reached.
The grill is easy to set up and simple to use. Innovative in design and completely made of stainless steel, the grill offers a unique solution for your requirements. Please read these instructions carefully before using the grill.
We hope you enjoy your new electric contact grill!
INTRODUCTION
Before commissioning this device, please read these operating instructions carefully and carefully and observe the information contained therein.
These operating instructions provide information on the construction, setup, operation, maintenance, cleaning and possible disposal of this device.
These operating instructions are part of the device and should be kept near the device and accessible to all persons involved in the installation, operation, cleaning or maintenance of this device at all times.
When passing on the device to third parties, these operating instructions must be provided.
Illustrations in this manual may differ from the original article.
We reserve the right to make technical changes to the device.
The safety of the device is no longer guaranteed if these operating instructions are not observed.
The manufacturer/dealer cannot be held responsible for damage caused by non-observance of these operating instructions.
SCOPE OF SUPPLY
- 1 professional electric grill
- 1 operating manual
STANDARDS AND GUIDELINES
The device complies with the current EU standards and directives.
If required, we will send you the corresponding declaration of conformity.
TECHNICAL OVERVIEW
| MODELL | PG 1 | PG 1B | PG 2 |
| Art. | 443-1000 | 443-1005 | 443-1010 |
| Material ( Housing & Dripping tray) | Stainless steel | Stainless steel | Stainless steel |
| Dimensions extern. (mm) | B 320 xT410 x H 190 | B440 xT410 xH 190 | B580 xT410 x H 190 |
| Dimensions plate top (mm) | B 215 xT 215 | B340 xT 215 | 2 xB 215 xT 215 |
| Dimensions plate bottom (mm) | B 220 xT230 | B 340 xT 230 | B 440 x1230 |
| Connection (V/ Ph./ Hz/ kW) | 230/1/50/1,8 | 230/1 /50/2,2 | 230/1/50/3,6 |
| Weight (kg) | 16 | 19 | 25 |
| Temperatur (°C) | +50 / +300 | +50 / +300 | +50 / +300 |
| Drip tray | yes | yes | yes |
| Grooved plate | yes | yes | yes |
| CODE | 4017337035717 | 4017337035724 | 4017337035731 |
| Subject to technical modifications! | ![]() | ![]() | ![]() |
2 independent adjustable grill zones
Illustrations in this manual may differ from the original article.
GENERAL INFORMATION
- Clean the unit carefully before initial operation.
- Keep these operating instructions handy in the vicinity of the unit.
- The manufacturer/dealer cannot be held responsible for damage caused by non-observance of these operating instructions. In addition, the safety of the device is no longer guaranteed.
- When passing on the device to third parties, these operating instructions must be provided.
- After unpacking the device, make sure that everything is in perfect condition. If you discover any damage, do not connect the device, but contact your dealer.
- Keep the packaging of the device. The device can only be safely transported in its original packaging.
- If it is not possible to store the packaging, separate the various packaging materials and deliver them to the nearest collection point for proper disposal.
- Please note that all components of the packaging (plastic bags, cardboard, polystyrene parts, etc.) can endanger children and must therefore not be stored near them.
- For hygienic reasons, at least one daily cleaning is recommended, but also after completion of a particular production process during the course of a day.
- Do not use sharp or pointed objects when removing the food or cleaning the plates, otherwise the coating of the plates will be damaged. Use only mild, commercially available cleaning agent.
- Please note that the contact grill does not switch itself off as soon as it is switched on and in operation. That‘s why you always have the process in view.
EXPLANATION OF SYMBOLS
WARNING!
This symbol indicates dangers which can lead to injuries.
It is imperative that you adhere strictly to the instructions on occupational safety and be particularly careful in such cases.
WARNING: DANGER FROM
ELECTRIC CURRENT!
This symbol draws attention to dangerous situations caused by electric current. Failure to observe the safety instructions may result in injury or death!
WARNING: HOT SURFACE – RISK OF BURNING!
This symbol indicates the hot surface of the unit, during operation and thereafter. Risk of burns if ignored!
SAFETY NOTICES
- Read these operating instructions carefully and observe the information contained therein.
- Incorrect operation and improper handling can lead to malfunctions of the device and injuries to the user.
- Observe the accident prevention regulations applicable to the area of application and the general safety regulations.
- Do not operate the device unattended!
- Use the unit inside only under an extraction hood.
- Always provide suffi cient fresh air while using this unit.
- Ensure a safe stand on a dry, non-slip surface.
- Do not move the unit during use.
- Do not place the unit on a hot surface.
- Do not let the power cord hang over sharp edges and keep it away from hot objects and open fl names.
- Make sure that it is not possible to pull or trip over the cable unintentionally.
- Read these operating instructions carefully and observe the information contained therein.
- Incorrect operation and improper handling can lead to malfunctions of the device and injuries to the user.
- Observe the accident prevention regulations applicable to the area of application and the general safety regulations.
- Do not operate the device unattended!
- Use the unit inside only under an extraction hood.
- Always provide suffi cient fresh air while using this unit.
- Ensure a safe stand on a dry, non-slip surface.
- Do not move the unit during use.
- Do not place the unit on a hot surface.
- Do not let the power cord hang over sharp edges and keep it away from hot objects and open fl names.
- Make sure that it is not possible to pull or trip over the cable unintentionally.
- If the device should catch fi re after all: Pull out the mains plug and extinguish only with an extinguishing blanket or a grease fi re extinguisher.
- Never with water, as hot fat/oil may splash over large areas due to contact with water and spread small fi res.
- Take care when opening the lid. Do not hold your face directly over the device,
- Danger of splashing and a brief, strong heat wave rises.
CONNECTION
Before connecting the device, make sure that the voltage and frequency of the power supply correspond to the information on the type plate!
If the device has a mains plug connection, plug the mains plug into a suitable, earthed socket.
If the device does not have a mains plug connection, it must be installed by a specialist!
WARNING: DANGER OF FIRE!
- Do not place the device near fl ammable materials or liquids! A suffi cient distance must be maintained on all sides!
WARNING: DANGER FROM ELECTRIC CURRENT!
- Make sure that the power cable is free of damage.
- Damaged equipment must not be used! In this case please contact your specialist dealer!
- Before connecting to the mains, check that the type of current and the mains voltage correspond to the information on the type plate of the device.
- If necessary, have a specialist take over the connection.
- Do not use adapters or extension cords.
OPERATION
If the electric contact grill is used inside, it must be operated under an extraction hood to ensure suffi cient smoke extraction.
The grill has one or two heating surfaces. The temperature of the individual heating surfaces is set via the respective thermostat. Temperatures between 50 °C and 300 °C can be set.
The heating surfaces are switched on via the thermostats by selecting a temperature. A green indicator light indicates that the heating surface is in operation. A red indicator light indicates that the heating surface is being heated. To achieve a non-stick eff ect, the heating surfaces can be rubbed with a paper towel with a little oil.
In front of the heating surfaces there is a grease collecting tray to collect crumbs and excess fat. The grease drip tray can be removed for easy cleaning.
The heating surfaces are switched off by turning the respective thermostat to 0. Both indicator lights go out.
WARNING: HOT SURFACE!
RISK OF BURNING!
- Some components of the grill become very hot during
operation! There is a risk of burns when touching these
components.
WARNING: DANGER FROM
ELECTRIC CURRENT!
- Do not touch the device, cables and plugs with wet or damp hands.
- The device must not be immersed in water or other liquids. Should the device nevertheless fall into the water, immediately disconnect the mains plug and have
the device checked by a specialist before reusing it. - There is danger to life through electric shock.
- Damaged equipment must not be used! In this case, disconnect the device from the power supply and contact your specialist dealer!
- Never attempt to open or repair the device yourself. There is danger to life!
MAINTENANCE
Maintenance of the electric contact grill may only be carried out by authorised persons!
CLEANING
- The unit must be cleaned after each use.
- To do this, disconnect the unit from the power supply and allow it to cool down before starting cleaning.
- Remove the grease drip tray, empty it and place it in the sink with a mild detergent.
- wash and rinse, then dry well.
- Remove any coarse residue from the unit with a soft cloth before further cleaning.
- Coarse soiling of the upper and lower grill plates can be removed with the enclosed, relatively soft brass brush (only the plate surfaces!).
- Stubborn dirt can also be better removed by applying a damp paper towel. Leave to soak for approx. 10 to 15 minutes, remove the cloth and remove any dirt. Repeat this procedure if necessary.
- The grill plates, the handle with rod and the outer surfaces of the unit can be wiped off with a damp cloth soaked with a mild, commercially available cleaning
agent. Then wipe with a clean, damp cloth to remove the washing-up liquid residues and finally rub well dry with a soft cloth. - After cleaning, rub the grill plates with a cloth soaked in cooking oil and leave them in place.
- Make sure that the cable and plug do not get wet during cleaning. Do not put the device in water! Do not hold under running water!
- Do not clean the appliance with aggressive chemicals, petrol, thinner or scouring agents, metal sponges etc. so that the surfaces and the coating of the grill plates are not damaged!
- Check the ventilation openings on the sides, base and underside of the unit regularly.
- Remove any food residues, dirt and dust, e.g. with a soft brush or possibly by vacuuming with a vacuum cleaner.
- For optimum ventilation of the unit, the openings must always be clear.
- Ensure that all parts of the unit are dry before reinserting the grease drip tray, closing the cover and removing the unit until the next use.
Do not use caustic or abrasive cleaning agents! Do not use alcoholic or alkaline cleaning agents, thinners or petrol. This could damage the plastic parts or painted surfaces!
WARNING: DANGER FROM
ELECTRIC CURRENT!
- The unit must be disconnected from the power supply before every cleaning!
- Never use a direct water jet to clean the unit!
- Never immerse the device, the cable or the plug in water!
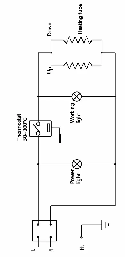
CIRCUIT DIAGRAM

PACKAGING DISPOSAL
![]()
Please separate the packaging materials accordingly and return them to the responsible collection points for recycling and environmental housing.
DISPOSAL
Once the appliance has been used up, dispose of it properly at a collection point for electrical appliances. Electrical appliances do not belong in household waste.
Your responsible administration will inform you about the addresses and opening hours of collection points. This is the only way to ensure that old appliances are properly disposed of and recycled. Thank you very much!


Made in P.R.C. for
Products GmbH
Sandbahn 6, 46446 Emmerich am Rhein, Germany
Tel. +49(0)2822 9258-0
Fax +49(0)2822 18192
E-Mail [email protected]
Web: www.saro.de
Stand 04/2018 SR TM





















