
Kamado
INSTRUCTION MANUAL
INTRODUCTION
EVERYONE IS MASTER GRILLER WITH THE YAKINIKU ® If you have ever visited a food festival, you know it, all day you will be intoxicated by delicious barbecue smells. Subtle aromas of smoking wood and juicy roasting meat. But then there’s the average neighborhood barbecue, ai-ai-ai: high flames and smelly thick plumes of smoke, resulting in raw and burnt meat. That’s a thing of the past, because with the YAKINIKU ® everyone is a master griller!
EASY CONTROL, PROFESSIONAL RESULT
The YAKINIKU ® , which in Japanese means grilled meat, is a Kamado grill to traditional Japanese model. The oval shape of the Kamado causes the hot air to circulate. Because you can control the supply of oxygen yourself in a simple way, you are always in charge of the temperature in your YAKINIKU ® . It will be super easy to grill the meat at a high temperature and let it continue to cook at a low temperature. The YAKINIKU ® is made of thick ceramics, so it holds the heat better than other Kamados. The advantage of holding the heat is that the charcoal consumption is 50 to 70 percent lower compared with an open barbecue, where oxygen is all over the place.
MEAT, FISH, PIZZA, BREAD AND EVEN DESSERTS IN NO TIME
The YAKINIKU ® is the ultimate Kamado for anyone who loves the smoky grilly taste. With the Woodchipper you make it very easy to ensure that the meat and the fish – but also the pizza or bread you bake on the pizza stone – get a smoky taste. And you can even make desserts. Think of grilled pineapple, or a creamy brownie. All this without having to open the lid and the YAKINIKU ® loses its heat! Also for a longterm preparation, the YAKINIKU ® the designated Kamado. For the perfect garnish of pulled pork or juicy spare ribs, you bring the YAKINIKU ® at the right temperature in no time. Scan the code for more inspiration and recipes:

GENERAL INFORMATION
3.1. YAKINIKU ® The YAKINIKU ® is a Kamado grill made of extra thick ceramic of the highest quality in combination with the very strong mineral cordierite. The YAKINIKU ® is therefore resistant to all weather conditions and temperature fluctuations. Even in winter, this Kamado grill is ready for you.
All the stainless steel used for the YAKINIKU ® is of the type 304. This steel is the best choice when it comes to heat resistance. In short, this Kamado is resistant to all weather conditions, more than other Kamados.
The chimney of the YAKINIKU ® is also made of 304 stainless steel and, unlike the common cast iron variant, does not rust at all. The ash pan of the YAKINIKU ® flares out, so it can hold more ash than the average Kamado grill. The closure of the YAKINIKU ® is optimal, thanks to the included Fiberglass/Felt rim which is made of non-combustible material.
The oxygen supply of the YAKINIKU ® is divided into units of measure. That way you use the same air supply setting every time.
In addition, the oxygen supply is equipped with a grid against losing charcoal. The Woodchipper is airtight and double insulated so that you can operate this Kamado without burning your fingers. By means of a bayonet closure, the Woodchipper is easy to open and close without damaging the ceramic.
3.2. READ AND SAVE THE USER MANUAL
This manual belongs to the YAKINIKU ® Kamado Grill. It contains important information about setting up and using the product. Please read the user manual carefully, especially the safety instructions, before using the product. Failure to follow this manual by the user could result in serious injury or product damage. This user manual is based on the standards and regulations that apply within the European Union. Outside the EU you also have to take the country- specific guidelines and laws into account. Keep this manual for future reference. If you pass this product on to a third party, you must also provide this user manual.
3.3. ACCESSORIES
Various accessories are available for the YAKINIKU ® .
These can be found on the YAKINIKU ® website: www.yakinikugrill.com.
https://www.yakinikugrill.com/en/installation
DANGER AND WARNINGS
4.1. DANGERS
- Don’t use indoors! This grill is designed for outdoor use in a well-ventilated place, and is not intended as a heating device and should never be used as such.When used indoors, toxic fumes accumulate which result in serious bodily injury or death.
- Do not use in a garage, building, (indoor) passageway or other enclosed space.
- Do not use gasoline, alcohol or other highly volatile substances to ignite the charcoal. When using igniter fluid (not recommended) for the charcoal, any liquids that have leaked through the base vents must be removed before igniting the charcoal.
- Do not add charcoal lighter fluid or charcoal infused with lighter fluid to hot or warm charcoal. After use, the ignition fluid must be closed and placed at a safe distance from the grill.
- Keep the area around the barbecue free of flammable vapors and liquids such as gasoline, alcohol, flammable materials, etc.
4.2. WARNINGS
- Only use the grill after all parts have been assembled. This grill must be mounted correctly according to the assembly instructions. Incorrect assembly can be dangerous.
- Never operate the grill without an ash collector installed.
- Do not use this grill under an elevated flammable structure.
- The use of alcohol, or prescription or over-the-counter drugs, may affect the user’s ability to properly assemble or use the grill.
- Be careful when using the grill. The grill will be hot while grilling or cleaning and should never be left unattended.
- WARNING! This barbecue gets very hot, do not move it during use.
- WARNING! Keep children and pets away from the barbecue.
- WARNING! Do not use spirits, petrol or other flammable liquids to (re)ignite! Only use igniters that comply with EN 1860-3!
- This YAKINIKU ® Grill is not intended for installation in or on RVs and/or boats.
- Do not use the grill within 1½ meters of flammable materials. Flammable materials include, but are not limited to, wood or pre-treated wood decks, patios, and porches.
- Always store the barbecue on a safe and level surface, away from combustible materials.
- Do not grill in strong winds.
- Do not wear clothing with loose sleeves while lighting or using the grill.
- Never touch the grill or charcoal grate, ash, charcoal or grill to check if they are hot.
- After grilling, extinguish the charcoal. Close the vents and damper in the lid, and put the lid on the kettle.
- Use heat-resistant barbecue mitts or gloves when grilling, adjusting vents (dampers), adding charcoal, and using the thermometer or lid.
- Use the correct tools with long, heat-resistant handles.
- Always place the charcoal on top of the (lower) charcoal grid. Do not place charcoal directly at the bottom of the base.
- Do not lean on the table or overload the end of it.
- Never dispose of hot charcoal where it can be walked on or where it poses a fire hazard. Never throw away the ashes or charcoal before they are completely extinguished.
- Do not put away or store the grill until the ash and charcoal are completely extinguished.
- Do not remove the ashes until all charcoal is completely burned out and completely extinguished and the grill has cooled down.
- Keep electrical wires and cords away from the hot surfaces of the grill and away from high foot traffic areas.
- WARNING! Do not use the barbecue in a confined space, such as in a house, tent, caravan, vehicle or small space. Risk of fatalities due to carbon monoxide poisoning.
4.3. PRECAUTIONS
- Do not use water to control flare-ups or extinguish charcoal.
- Covering the base with aluminum foil will impede the airflow. Instead, use a drip pan to drain the cooking fat from the meat when grilling with the indirect method.
- Grill brushes should be checked regularly for loose threads and excessive wear. Replace the brush if you find loose threads on the grill grate or on the brush. YAKINIKU ® recommends purchasing a new stainless steel grill brush at the beginning of each spring.
4.4. IMPORTANT
Do not remove the felt gasket from the rim of the base or the lid. This gasket provides a seal.
Periodically oil the hinges and bolts of the metal straps with a light machine oil silicone spray. The bolts should be checked regularly and tightened if necessary.
Failure to follow the DANGERS, WARNINGS, and PRECAUTIONS contained in this manual could result in serious injury or death, or could result in fire or explosion and property damage. Please read all safety information contained in this manual before using this grill.
WARRANTY
Thank you for purchasing a YAKINIKU ® Grill.
This YAKINIKU ® voluntary warranty is provided to you free of charge. Here you will find all the information you need to repair your YAKINIKU ® -product in the
unlikely event of malfunction or defects.
Under applicable law, the customer has a number of rights if the product is defective.
These rights include additional service or replacement, reduction of purchase price and compensation. Within the European Union, for example, this is a two-year legal warranty from the date on which the product is transferred.
This warranty does not affect these and other legal rights.
This warranty even grants additional rights to the owner, outside the legal warranty provisions.
5.1. YAKINIKU ® VOLUNTARY WARRANTY
YAKINIKU ® warrants to the purchaser of the YAKINIKU ® -product (or, in the case of a gift or promotional item, the person for whom it was purchased as a gift or promotional item) that the YAKINIKU ® -product is free from defects in material and workmanship for the period(s) specified below, subject to assembly and use in accordance with the accompanying user manual. (Note: If you lose your YAKINIKU ® user manual, you can request a replacement from where the product was purchased or at the country-specific website to which you are directed.)
Under normal use and maintenance in a single-family home or apartment, YAKINIKU ® will repair or replace defective parts within the scope of this warranty, subject to the periods, limitations and exceptions specified below.
TO THE EXTENT POSSIBLE BY APPLICABLE LAW, THIS WARRANTY IS PROVIDED ONLY TO THE ORIGINAL BUYER AND IS NOT TRANSFERABLE TO SUBSEQUENT OWNERS, EXCEPT IN THE CASE OF GIFTS OR PROMOTIONS AS MENTIONED ABOVE.
5.2. OWNER’S RESPONSIBILITIES UNDER THIS WARRANTY
For hassle-free warranty coverage, it is important (but not mandatory) to register your YAKINIKU ® -product online at the YAKINIKU ® website (www.yakinikugrill.com) or the country-specific website you are being referred to. Also keep your original purchase receipt and/or invoice. Registering your YAKINKU ® product confirms warranty coverage and allows YAKINIKU ® to contact you if necessary.
The above warranty applies only when the owner handles the YAKINIKU ® -product with care by following all assembly instructions, instructions for use and preventive maintenance instructions as described in the accompanying owner’s manual, unless the owner can prove that the defect or malfunction has nothing to do with non-compliance with the above obligations.If you live in a coastal area or if your product is located near a swimming pool, regular cleaning and rinsing of the exterior of the product is part of regular maintenance, as described in the accompanying user manual.

https://www.yakinikugrill.com/en/service-warranty
5.3. WARRANTY HANDLING/WARRANTY EXCLUSION
If you believe any part is covered by this warranty, please contact the retailer where the YAKINIKU ® -product was purchased. YAKINIKU ® will repair or replace defective parts covered by this warranty upon examination at its sole discretion. In the event that repair or replacement is not possible, YAKINIKU ® may elect (at its option) to replace the barbecue with a new barbecue of equal or greater value. YAKINIKU ® may ask you to send parts (with postage prepaid) for inspection.
This WARRANTY shall be voided in the case of damage, wear, discoloration and/or rust for which YAKINIKU ® is not responsible and which is caused by:
- Misuse, improper use, modification, vandalism, neglect, improper assembly or installation or failure to perform normal and routine maintenance;
- Exposure to salty air and/or chlorine from, for example, swimming pools, hot tubs and thermal baths;
- Severe weather influences such as hail, hurricanes, earthquakes, tsunamis, high tides, tornadoes or severe storms.
Use and/or installation of non-genuine parts on your YAKINIKU ® -product will void this warranty and any consequential damages resulting therefrom will not be covered by this warranty. If you have a barbecue converted to other fuels without permission from YAKINIKU ® or by a service technician not authorized by YAKINIKU ® , this warranty will become void.
In addition, we do not offer a guarantee on fine hairline cracks. The fine hairline cracks in the finish (glaze) of your YAKINIKU ® grill can already form when the ceramic is fired. During this process, the glaze and ceramic can expand, potentially revealing fine hairline cracks. These fine hairline cracks are more common and even desirable on glazed surfaces that need to be particularly heat-resistant. This makes the ceramic more robust and resistant against temperature fluctuations. The less flexible glaze can “move” with the ceramic. These fine hairline cracks ensure that the ceramic is less brittle and extra durable.
The voluntary extension of the YAKINIKU ® warranty is only effective when registered within one month of purchase through the YAKINIKU ® website (www.yakinikugrill.com).
5.4. PRIVATE USE WARRANTY PERIODS:
- Grill/charcoal grates, hinge, stainless steel parts, side plates, handles, accessories, etc.: two (2) years against rust through/burn through.
- Ceramic Fire Ring and Fire Box: Two (2) years against bursting/burning through.
- Lid and base (black glazed ceramic): twenty (20) years against cracking.
NO WARRANTY ON WEAR PARTS E.G.: FELT, GLOVES, ETC.
5.5. PROFESSIONAL USE WARRANTY PERIODS:
- Grill/charcoal grates, hinge, stainless steel parts, side plates, handles, accessories, etc.: one (1) year against rust through/burn through.
- Ceramic parts such as lid, base: one (1) year against cracking/burning through.
- Ceramic parts such as Fire Ring and Fire Box: no guarantee against cracks (wear and tear part).
NO WARRANTY ON WEAR PARTS E.G.: FELT, GLOVES, ETC.
5.6. DISCLAIMERS
Other than the warranty and disclaimers set forth in this warranty statement, no further warranty or voluntary liability is expressly made beyond the statutory civil liability applicable to YAKINIKU ® . Situations or claims where YAKINIKU ® has mandatory liability by law are not limited or excluded by this warranty statement.
No warranty applies beyond the applicable periods of this warranty.
Warranties issued by any other person, including dealers or retailers, with respect to any product (such as any “extended warranties”) are in no way binding on YAKINIKU ®
. This warranty only covers the repair or replacement of defective parts or products.
Under no circumstances shall any remedy of any kind under this Voluntary Warranty exceed the purchase price of the YAKINIKU ® -product sold. You accept the risk and liability for loss, damage or injury to you and your property and/or to others and their property through improper use of the product or by failure to follow YAKINIKU ®
instructions in the corresponding user manual.
Parts and accessories replaced under this warranty are covered only for the remainder of the original warranty period(s) mentioned above.
This warranty applies to use in private single-family homes or apartments and does not apply to YAKINIKU ® barbecues used in commercial, communal or multi-unit environments, such as restaurants, hotels, resorts, or vacation homes. YAKINIKU ® may change the design of its products from time to time.
Nothing in this warranty shall be construed as obliging YAKINIKU ® to incorporate such design changes into previously manufactured products, nor shall it be construed as an acknowledgment that a previous design was defective.
INSTRUCTIONS
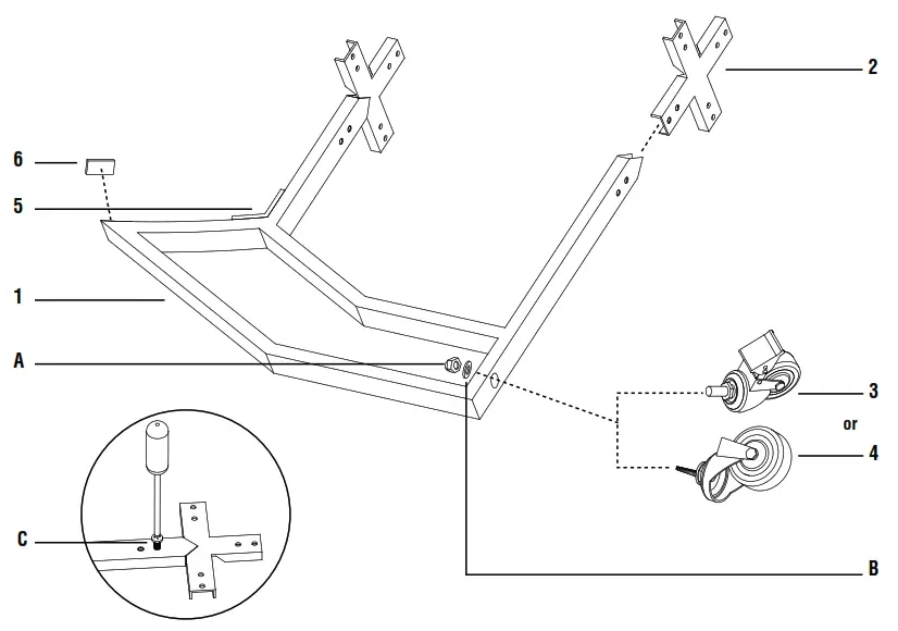
6.1. ASSEMBLY XXLARGE, XLARGE, LARGE AND MEDIUM KAMADO
* Images may differ from reality. With the XXLARGE and MEDIUM, the Firebox (15) consists of two parts. The XXLARGE and MEDIUM do not have an Ash pan (14).
| 1 Upright leg (4x) 2 Cross brackets (2x) 3 Castor wheel with brake (2x) 4 Castor wheel (2x) 5 Long gasket (4x) 6 Short gasket (4x) 7 Handle (1x) 8 Bracket (4x) 9 Side tabel (2x) 10 Daisy wheel with rain cover (1x) | 11 Kamado lid (1x) 12 Stainless steel grid (1x) 13 Coal basket (1x) 14 Ash pan (1x) 15 Firebox (1x) 16 Ash pan holder (1x) 17 Kamado body (1x) A Cap nut (4x) B Washer (4x) C Screw (16x) |
IMPORTANT! – Remove all packaging before use, but keep the safety instructions and keep them with this product. Make sure the lid is closed before assembly. 
STEP 1 – Attach 4x long gaskets/adhesive pads (5) and 4x short gaskets/adhesive pads (6) to the 4x upright leg sections (1) as shown. Make sure the long gasket (5) is attached to the inside of the angled leg section and the short gasket (6) is attached to the end of the upright leg section (1).
STEP 2 – Attach a castor wheel (3 and 4) to each upright leg section (1) by pushing the pre-attached bolt on the castor wheels (3 and 4) through the hole in the upright leg section (1), add the washer (B) and secure with 1 x cap nut (A). Tighten with included wrench. Repeat process for all leg sections (1).
STEP 3 – Insert 2x cross brackets (2) into open cross of 1 x upright leg (1) with the flat side to the swivel. Place 2 x screws (C) in each cross bracket (2) to hold them in place. Do not tighten all the way.
STEP 4 – Loosely attach 3x remaining upright leg sections (1) to the cross brackets (2) with 12x screws (C), ensuring that the 2x castor wheels with brakes (3) are together on the front of the assembled stand. Make sure the gaskets (5 and 6) are facing up.
STEP 5 – Tighten all 16 screws (C) with a Phillips screwdriver to ensure the stand is sturdy and stable.
STEP 6 – Apply the brakes on the castor wheels (3) by pushing the levers down.
STEP 7 – Use at least two people to place the Kamado body (17) in the stand.
Do not lift the appliance by the hinge as this may result in personal injury or damage to the product.
STEP 8 – To attach the handle (7) to the Kamado lid (11), remove the 2x pre-attached cap nuts and split washers from the strap on the Kamado lid (11). Align the holes in the handle bracket with the fixed screws. Replace the split washers and tighten the cap nuts with the wrench provided. When placing the Kamado, make sure that the castor wheels with the brakes (3) are positioned from the front.
STEP 9 – Place the daisy wheel with rain cover (10) on top of the Kamado lid (11). Before lifting the lid of the Kamado, make sure the disc’s YAKINIKU ® logo is facing forward. If placed incorrectly, the vent will open when the lid is lifted. To adjust the ventilation, simply turn the device into the correct position. Make sure the daisy wheel (10) is securely in place before lifting the Kamado lid (11).
STEP 10 – Remove the 8x pre-assembled cap nuts and 8 x front mounted split washers (no longer needed) of the front mounted bolts on the metal strap on the Kamado body (17). Place the 4x brackets (8) on the pre-mounted bolts and make sure that the opening for the shelves is facing up. Secure by re-tightening the 8x cap nuts and tighten with the wrench provided. Make sure the cap nuts are not overtightened as this may damage the Kamado body (17).
STEP 11 – Slide each Side table (9) onto the Brackets (8).
STEP 12 – Place the Ash pan holder (16), Firebox (15), the Ash pan (14) and the Coal basket (13) into the Kamado body (17).
STEP 13 – Place the Stainless steel grid (12) in the Kamado body (17).
6.2. ASSEMBLY TABLE NEST XLARGE, LARGE AND MEDIUM KAMADO
Always use a YAKINIKU ® Table Nest when the supplied stand is not in use. The table nest prevents fire damage to the surface where the Kamado is positioned. Also when placing the Kamado in an outdoor kitchen, it is necessary to use the YAKINIKU ® Table Nest. When neither the Kamado stand nor the YAKINIKU ® Table Nest is used, no warranty is given for cracked ceramic.
STEP 1 – Adjust the table nest by extending the leg to the correct Kamado size, as indicated on the table nest.
STEP 2 – Use the screws to fasten the leg.
6.3. ASSEMBLY COMPACT
IMPORTANT! – Remove all packaging before use, but keep the safety instructions and keep them with this product. Make sure the lid is closed before assembly.

- Cart leg 1 (1x)
- Cart leg 2 (1x)
- Back strap (1x)
- Front strap (2x)
- Steel carrier handle (2x)
A Cap nut (9x)
B Screw (M6x12mm) (9x)
STEP 1 – Insert the screw (B) through the hole of both Cart legs (1,2) and then tighten the cap nuts (A) by hand.
(Note: The screws should be facing downwards).
STEP 2 – Use 2 screws (B) and cap nuts (A) to manually install the Back strap (3) to the stand. Then use 1 screw and 1 cap nut to mount the Front strap (4) on the other side of the stand. Repeat this step for both Front strap (4) pieces.
STEP 3 – Attach the two Steel carrier handles (5) to the stand with a screw- driver. Then tighten all screws and cap nuts with a wrench.
STEP 4 – Lift the Kamado out of the box and place it in the assembled stand.
Scan the code for detailed assembly videos:
https://www.yakinikugrill.com/en/installation
6.4. ASSEMBLY MINI
IMPORTANT! – Remove all packaging before use, but keep the safety instructions and keep them with this product. Make sure the lid is closed before assembly.
STEP 1 – Insert the screw (B) through the hole of both Cart legs (1,2) and then tighten the cap nuts (A) by hand.
(Note: The screws should be facing downwards).
STEP 2 – Use 2 screws and 2 cap nuts to manually install the Steel carrier handle (3) to the base. Then repeat this step on the other side of the frame.
STEP 3 – Tighten all 6 screws with the wrench.
STEP 4 – Lift the Kamado out of the box and place it in the assembled stand.
6.5. LIGHTING THE KAMADO
- Open the lid and remove the grid.
- Fill the YAKINIKU ® with charcoal until the round air vents.
Please note: never fill up above the coal basket. - Open the ventilation slide at the bottom and the daisy wheel at the top as much as possible.
- Light 3 to 4 Fire Lighters and spread them in the middle between the charcoal.
You can find the Fire Lighters on the website (www.yakinikugrill.com). - Close the lid and let the temperature rise.
- Wait until the YAKINIKU ® is at 150°C degrees before placing the grid or other accessories.
- When the thermometer indicates the desired temperature (normally between 150°C and 200°C), you should reduce the ventilation by setting the daisy wheel and ventilation slide to the correct position. Warming up the Kamado takes no more than twenty minutes. You can adjust the temperature even more accurately afterwards. An opening of 0.5 cm above and below is the most common position. The larger the opening, the higher the temperature.
- As soon as the thermometer indicates the desired temperature, you can start grilling.
- After barbecuing, both ventilation holes must be closed to extinguish the fire. The fire will go out quickly and the YAKINIKU ® will cool down slowly.
Do not attempt to move the YAKINIKU ® until it has cooled down.
Tip: For best results, use 100% natural charcoal.
6.6. CLEANING
Follow some basic care instructions to keep your grill looking and grilling better for years to come!
- For proper airflow and better grilling, accumulated ash and old charcoal from the bottom of the kettle and ash collector should be removed prior to use. Before doing that, make sure all charcoal is completely extinguished and the grill is cooled down.
- You may see “paint-like” flakes on the inside of the lid. During use, grease and smoke vapors slowly oxidize to carbon and are deposited on the inside of the lid. Brush the charred fat from the inside of the lid with a stainless steel grill brush. To minimize build-up, wipe the inside of the lid with a paper towel after grilling while the grill is still warm (not hot).
- If your grill is used in a particularly harsh environment, you will need to clean the outside more often. Acid rain, chemicals and salt water can cause rust on the exterior. YAKINIKU ® recommends wiping the outside of the grill with warm soapy water. Then rinse the exterior surfaces and allow them to dry thoroughly.
- Do not use sharp objects or abrasive cleaners to clean the outside of your grill.
- Use the YAKINIKU ® Cleaning Set for best results.
Scan the code for more maintenance videos:

https://www.yakinikugrill.com/en/maintenance
PRACTICAL TIPS
7.1. FAQ
How much charcoal should I use?
– When using the large YAKINIKU ® , you need to fill the fire tray to about 2.5 to 5 cm above the air holes. In case of the medium or small YAKINIKU ® fill it up to the air holes. Charcoal has various lengths. So you don’t have to count the number of coals.
Do I need to refill charcoal during the BBQ?
– Normally not. The YAKINIKU ® burns for hours without refilling. As the cooking temperatures are higher, the coals burn faster, but even then refills will probably not be necessary.
– To keep the coals “on the back burner” after lighting or to keep dishes warm for a long time, you need to close the sliding cap completely and open the under slide about 5cm. To keep dishes warm, the temperature of your YAKINIKU ® should be about 50ºC.
At a temperature of 180°C / 200°C
| Quantity | Burn time |
| 1 kg charcoal | 2 hours |
| 2 kg charcoal | 3,5 hours |
| 3 kg charcoal | 5 hours |
| 5 kg charcoal | 8 hours |
At a temperature 90 °C / 100 °C
| Quantity | Burn time |
| 1 kg charcoal | 9 hours |
| 2 kg charcoal | 5 hours |
| 3 kg charcoal | 11 hours |
| 5 kg charcoal | 17 hours |
How do I relight my YAKINIKU ® ?
– You will be surprised how much charcoal is left of the amount you started with. You can reuse this. Before you start, the ashes must be removed. YAKINIKU ®
recommends the shaft in a metal empty the container, no matter how “cold” the ash is.
– Check the air holes in the grille. Small pieces of charcoal or ash sometimes accumulate in this, which reduces ventilation.
How do I control the temperature?
– PLEASE NOTE: when you work with higher temperatures (from approx. 200°C) you should carefully open the lid a little so that a little air can get in. You can then open the lid completely. When the lid is quickly opened in its entirety, the hot air present can backfire. This can result in injuries.
– One of the fantastic possibilities of the YAKINIKU ® is to maintain the temperature. With the help of the two air slides you can set the temperature of your Kamado and it is possible to achieve temperatures of more than 400°C. With these temperatures you can prepare your dishes in every possible way, from smoking at a low temperature to searing at high heat. The outdoor thermo- meter indicates the correct temperature. Unlike other charcoal appliances, the amount of coal used is independent of the cooking time. You simply start with the same amount of charcoal for each meal. Afterwards you close the control slide to extinguish the fire and the unused coals are saved for the next time.
What are the daisy wheel and stainless steel air slide?
– The daisy wheel on top of the Kamado allows for perfect temperature regulation and does not need to be removed to open the lid of the YAKINIKU ® .
– The stainless steel daisy wheel has a larger ventilation hole so that searing temperatures are reached faster. The hat on top of the disc ensures that no rain can enter through the ventilation holes.
– The stainless steel air slide at the bottom of the Kamado has holes so that the temperature can be set very accurately, especially for smoking dishes.
How do I clean the daisy wheel?
– The daisy wheel is easiest to clean by using our Grill Cleaner. After spraying with the cleaner, place the daisy wheel in the dishwasher and take it out all shiny again. If there is a greasy layer on your daisy wheel after intensive use, we recommend that you heat the Kamado to the maximum first so that the fat releases.
How do I extinguish the YAKINIKU ® ?
– Simply, by closing both valves after cooking. The fire will quickly die down and the YAKINIKU ® will cool down. Due to the thick ceramic walls of the YAKINIKU ® , cooling takes an hour and sometimes longer. (Remember that this is when dishes can be kept warm!) Do not use water to extinguish the coals.
Should special charcoal be used for the YAKINIKU ® ?
– Do not use briquettes or other types of charcoal. We recommend using the 100% natural Marabú charcoal from BBQ Flavour.
– Depending on your cooking style and the number of times you use the YAKINIKU ® , a 10kg bag of 100% natural charcoal is enough for many cozy YAKINIKU ® evenings. Suitable charcoals are available through the BBQ Flavour website (www.bbqflavour.com)
https://www.yakinikugrill.com/en/maintenance
Can I use my YAKINIKU ® in all weather conditions?
– The YAKINIKU ® is an all-weather cooking appliance that can be used whenever you want to enjoy the great taste of a barbecue. Unlike metal cooking appliances, the – – – YAKINIKU ® works very effectively in cold weather. The YAKINIKU ® is also invaluable if your electricity or gas supply fails. With the YAKINIKU ® it’s always barbecue weather.
What is the function of the hole under the handle?
– With the Woodchipper, an extra accessory, you are able to add smoking wood without opening the lid. The hole for the Woodchipper is standard on all YAKINIKU ®
models, with the exception of the MINI. This allows you to maintain a better temperature during the process for a more accurate preparation.
STEP 1 – Turn the closure of the Woodchipper opening a quarter turn to the right.
STEP 2 – Pull the lock towards you to clear the Woodchipper opening.
STEP 3 – Fill the Woodchipper with smoking wood or fire herbs and insert it through the opening in the Kamado.
STEP 4 – Turn the Woodchipper in a smooth motion so that the smoking wood falls on the burning coals. Then follow Steps 1 and 2 in reverse order to close the opening again.
Can the YAKINIKU ® be touched safely during cooking?
– The ceramics of the YAKINIKU ® insulate well. While we don’t recommend holding your hand to the outside, the grill won’t get as hot as a metal gas or charcoal stove.
Can I leave my YAKINIKU ® outside?
– Yes. The glaze layer protects your barbecue in all weather conditions. The additional accessory, the vinyl cover, keeps the barbecue clean and protects the metal parts. We therefore recommend that you always cover your Kamado before storing it. Then you can always use the YAKINIKU ® in the best condition
What is the felt gasket for?
– The barbecue’s heavy, thick felt gasket provides the seals the two parts of the grill and protects the lid when closed too quickly. The gasket is inexpensive and may need to be replaced every two or three years. There is no asbestos in the gasket!
My thermometer is not working properly. What can I do?
– The thermometer may need to be calibrated. Unscrew the thermometer from the Kamado and place it in boiling water (100°C). Wait for the needle to stop moving, then use the wrench to adjust the needle to 100°C with the bolt on the back of the thermometer. Then place the Thermometer back on the Kamado and screw it back on.
How do I dehumidify my thermometer?
– Because your Kamado is outside, moisture may appear on the inside of the thermometer. Solve this by unscrewing the thermometer from the Kamado and placing it in the oven at 150°C for at least 30 minutes. Due to the heat of the oven, the moisture evaporates and the thermometer is moisture-free. Then place the thermometer back on the Kamado and screw it back on.
Can I cook with the lid open?
– No. The secret of the YAKINIKU ® is in the retention, circulation and regulation of the heat. The lid must be closed so that the heat radiates from above as well as from the coals. With the lid open, the YAKINIKU ® is nothing but an ordinary, inefficient barbecue grill, causing the dishes to dry out.
Do I have to burn-in or season my Kamado?
– No this is not necessary. The Kamado is baked at temperatures of 1600°C and it is therefore not necessary to burn the Kamado in first. It is advisable not to heat the Kamado too high in the beginning and to practice setting the temperature first. The Kamado can, for example, be fired at 250°C for half an hour when first used to burn away any factory traces such as glue.
Can I prepare several dishes at the same time?
Can I do different preparations at the same time?
– With the YAKINIKU ® you can always prepare several dishes at the same time. Do you want different preparations at the same time? Then use the YAKINIKU ® Pro-Set in combination with the LARGE, XLARGE or XXLARGE. The Pro-Set consists of the Multilevel Elevator, 2 Half Moon Heat Deflectors and 2 Half Moon Grilles. With this Pro-Set you can split your Kamado in two and prepare one dish indirectly while simultaneously preparing another dish directly. Thanks to the lift, you can adjust the height of your grid to your liking, so that you can determine the distance between the coals and the grid.
7.2. GRILLING TIPS
- Grill steaks, fish fillets, boneless chicken breasts and vegetables using the direct method and times shown in the table (or to desired doneness), turning the food once halfway through the grilling time.
- Grill roasts, whole chickens, boneless chicken pieces, whole fish and thicker slices (meat, etc.) using the low-temperature cooking shown in the table (or until an instant-read thermometer registers the desired internal temperature).
- Before slicing, allow the roast, larger cuts of meat, and thicker cutlets and steaks to rest for 5 to 10 minutes after grilling. The internal temperature of the meat rises 5 to 10 degrees during that time.
- For added “smoky flavor,” you may want to add wood chips or chips (soaked in water for at least 30 minutes and drained) or moistened fresh herbs such as rosemary, thyme, or bay leaves. These can be added during grilling using the Woodchipper.
- Food must be thawed before grilling. Otherwise, you will have to allow for longer grilling times when preparing frozen food.
7.3. GRILL TIMES AND INSTRUCTIONS
7.4. FOOD SAFETY TIPS
- Do not thaw meat, fish or chicken to room temperature. It is best to thaw these in the refrigerator.
- Wash your hands thoroughly with hot, soapy water before preparing the meal and after handling fresh meat, fish, and chicken.
- Never put cooked food on the same plate as the uncooked food.
- Dishes and cookware that have come into contact with uncooked meat or fish should be washed with hot soapy water and then rinsed.
Scan the code for more Tips & Tricks:

COMPANY DETAILS
YAKINIKU ® B.V.
ADDRESS
Lange Reksestraat 19B
4538 AZ Terneuzen
The Netherlands
CONTACT
Telephone: ….. +31 (0)88 688 0600
E-mail: ……….. [email protected]
Website: …….. www.yakinikugrill.com
ACCESSIBILITY
Monday to Friday: 8.30 am to 5 pm
TRADING DETAILS
VAT Number: NL856132226b01
KVK Number: 65486900


















