NeuroNexus SmartBox Pro 1024 Lightening Fast Channels

Introduction
Congratulations on your purchase of the SmartBox Pro/ Radiens Allego acquisition system! This advanced new system from NeuroNexus enables and accelerates neuroscience research through its unique combination of performance, ease of use, and forward-looking advanced fea-tures, which include:
- Plug-and-play compatibility with all NeuroNexus probes and electrode arrays
- High-quality acquisition and recording of up to 512 channels of neural and bio-logical signals
- Unique, highly interactive, probe- centric user interface that allows the researcher to remain focused on the experiment at hand
This “Quick Start Guide” is intended to provide a brief overview of the SmartBox Pro/Allego sys-tem and some of its basic functions. A note on basic terminology: “SmartBox Pro” refers to the hardware component of the system, i.e., the “SmartBox Pro box.” “Radiens Allego” refers to the software application that interfaces with and controls the hardware box.
IMPORTANT: Please check the NeuroNexus web site at www.NeuroNexus.com for regular updates of this document and related system documentation.
For questions regarding operation of the system or if you have any issues with the SmartBox Pro, please email us at [email protected]. You can also call us at +1.734.913.8858.
Getting up and running
What’s in the Box
- SmartBox Pro unit
- AC Power Adapter
- USB 3.0 cable
- (2) Banana-to-banana cables
- (2) BNC-to-BNC cables
- (2) BNC-to-Alligator cables
- Selected SmartLink headstage amplifier(s) and headstage interface cable(s) that are specified in the order. For more information about our SmartLink head-stages please visit our website at www.NeuroNexus.com
- (optional) Windows laptop computer that was specified in the order
Computer Requirements
The computer system requirements include:
- Storage: SSD. Traditional magnetic hard disks may not be fast enough in some recording configurations
- USB 3.0
- 3rd Generation Intel Core i7 processors (4 cores), or equivalent
System Overview
Front Panel

| Power LED/Button | Indicates system status. | |
| ABCD | Headstage Input Ports | Proprietary HDMI-style ports for connecting SmartLink head- stages to Ports A-D. |
| RE | Reference Electrode | Banana jack for connection to Reference Electrode (poten- tiostat/galvanostat). |
| CE | Counter Electrode | Banana jack for connection to Counter Electrode (poten- tiostat/galvanostat). |
| V/I | Potentiostat/Galvanostat Port | Proprietary HDMI-style multifunction port for connection to the SmartBox Pro MUX adapter to provide access to potentiostat and galvanostat functions. |
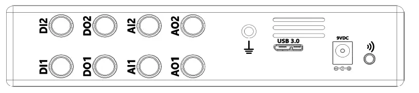
Back Panel

| DI/DO | Digital / Analog Inputs and Outputs | BNC connectors for connecting auxiliary signals from other instruments. |
| System Ground | Banana jack for connecting the box to a low-noise earth ground point. | |
| USB 3.0 | USB 3.0 Connector | Connect to a USB 3.0 port on PC/Mac using the supplied USB 3.0 cable. |
| 9VDC | DC Power Input | Use only the supplied AC power adapter to provide the required DC voltage input. |
| Audio Output | Stereo audio Aux jack for connection to speakers to monitor the Analog Out- put (AO) channels. |
Connect the SmartBox Pro to Your Computer
- Unpack the SmartBox Pro unit from its packaging and place it on a secure surface with adequate ventilation
- Plug the AC adapter into a standard (110-220 V) wall outlet and connect its DC power out-put pin into to the power port of the unit
- Connect the USB cable to the SmartBox Pro and a USB 3.0 port on your computer
- With the computer on and connected to the internet, press and release the SmartBox Pro power LED switch. Your computer should indicate that it has detected new hardware (Opal Kelly XEM6310-LX45). The necessary drivers should be automatically installed with no fur-ther action necessary. If the driver does not install or the Allego recording software cannot detect your SmartBox Pro unit, try downloading and installing the driver from www.Neur-oNexus.com
- Connect a SmartLink headstage amplifier to a SmartLink HDMI cable and then connect the other end to one of the SmartBox Pro amplifier ports (ports A-D)
- Optional-Use a banana cable to attach the SmartBox Pro ground port to a low-noise earth ground. This may be beneficial for removing extrinsic noise on the signal lines depending on the laboratory environment.
(Note: Regardless of the ground port connections, the recording reference and ground signals are provided through the configuration of the SmartLink headstage amplifier(s)) - Note: Do not connect the multiplexer adaptor to ports A through D
Download and Install the Allego Software Application
Allego is the software application for interfacing with the SmartBox Pro unit. The latest version of Allego can always be found on the NeuroNexus website.
https://neuronexus.com/allego-software-downloads-page/
Once there, select the link for the appropriate operating system and then select “Download” to begin the transfer.
Windows
Launch the installer. If you receive a warning against running an unrecognized app, select “More Info”, then “Run any way.” After the installation completes, Allego will launch.
macOS
Download the Allego installer. Double-click the installer to launch. Drag the Allego icon into the Applications folder. Open the Applications folder by double-clicking the folder icon. In the Applications folder, double-click the Allego icon while holding down the control key (holding down the control key overrides the MacOS security check, which is only needed during the initial launch). After the installation completes, Allego will launch.
Allego Interface
Allego Dashboard

Activating Allego
- Launch Allego. Once it has finished initializing and the progress bar disappears, navigate to the left side of the interface and hit the Settings button

- Acquisition Settings in the upper-right lists the directory where your recording files will be saved, as well as the root file name of each file
- License Status displays the current state of your software activation
- If the status is inactive, unknown or expired, you may:
- Click the “REQUEST TRIAL” button. This will grant a 14-day trial license.
- Check the emails you have received from NeuroNexus for an 18-digit license key. If you do not have this yet, contact NeuroNexus Customer Service ([email protected]) to request a license key. Paste the 18-digit key into the text box labeled “Activate” and click the arrow.
- If this is a trial system, activation will extend the license and unlock other parts of the application
- Accept the End User License Agreement to begin using Allego
- Your license key allows two computers to run Allego simultaneously. If you need to activate Allego on a different computer, you may deactivate the license on one by choosing the Deactivate button. This removes the current computer from the allowed list, freeing up the seat to be used with another computer instead.
- If your software has been activated but appears inactive, unknown or expired, click the REFRESH button to re-attempt to activate. If this does not work, check your internet connection.

Checking Hardware Connection
Navigate to the Dashboard and hit the System button. With the SmartBox Pro on (press and release the SmartBox Pro power LED switch) and connected to SmartLink headstages, your software recognizes connected SmartLink headstages automatically. If you are using a different Intan-based system, click on the Mode menu and select the appropriate option. On the right side of the bottom bar in the System tab, you can check the status of connected ports to the SmartLink headstages. Greenlight indicates which ports are in use. The SmartBox Pro supports simultaneous recording of up to 512 channels across all four ports. For example, below shows the status of two 64-channel SmartLink headstages connected to ports A, and D. The sample rate on the System view can be changed to values between 1 kHz to 30 kHz.

Training with Allego
To familiarize yourself with Allego before using it with a SmartBox Pro, return to the Dashboard and select the System icon if the tab is not still open. From the Mode dropdown menu, choose Training: Simulated spike data. This mode simulates having a 64-channel headstage connected on Ports A and D. You may also test filtering options by choosing Training: Sine waves. Sine mode simulates a 64-channel headstage connected on Ports A and C.

Quick streaming and saving – Determine if a headstage and probe are connected properly and can stream data

- From the Dashboard, click the Monitor icon
- Choose a name for this monitor if desired
- Click Stream. Data should begin to populate the window.
- If it does not, navigate to the System view to verify that the SmartBox Pro detects your SmartLink headstage(s)
- You might need to scale the streaming to display the waveforms appropriately. On the bottom of Monitor view, click the Vertical Controls button to increase/-decrease the time span, the space between your waveforms, and the mag-nitude or resolution of your signals.
- From the Signal Processing tab of the Dashboard, apply a filter set that is suited for your research. For more information about the filtering, refer to technical document.
- To save streamed data, click Record. The streaming and recording status will be displayed in the Status bar visible all throughout the application.

















