
Free standing cooker
HKK99V85.M

Register your new Bosch now: www.bosch-home.com/welcome
Intended use
Read these instructions carefully. Only then will you be able to operate your appliance safely and correctly. Retain the instruction manual and installation instructions for future use or for subsequent owners. Check the appliance for damage after unpacking it. Do not connect the appliance if it has been damaged in transport.
Only a licensed professional may connect appliances without plugs. Damage caused by incorrect connection is not covered under warranty.
This appliance is intended for domestic use only. The appliance must only be used for the preparation of food and drink. The appliance must be supervised during operation. Only use this appliance indoors. This appliance is intended for use up to a maximum height of 2000 metres above sea level.
This appliance is not intended for operation with an external clock timer or a remote control.
Do not use covers. These can cause accidents, due to overheating, catching fire or materials shattering, for example.
Do not use inappropriate child safety shields or hob guards. These can cause accidents.
This appliance may be used by children over the age of 8 years old and by persons with reduced physical, sensory or mental capabilities or by persons with a lack of experience or knowledge if they are supervised or are instructed by a person responsible for their safety how to use the appliance safely and have understood the associated hazards.
Children must not play with, on, or around the appliance. Children must not clean the appliance or carry out general maintenance unless they are at least 8 years old and are being supervised.
Keep children below the age of 8 years old at a safe distance from the appliance and power cable.
Always slide accessories into the cooking compartment the right way round.
Important safety information
General information
Risk of fire!
- Combustible items stored in the cooking compartment may catch fire. Never store combustible items in the cooking compartment. Never open the appliance door if there is smoke inside. Switch off the appliance and unplug it from the mains or switch off the circuit breaker in the fuse box.
- A draught is created when the appliance door is opened. Greaseproof paper may come into contact with the heating element and catch fire. Do not place greaseproof paper loosely over accessories during preheating. Always weight down the greaseproof paper with a dish or a baking tin. Only cover the surface required with greaseproof paper. Greaseproof paper must not protrude over the accessories.
- Hot oil and fat can ignite very quickly. Never leave hot fat or oil unattended. Never use water to put out burning oil or fat. Switch off the hotplate. Extinguish flames carefully using a lid, fire blanket or something similar.
- The hotplates become very hot. Never place combustible items on the hob. Never place objects on the hob.
- The hob switches off automatically and can no longer be operated. It may switch on unintentionally at a later point. Switch off the circuit breaker in the fuse box. Contact the after-sales service.
- The appliance becomes very hot and flammable materials could catch fire. Never store or use flammable objects (e.g. spray cans, cleaning agents) under the appliance or in its immediate vicinity. Never place flammable items on or in the appliance.
- The surfaces of the plinth drawer may become very hot. Only store oven accessories in the drawer. Flammable and combustible objects must not be stored in the plinth drawer.
Risk of burns!
- The appliance becomes very hot. Never touch the interior surfaces of the cooking compartment or the heating elements. Always allow the appliance to cool down. Keep children at a safe distance.
- Accessories and ovenware become very hot. Always use oven gloves to remove accessories or ovenware from the cooking compartment.
- Alcoholic vapours may catch fire in the hot cooking compartment. Never prepare food containing large quantities of drinks with a high alcohol content. Only use small
quantities of drinks with a high alcohol content. Open the appliance door with care. - The hotplates and surrounding area (particularly the hob surround, if fitted) become very hot. Never touch the hot surfaces. Keep children at a safe distance.
- The hotplate heats up but the display does not work. Switch off the circuit breaker in the fuse box. Contact the after-salesservice.
Risk of scalding!
- The accessible parts become hot during operation. Never touch the hot parts. Keep children at a safe distance.
- When you open the appliance door, hot steam can escape. Steam may not be visible, depending on its temperature. When opening, do not stand too close to the appliance. Open the appliance door carefully. Keep children away.
- Water in a hot cooking compartment may create hot steam. Never pour water into the hot cooking compartment.
Risk of injury!
- Scratched glass in the appliance door may develop into a crack. Do not use a glass scraper, sharp or abrasive cleaning aids or detergents.
- Saucepans may suddenly jump due to liquid between the pan base and the hotplate. Always keep the hotplate and saucepan bases dry.
- If the appliance is placed on a base and is not secured, it may slide off the base. The appliance must be fixed to the base.
- The hinges on the appliance door move when opening and closing the door, and you may be trapped. Keep your hands away from the hinges.
Risk of tipping!

Warning: In order to prevent tipping of the appliance, this stabilizing means must be installed. Refer to the instructions for installation.
Risk of electric shock!
- Incorrect repairs are dangerous. Repairs may only be carried out and damaged power cables replaced by one of our trained after-sales technicians. If the appliance is defective, unplug the appliance from the mains or switch off the circuit breaker in the fuse box. Contact the after-sales service.
- The cable insulation on electrical appliances may melt when touching hot parts of the appliance. Never bring electrical appliance cables into contact with hot parts of the appliance.
- Do not use any high-pressure cleaners or steam cleaners, which can result in an electric shock.
- When replacing the cooking compartment bulb, the bulb socket contacts are live. Before replacing the bulb, unplug the appliance from the mains or switch off the circuit breaker in the fuse box.
- A defective appliance may cause electric shock. Never switch on a defective appliance. Unplug the appliance from the mains or switch off the circuit breaker in the fuse box. Contact the after-sales service.
- Cracks or fractures in the glass ceramic may cause electric shocks. Switch off the circuit breaker in the fuse box. Contact the after-sales service.
Hazard due to magnetism!
Permanent magnets are used in the control panel or in the control elements. They may affect electronic implants, e.g. heart pacemakers or insulin pumps. Wearers of electronic implants must stay at least 10 cm away from the control panel.
Risk of overheating!
Covering the ventilation openings in the floor of the appliance may cause it to overheat. Always install the appliance on the feet supplied.
Causes of damage
Hob
Caution!
- Rough pot and pan bases scratch the ceramic.
- Avoid boiling pots dry. This may cause damage.
- Never place hot pots or pans on the control panel, the display area or the surround. This may cause damage.
- Damage can occur if hard or pointed objects fall on the hob.
- Aluminium foil and plastic containers melt on hot hotplates. Oven protective foil is not suitable for your hob.
Overview
The following table provides an overview of the most frequent kinds of damage:
| Damage | Cause | Action |
| Stains | Food spills | Remove spills immediately with a glass scraper. |
| Unsuitable cleaning agents | Only use cleaning agents which are suitable for ceramic | |
| Scratches | Salt, sugar and sand | Do not use the hob as a work surface or storage space. |
| Rough pot and pan bases scratch the ceramic. | Check your cookware. | |
| Discolouration | Unsuitable cleaning agents | Only use cleaning agents which are suitable for ceramic |
| Pan abrasion (e.g. aluminium) | Lift the pots and pans when moving them. | |
| Blisters | Sugar, food with a high sugar content | Remove spills immediately with a glass scraper. |
Oven
Caution!
- Accessories, foil, greaseproof paper or ovenware on the cooking compartment floor: do not place accessories on the cooking compartment floor. Do not cover the cooking
compartment floor with any sort of foil or greaseproof paper. Do not place ovenware on the cooking compartment floor. This will cause heat accumulation. The baking and roasting times will no longer be correct and the enamel will be damaged. - Inserting accessories: depending on the appliance model, accessories can scratch the door panel when closing the appliance door. Always insert the accessories into the cooking compartment as far as they will go.
- Water in a hot cooking compartment: do not pour water into the cooking compartment when it is hot. This will cause steam. The temperature change can cause damage to the enamel.
- Moist food: do not store moist food in the cooking compartment when it is closed for prolonged periods This will damage the enamel.
- Fruit juice: when baking particularly juicy fruit pies, do not pack the baking tray too generously. Fruit juice dripping from the baking tray leaves stains that cannot be removed. If possible, use the deeper universal pan.
- Cooling with the appliance door open: only allow the cooking compartment to cool when it is closed. Even if the appliance door is only open a little, front panels of adjacent units could be damaged over time.
- Heavily soiled oven seal: if the oven seal is heavily soiled, the oven door will no longer close properly when the oven is in operation. The fronts of adjacent units could be damaged. Always keep the oven seal clean.
- Oven door as a bearing surface: do not stand or place objects on the oven door when it is open. Do not hang objects on the oven door.
- Carrying the appliance: do not carry or hold the appliance by the door handle. The door handle cannot support the weight of the appliance and could break.
- Heavy accessories: do not pull out heavily laden accessories too far without first unloading them sufficiently. Heavy accessories will tip when pulled out. This causes pressure to be exerted on the shelf supports in the cooking compartment, which can damage the enamel. Relieve the strain on the accessories when they are pulled out by raising them slightly with one hand. Caution: always use an oven cloth or oven gloves when handling hot accessories.
Measures to be noted during transport
Secure all mobile parts in and on the appliance using an adhesive tape that can be removed without leaving any traces. Push all accessories (e.g. baking tray) into the corresponding slots with cardboard at the edges, in order to avoid damaging the appliance. Place cardboard or similar between the front and rear side to prevent knocks against the inside of the glass door. Secure the door and, if available, the top cover to the appliance sides using adhesive tape. Keep the original appliance packaging. Only transport the appliance in the original packaging. Observe the transport arrows on the packaging.
If the original packaging is no longer available
pack the appliance in protective packaging to guarantee sufficient protection against any transport damage. Transport the appliance in an upright position. Do not hold the appliance by the door handle or the connections on the rear, as these could be damaged. Do not place any heavy objects on the appliance.
Installation
This appliance is supplied with a set of adjustable feet and a splatter guard. Never set up the appliance behind a decorative door or the door of a kitchen unit. There is a risk of overheating.
Fitting the adjustable feet
- Remove all parts that are not permanently fixed.
- Remove any accessories from the oven.
- Lift one side of the appliance off the floor and tilt it slightly.
- Screw the adjustable feet into the mounting holes on the underside of the appliance.
Note: If the appliance needs to be moved again, screw the adjustable feet in fully. - Only finally level the appliance once the gas has been connected and all of the installation work is complete.
Splatter guard
- Open the packaging of the splatter guard and remove the protective film.
- Position the holes and place the splatter guard in them.
- Insert and tighten the screws from below.

Positioning and levelling
Positioning the appliance
When installing the appliance, make sure that there is enough space in the final installation location to pull the appliance forwards for cleaning and maintenance work.
The ground underneath must be hard and firm. The wall immediately behind the appliance must be made from nonflammable material, e.g. tiles.
If you need to move the appliance in order to position it, make sure that the adjustable feet are fully screwed in.
Aligning the appliance
Turn the adjustable feet to align the appliance.

Note: Do not align the appliance until all other work has been completed.
The adjustable feet can be used to elevate the appliance by a maximum of 50 mm.
Check the alignment of the appliance once it has been installed in the intended place.
Adjacent units
Any adjacent units must not be made of flammable materials.
The fronts of any adjacent units must be heat-resistant up to at least 90 °C. If the appliance is installed very close to any other units, the minimum clearances given in the figure must be maintained.

Wall fixing
To prevent the cooker from tipping over, you must fix it to the wall using the enclosed bracket. Please observe the installation instructions for fixing the oven to the wall.
Electrical connection
The appliance must only be connected to the power supply by a licensed professional. The appliance must be installed in accordance with the most recent IEE guidelines (Institute of Electrical Engineers). The appliance may be damaged if incorrectly connected.
Make sure the voltage of the power supply corresponds to the specified value on the rating plate.
Ensure that the power supply is properly earthed and that the fuse and the wiring and piping system in the building is sufficiently dimensioned for the electrical power of the
appliance.
Observe the following points when routing the service cable:
- Do not pinch or squeeze the cable.
- Keep the cable away from sharp edges.
- Do not bring the cable into contact with parts that can reach temperatures of more than 50 °C above room temperature.
Danger of death!
There is a risk of electric shock if you touch live components.
- Always make sure your hands are dry when you touch or hold the mains plug.
- Only pull out the mains cable by taking hold of the plug and removing the plug; never pull it out by the mains cable itself, as this could damage it.
- Never unplug the mains plug when the appliance is in operation.
Please note the following information and ensure that:
Notes
- The mains plug fits the socket.
- The cable cross section is adequate.
- The earthing system is properly installed.
- The mains cable is only replaced by a qualified electrician (if this is necessary).Spare mains cables can be ordered from our after-sales service.
- No power strips/multi-way connectors or extension cables are used.
- If using a residual current device, only use one that bears the mark
.
The presence of this mark is the only way to be sure that it fulfils all the applicable regulations. - The mains plug can be accessed at all times.
- The mains cable is not kinked, crushed, modified or severed.
- The mains cable does not come into contact with heat sources.
The electric wires have the following colours.
The electric wires have the following colours.
Explanatory notes
| Green and yellow | Earth |
| Blue | Neutral wire |
| Brown, black and grey | Phase |
Connecting the appliance
The appliance belongs to protection class 1 and must only be operated with a protective earth connection.
The appliance must be disconnected from the power supply whenever installation work is being carried out.
The appliance must only be connected using the power cable provided.
When the appliance is installed, protection must be provided against accidental contact in the future.
The appliance must only be connected to the mains electricity supply by a specialist. This specialist must be aware of and comply with the requirements stipulated by the local energy supply company.
Any damage caused by the appliance being incorrectly connected is not covered by the guarantee.
Caution!
If the supply cord is damaged, it must be replaced by the manufacturer, its service agent or similarly qualified persons in order to avoid a hazard.
Power cable without an earthed safety plug
The wiring must have an isolating switch with a contact gap of at least 3 mm. Identify the phase and neutral wires (“third wire”) in the mains socket. The appliance may be damaged if it is not connected correctly. The mains power cable must be connected as shown in the connection diagram.
The power cable must be H05 VV-F or H05 V2V2-F or higher.
Note: The appliance comes delivered configured for connection to 3 phases. The power circuit must be configured to 20 A.
Connecting the appliance to 3 phases
For connection to 380-415 V with 3 phases + neutral (3N~), the phase connection must be changed.
- Use a 5 x 2,5 mm2 cable.
- Configure the circuit to 20 A per phase.
Connection diagram

Environmental protection
Your new appliance is particularly energy-efficient. Here you can find tips on how to save even more energy when using the appliance, and how to dispose of your appliance properly.
Saving energy with your oven
- Only preheat the oven if this is specified in the recipe or in the operating instruction tables.
- Use dark, black lacquered or enamelled baking tins. They absorb the heat particularly well.
- Open the oven door as infrequently as possible while cooking, baking or roasting.
- It is best to bake more than one cake, one after the other. The oven is still warm. This reduces the baking time for the second cake. You can also place two loaf tins next to each other.
- For longer cooking times, you can switch the oven off 10 minutes before the end of the cooking time and use the residual heat to finish cooking.
Saving energy with the hob
- Use pots and pans with thick, even bases. Uneven bases increase energy consumption.
- The diameter of pan bases should be the same size as the hotplate. In particular, small saucepans on the hotplate cause energy losses. Note that cookware manufacturers often indicate the upper diameter of the saucepan. This is usually bigger than the diameter of the base of the pan.
- Use a small saucepan for small quantities. A larger, less full saucepan requires a lot of energy.
- Always place suitable lids on saucepans. When cooking without a lid, four times the energy is required.
- Cook with only a little water. This will save energy. Vitamins and minerals in vegetables are preserved.
- Switch to a lower heat setting in good time.
- Use the residual heat. For longer cooking times, you can switch the hotplate off 5-10 minutes before the end of the cooking time.
Environmentally-friendly disposal
Dispose of packaging in an environmentally-friendly manner.
This appliance is labelled in accordance with European Directive 2012/19/EU concerning used electrical and electronic appliances (waste electrical and electronic equipment – WEEE). The guideline determines the framework for the return and recycling of used appliances as applicable throughout the EU.
Your new appliance
Get to know your appliance. You will find information about the control panel and hob, as well as the oven, types of heating and accessories.
Individual details may differ depending on the appliance model.

Description
- Splatter guard
- Hob
- Control panel
- Oven
- Storage compartment
The control panel

Explanation
- Control knob for oven temperature
- Oven indicator light
- Control knob for oven functions
- Buttons and display
- Cooking zones indicator light
- Control knob for cooking zones
The electronic clock
With the electronic clock, you can set a cooking time.
An audible signal sounds once the cooking time has elapsed.
Function buttons for the electronic clock
| Symbol | Meaning | Use |
| Mode | Electronic clock | Sets the cooking time or the time |
| – | Minus | Decreases the cooking time or the time |
| + | Plus | Increases the cooking time or the time |
The hob
Risk of burns!
Hot air flows out from the ventilation opening on the hob. Never touch the ventilation opening.
Please note that, in the case of appliances with a hob cover, the burners in the oven must also only be switched on if the hob cover is open.

Description
- Dual-circuit hotplate 120 and 210 mm
- Roasting zone 145 x 250 mm
- Hotplate 145 mm
- Ventilation opening
- Hotplate 180 mm
- Residual heat indicator
Control knob for hotplates
Use the control knobs to set the heat setting for the individual hotplates.
| Position | Meaning |
| The hotplate is switched off. | |
| 1-6 Heat settings | 1 = Lowest setting 6 = Highest setting |
| Switch on the large dual-circuit hotplate or the roasting zone. |
Residual heat indicator
The hob has a residual heat indicator for the hotplates. It shows which hotplates are still hot. Even if the hob is switched off, the indicator will remain lit until the relevant hotplate has cooled down sufficiently.
You can save energy by using the residual heat to keep a small dish warm, for example.
The oven
In order to operate the oven, you require two operating knobs:
The function selector and the temperature selector.
Control knob for oven
Function selector
Use the function selector to set the type of heating.
| Type of heating | Use |
| The oven is switched off. | |
| This switches the light inside the oven on. | |
| For defrosting items, e.g. meat, poultry, bread and cakes. The fan circulates hot air around the dish. | |
| For cakes and pastries. The fan distributes the heat from the ring-shaped heating element in the back panel evenly around the cooking compartment. | |
| For cooking cakes, bakes and joints of meat on a single shelf. Heat is emitted evenly from the top and bottom. | |
| For cakes without toppings or fillings in tins, puff pastry and joints of meat. | |
| For quickly cooking frozen products without preheating, e.g. pizza, chips or puff pastry. Heat is emitted by the bottom heating element and the ring-shaped heating element in the back panel. | |
| Grilling: Small amounts of steak, sausages, bread and fish. The centre part of the grill heating element becomes hot. Rotisserie spit: For roasts, rolled joints of meat and poultry | |
| Grill: For cooking steak, sausages, bread and fish. The whole area below the grill element becomes hot. Rotisserie spit: For roasts, rolled joints of meat and poultry | |
| For cooking meat, poultry and fish. The grill heating element and the fan switch on and off alternately. The fan circulates the hot air from the grill around the dish. Rotisserie spit: For roasts, rolled joints of meat and poultry |
Temperature selector
Use the temperature selector to set the temperature.
| Position | Meaning |
| Off | |
| 50 – 250 | Temperature range in °C |
There is a limit stop between the “Max.” and Û positions. Do not turn the control knob beyond this point.
Cooling fan
The hot air escapes via the ventilation opening. This cooling fan switches on and off as required. Caution! Do not cover the ventilation slots. Otherwise the oven will overheat.
The storage compartment
Open the storage compartment by folding down the fascia panel.

This compartment can be used to store hob or oven accessories.
Risk of fire!
Never leave combustible items in the storage compartment.
Accessories
Your appliance is accompanied by a range of accessories.
Here, you can find an overview of the accessories included and information on how to use them correctly.
![]() | Baking and roasting shelf For ovenware, cake tins, joints of meat, grilled items and frozen meals. |
![]() | Universal pan For moist cakes, pastries, frozen food and large joints of meat. The universal pan can be used to catch dripping fat when grilling directly on the wire rack. |
![]() | Rotisserie spit With spit adaptor and metal frame For roasting joints and large items of poultry. |
The baking tray and the baking and roasting shelf can be moved into five different heights within the cooking compartment. Always insert them as far as they will go so that
the accessories do not touch the door panel. Ensure that you always insert the accessories into the cooking compartment the right way round.

Risk of fire!
Under no circumstances should a roasting tin, baking tray, frying pan or any other form of cookware be placed directly on the oven floor. This causes the floor of the appliance to overheat and can seriously damage the appliance.
Before using the oven for the first time
In this section, you can find out what you must do before using your oven to prepare food for the first time. First read the section on Safety information.
Heating up the oven
To remove the new cooker smell, heat up the oven when it is empty and closed. An hour of Top/bottom heating
at 240 °C is ideal for this purpose. Ensure that no packaging remnants have been left in the cooking compartment.
Keep the kitchen ventilated the whole time the oven is on.
- Use the function selector to set Top/bottom heating %.
- Set the temperature selector to 240 °C.
After an hour, switch off the oven. To do so, turn the function selector to the off position.
Cleaning the accessories
Before you use the accessories for the first time, clean them thoroughly with hot soapy water and a soft dish cloth.
Operating the appliance
You have already learnt about the controls and how they work. Now we will explain how to set your appliance. You will learn about what happens when you switch the appliance on and off, and how to select the operating mode.
Hob
Switching the hob on and off
You can use the hotplate control knobs to switch the hob on and off.
Applying hotplate settings
Use the hotplate control knobs to select the heat setting for the hotplates. Press the control knob for the required hotplate and turn it to the required heat setting.
Heat setting 1 = Lowest setting
Heat setting 6 = Highest setting
Note: Hotplate temperature is regulated by the heat switching on and off. The heat may also switch on and off at the highest setting.
Large dual-circuit hotplate and roasting zone
The size of these hotplates can be altered.
Switching on the large area
Turn the control knob to position 6 – where you will feel a slight resistance – then continue turning to the
symbol = large dual-circuit hotplate or roasting zone
Then immediately turn it back to the required heat setting.
Switching back to the small area
Turn the control knob to Û and configure again.
The small dual-circuit hotplate is particularly good for heating small amounts of food.
Caution!
Never turn the knob beyond the
symbol to
.
Oven
Operating the oven
Switching on the oven
Note: Always keep the appliance door closed when it is in operation.
- Turn the function selector to the desired operating mode.
- Turn the temperature selector to set the desired temperature.
The oven switches on.
The indicator lamp is lit when the oven is heating up. It goes out during pauses in heating.
Note: The indicator lamp also lights up when the function selector is in the off position and a temperature is set. The oven only begins to heat up when an operating mode is set.
Switching off the oven
- Turn the function selector to the
position. - Turn the temperature selector to the
position.
The oven is switched off.
Rotary spit
Preparing the rotary spit
- Slide a retaining clip onto the rotary spit and screw on the handle.

- Place the roast as close as possible to the centre of the rotary spit.
- Use retaining clips to secure the roast in place.
- Use milled screws to secure the retaining clips.

Inserting the rotisserie spit
Risk of burns!
Never touch the hot surfaces of the cooking compartment or the heating elements. Children must be kept at a safe distance from the appliance at all times. Open the appliance door carefully. Hot steam may escape.
- Push the rotisserie spit rack fully into the appliance on shelf level 3.
- Place the rotisserie spit onto the rotisserie spit rack and unscrew the handle.

- Push the rotisserie spit rack in fully.
- Push the rotisserie spit rack to the right and into the motor adaptor.

- Pour water into a baking tray and slide it in on shelf level 1 to collect any fat that drips out.
- Close the appliance door.
Switching on the rotary spit
Note: Insert the rotisserie spit. Set the oven to the G, 9 or : position.
- Turn the control knob for the oven to the G, 9 or : position.
- Set the temperature.
Note: Add some water to the universal pan to catch any fat that drips out.
Removing the rotisserie spit
Risk of burns!
Never touch the hot surfaces of the cooking compartment or the heating elements. Children must be kept at a safe distance from the appliance at all times. Open the appliance door carefully. Hot steam may escape.
Risk of burns!
Never directly touch the rotisserie spit or other accessories when they are hot. Always use a pot holder or wear oven gloves to handle accessories when they are hot.
- Open the appliance door carefully.
- Pull the rotisserie spit rack with the metal frame to the left and out of the motor adaptor.

- Pull the rotisserie spit rack out of the oven as far as possible.
- Hold the rotisserie spit on the right-hand side with a pot holder and screw the grill onto the rotisserie spit.
- Carefully lift the rotisserie spit off the rotisserie spit rack.
- Remove the rotary spit rack and the baking tray from the oven.
Time-setting options
Setting the clock
Once the appliance has been connected to the mains or after a power cut, the “A” symbol and “12:00” will flash in the display. The current time must be set in order for the oven to be switched on.
- Press the “+” and “-” buttons at the same time or just press the “Mode” button. The
symbol will appear in the display. Setting mode is active once the
symbol starts flashing. - Use the “+” and “-” buttons to set the current time.
If the buttons are not pressed for a long time, the symbols will stop flashing and the display will show the set time.
Note: The function selector, the temperature selector and the clock must be set before using the oven. Otherwise the oven will not switch on.
Button lock
The digital timer has an automatic button lock. If the timer is inactive for more than 10 seconds, the button lock is activated automatically. To disable the button lock, press and hold the “Mode” button for 2 seconds.
Setting the timer
The timer has no effect on how the oven works. The timer can be set between 1 minute and 23 hours and 59 minutes.
- Press and hold the “Mode” button for 2 seconds to disable the button lock. The
symbol will flash in the display. - Use the “+” and “-” buttons to set the required time. If the buttons are not pressed for a long time, the symbols will stop flashing and the display will show the current time.
- An audible signal will sound once the time has elapsed. Press the “Mode” button to switch off the timer.
Semi automatically programming the cooking time
A different cooking time can be set for each item of food in the oven. The oven will switch off automatically at the end of the cooking time. This means that you do not have to stop what you are doing to switch off the oven, and prevents the food from accidentally being cooked for too long.
- Use the function selector to set the type of heating.
- Use the temperature selector to set the temperature.
- Press and hold the “Mode” button for 2 seconds to disable the button lock.
- Press the “Mode” button repeatedly until “dur” appears in the display. When “dur” appears, indicator “A”, “00:00” and the
symbol will flash in the display. - Use the “+” and “-” buttons to set the cooking time.
- Once this has been set, the current time, the “A” symbol and the
symbol will light up permanently in the display. The oven heats up.
End of the cooking time
An audible signal will sound once the set time has elapsed.
Use the “Mode” button to switch off the timer.
Semi automatically programming the switch-off time
This function is used to continue cooking until the switch-off time is reached. The oven will switch off automatically at the end of the cooking time. This means that you do not have to stop what you are doing to switch off the oven, and prevents the food from accidentally being cooked for too long.
- Use the function selector to set the type of heating.
- Use the temperature selector to set the temperature.
- Press and hold the “Mode” button for 2 seconds to disable the button lock.
- Press the “Mode” button repeatedly until “end” appears in the display. When “end” appears, indicator “A”, the current time and the
symbol will flash in the display. - Use the “+” and “-” buttons to set the end of the cooking time.
- Once this has been set, the current time, the “A” symbol and the
symbol will light up permanently in the display. The oven heats up.
End of the cooking time
An audible signal will sound when the set time has been reached. Use the “Mode” button to switch off the timer.
Fully automatic programming
The oven can be programmed to the time at which the dish is expected to be ready. The oven will switch itself on automatically switch itself off again at the required time. This means that you can, for example, place a dish in the oven in the morning and program it so that the dish will be ready at midday.
Make sure that food is not left in the cooking compartment for too long as it may spoil.
- Set the cooking time in accordance with the instructions for programming the cooking time semi-automatically.
- Set the end of the cooking time in accordance with the instructions for programming the switch-off time semiautomatically.
The oven will switch itself on at the right time for the cooking time length and the switch-off time that have been set. The “A”,
and
symbols will light up and stay lit.
Once the oven has switched itself on, the “A” symbol and the
symbol will light up permanently in the display.
The timer will emit an audible signal when oven switches off.
End of the cooking time
Use the “Mode” button to switch off the timer.
Cancelling programming
Pressing the “+” and “-” buttons at the same time for 2 seconds will cancel any fully automatic or semi-automatic programmes that have been set.
Note: This does not apply to timer volume setting.
Changing the audible signal
Pressing and holding the “-” button for 5 seconds while the timer is showing the current time will make the clock issue a warning signal. The clock has three different audible signals. A different signal will sound each time the “-” button is pressed.
The last signal you selected is saved as the default tone.
Care and cleaning
With attentive care and cleaning, your hob and oven will retain its looks and remain in good working order for a long time. We will explain here how you should care for and clean them correctly.
Notes
- Slight differences in the colours on the front of the oven are caused by the use of different materials, such as glass, plastic and metal.
- Shadows on the door panel which look like streaks, are caused by reflections made by the oven light.
- Enamel is baked on at very high temperatures. This can cause some slight colour variations. This is normal and does not affect operation. The edges of thin trays cannot be completely enamelled. As a result, these edges can be rough. This will not impair the anti-corrosion protection.
Risk of electric shock!
Do not use any high-pressure cleaners or steam cleaners, which can result in an electric shock.
Risk of burns!
The appliance becomes very hot. Never touch the interior surfaces of the cooking compartment or the heating elements. Always allow the appliance to cool down. Keep children at a safe distance.
Cleaning agents
Damage to the various different surfaces caused by using the wrong cleaning agent can be avoided by observing the following instructions.
When cleaning the hob do not use
- undiluted washing-up liquid or dishwasher detergent,
- scouring pads,
- abrasive cleaning agents such as oven cleaner or stain remover,
- high-pressure cleaners or steam jets.
- Do not clean individual parts in the dishwasher.
When cleaning the oven do not use
- sharp or abrasive cleaning agents,
- cleaning agent with a high alcohol content,
- scouring pads,
- high-pressure cleaners or steam jets.
- Do not clean individual parts in the dishwasher.
Wash new sponges thoroughly before first use.
| Zone | Cleaning agent |
| Stainless steel surfaces* (depending on appliance model) | Hot soapy water: Clean with a dish cloth and dry with a soft cloth. On stainless steel surfaces, always wipe parallel to the natural grain. Otherwise, you may scratch the surface. Remove patches and splashes of limescale, grease, starch and albumin (e.g. egg white) immediately. Corrosion can form under such patches and splashes. Special care products suitable for hot stainless steel surfaces are available from our after-sales service and from specialist retailers. Apply a thin layer of care product with a soft cloth. |
| Enamel, painted, plastic and screen- printed surfaces* (depending on appliance model) | Hot soapy water: Clean with a dish cloth and dry with a soft cloth. Do not use glass cleaner or glass scrapers for cleaning. |
| Control panel | Hot soapy water: Clean with a dish cloth and dry with a soft cloth. Do not use glass cleaner or glass scrapers for cleaning. |
| Upper glass cover* (depending on appliance model) | Glass cleaner: Clean with a soft cloth. You can remove the upper glass cover for cleaning. To find out how to do this, please refer to the section Upper glass cover. |
| Rotary knobs Do not remove. | Hot soapy water: Clean with a dish cloth and dry with a soft cloth. |
| Hob surround | Hot soapy water: Do not clean with a glass scraper, lemon juice or vinegar. |
| Gas hob and pan supports* (depending on appliance model) | Hot soapy water. Use very little water. Water must not be allowed to enter the appliance through the base of the burners. Clean off boiled-over liquids and spilt food immediately. You can remove the pan supports. |
| Cast iron pan supports*: Do not clean in the dishwasher. | |
| Gas burners* (depending on appliance model) | Remove the burner head and cap and clean with hot soapy water. Do not clean in the dishwasher. The gas outlet openings must remain unobstructed at all times. Ignition plugs: Small, soft brush. The gas burners only work properly when the ignition plugs are dry. Dry all parts thoroughly. Ensure that they are refitted correctly. The burner caps are coated in black enamel. The colour may change over time. This does not impair their performance. |
| Electric hotplate* (depending on appliance model) | Abrasive materials or sponges: Briefly heat up the hotplate afterwards, so that it dries. Hotplates can rust over time if they remain wet. Apply care product to finish. Clean off boiled-over liquids and spilt food immediately. |
| Hotplate ring* (depending on appliance model) | Remove yellow to blue iridescent discolouration from the hotplate ring with a steel care product. Do not use any abrasive materials that may scratch surfaces. |
| Ceramic hob* (depending on appliance model) | Care: Protective/care products for ceramics Cleaning: Cleaning agents suitable for ceramics. Follow the cleaning instructions on the packaging. |
Replace damaged blades immediately. | |
| Glass hob* (depending on appliance model) | Care: Protective/care products for glass Cleaning: Cleaning agents for glass. Follow the cleaning instructions on the packaging. |
Remove the protective cover and clean using the blade only. Caution: The blade is very sharp. Risk of injury. Cover the blade again after cleaning. Replace damaged blades immediately. | |
| Glass panel | Glass cleaner: Clean with a soft cloth. Do not use the glass scraper. The door can be removed to facilitate cleaning. To find out how to do this, please refer to the section Removing and refitting the oven door. |
| Childproof lock* (depending on appliance model) | Hot soapy water: Clean with a dish cloth. If a childproof lock has been fitted to the oven door, it must be removed before cleaning. If it is very dirty, the childproof lock will not work properly. |
| Seal Do not remove. | Hot soapy water: Clean with a dish cloth. Do not scour. |
| Cooking zone | Hot soapy water or a vinegar solution: Clean with a dish cloth. For stubborn dirt, use a stainless steel scouring pad or oven cleaner. Only use when the cooking compartment is cold. |
| Glass cover for the oven light | Hot soapy water: Clean with a dish cloth. |
| Shelf | Hot soapy water: Clean with a dish cloth or a brush. You can remove the shelves for cleaning. To find out how to do this, please refer to the section Removing and refitting shelves. |
| Telescoping extension rails* (depending on appliance model) Hot soapy water: Clean with a dish cloth or a brush. Do not remove the lubricant from the extension rails. It is best to clean them when they are pushed in. Do not soak, clean in the dishwasher, or clean in the oven as part of the self-cleaning programme. This may damage the shelves and they may no longer work properly as a result. | |
| Accessories | Hot soapy water: Soak and then clean with a dish cloth or a brush. |
| Aluminium baking tray*: (depending on appliance model) Dry with a soft cloth. Do not clean in the dishwasher. Never use oven cleaner. To prevent scratches, never touch the metal surfaces with a knife or a similar sharp object. Harsh cleaning products, scratchy sponges and rough cleaning cloths are not suitable. Otherwise, you may scratch the surface. | |
| Rotary spit* (depending on appliance model) Hot soapy water: Clean with a dish cloth or a brush. Do not clean in the dishwasher. | |
| Meat thermometer* (depending on appliance model) Hot soapy water: Clean with a dish cloth or a brush. Do not clean in the dishwasher. | |
| Plinth drawer* (depending on appliance model) | Hot soapy water: Clean with a dish cloth. |
Surfaces in the cooking compartment
The back wall and side parts in the cooking compartment are self-cleaning. You can tell this from the rough surface.
The cooking compartment floor and ceiling are enamelled and have smooth surfaces.
Cleaning enamelled surfaces
Clean the smooth enamelled surfaces with a dish cloth and hot soapy water or a vinegar solution. Then dry with a soft cloth. Soften baked-on food residues with a damp cloth and soapy water. Use stainless steel wire wool or oven cleaner to remove stubborn dirt.
Leave the cooking compartment open to dry after cleaning.
Note: Food residues can cause white deposits to form. These are harmless and do not affect how the appliance works. You can remove these residues using lemon juice if required.
Cleaning self-cleaning surfaces
The self-cleaning surfaces are coated with a porous, matte ceramic layer. This coating absorbs and dispels splashes from baking and roasting while the appliance is in operation. If the self-cleaning surfaces no longer clean themselves sufficiently and dark stains appear, they can be cleaned using the cleaning function. To do this, refer to the information in the relevant section.
Caution!
Do not use oven cleaner on self-cleaning surfaces. This will damage the surfaces. If oven cleaner does get onto these surfaces, dab it off immediately using water and a sponge
cloth. Do not rub the surface and do not use abrasive cleaning aids.
Detaching and refitting the rails
The rails can be removed for cleaning. The oven must have cooled down.
Unhooking the rails
- Hold the bottom of the rail and pull it towards you a little. Pull the extension pins at the bottom of the rail out of the fastening openings (figure A).
- Then pull the rail upwards and remove it (figure B).

Clean the rails with washing-up liquid and a sponge. Use a brush to remove stubborn dirt deposits.
Hooking in the rails
- Place the two hooks at the top of the rail into the upper holes.
- Both hooks must be inserted fully into the upper holes. Now move the rail down slowly and carefully and hook it into the lower holes.
- Hook both rails into the side walls of the oven.
Keeping the appliance clean
Always keep the appliance clean and remove dirt immediately so that stubborn deposits of dirt do not build up. Clean the cooking compartment after each use. This will ensure that dirt cannot be baked on.
Always remove flecks of limescale, grease, starch and albumin (e.g. egg white) immediately.
Use the universal pan for baking very moist cakes.
Use suitable ovenware for roasting, e.g. a roasting dish.
Appliance door
With good care and cleaning, your appliance will retain its appearance and remain fully functional for a long time to come.
This will tell you how to clean the appliance door.
Detaching and attaching the oven door
For cleaning purposes and to remove the door panels, you can detach the oven door.
The oven door hinges each have a locking lever. When the locking levers are closed (figure A), the oven door is secured in place. It cannot be detached. When the locking levers are open in order to detach the oven door (figure B), the hinges are locked. They cannot snap shut.

Risk of injury!
Whenever the hinges are not locked, they snap shut with great force. Ensure that the locking levers are always fully closed or, when detaching the oven door, fully open.
Detaching the door
- Open the oven door fully.
- Fold up the two locking levers on the left and right (figure A).
- Close the oven door as far as the limit stop. With both hands, grip the door on the left and right-hand sides. Close the door a little further and pull it out (figure B).

Attaching the door
Reattach the oven door in the reverse sequence to removal.
- When attaching the oven door, ensure that both hinges are inserted straight into the opening (figure A).
- The notch on the hinge must engage on both sides (figure B).

- Fold back both locking levers (figure C). Close the oven door.

Risk of injury!
Risk of injury. If the oven door falls out accidentally or a hinge snaps shut, do not reach into the hinge. Call the aftersales service.
Trouble shooting
Risk of injury!
Incorrect repairs may cause serious hazards. Repairs to the appliance must only be carried out by a qualified technician. If repairs are required, contact the after-sales service.
Fault table
| Fault | Possible cause | Remedy/information |
| The appliance does not work. | The circuit breaker is faulty | Look in the fuse box and check that the circuit breaker is in working order. |
| Power cut | Check whether the kitchen light works. | |
| Zeros flash in the display. | Power cut | Reset the time. |
| The oven light has failed. | Faulty oven light | Change the oven light bulb. (See section “Replacing the oven light”) |
| The oven does not heat up. | Faulty fuse. | Check and, if required, replace the circuit breaker. |
| The function selector has not been set. | Set the function selector. | |
| All dishes that are prepared in the oven burn within an extremely short period of time. | Faulty thermostat | Call the after-sales service. |
| The door panel steams up when the oven is hot. | Normal occurrence; caused by the dif-ference in temperature | Not possible; this has no effect on oven performance. |
Replacing the oven light bulb
If the bulb in the oven light fails, it must be replaced.
Replacement heat-resistant bulbs can be obtained from the after-sales service or from specialist retailers. Please supply your appliance’s E number and FD number. Do not use any other type of bulb.
Risk of electric shock!
When replacing the cooking compartment bulb, the bulb socket contacts are live. Before replacing the bulb, unplug the appliance from the mains or switch off the circuit breaker in the fuse box.
- Pull out the mains plug or switch off the circuit breaker.
- Open the appliance door.
- When the oven is cold, place a tea towel inside to prevent damage.
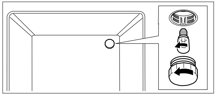
- Remove the glass cover for the defective oven light in the cooking compartment.

- Replace the oven light bulb with one of the same type.
Voltage: 230 V;
Power: 25 W;
Thread: E14;
Temperature resistance: 300 °C - Put the glass cover for the oven light bulb back on.
- Remove the tea towel and switch the circuit breaker back on or plug the mains plug in again.
- Switch on the oven light and check that it is working correctly.
After-sales service
Our after-sales service is there for you if your appliance needs to be repaired. We will always find the right solution in order to avoid unnecessary visits from a service technician.
E number and FD number
When calling us, please give the product number (E no.) and the production number (FD no.) so that we can provide you with the correct advice. The rating plate containing these numbers can be found on the right-hand side of the oven door. You can make a note of the numbers of your appliance and the telephone number of the after-sales service in the space below to save time should it be required.
E no.
FD no.
After-sales service ![]()
Please note that there will be a fee for a visit by a service technician in the event of a malfunction, even during the warranty period.
After-sales contact details for all countries can be found in the attached after-sales service directory.
BSH Hausgeräte GmbH
Carl-Wery-Straße 34
81739 München, GERMANY
www.bosch-home.com
A Bosch Company
Note: If the appliance needs to be moved again, screw the adjustable feet in fully.


























