FORTE F30MVTKSS Built-In Trim Kit
MICROWAVE OVEN SAFETY
Your safety and the safety of others are very important.
We have provided many important safety messages in this manual and on your appliance. Always read and obey all safety messages.
This is the safety alert symbol.
This symbol alerts you to potential hazards that can kill or hurt you and others.
All safety messages will follow the safety alert symbol and either the word “DANGER” or “WARNING.” These words mean:
DANGER: You can be killed or seriously injured if you don’t immediately follow instructions.
WARNING: You can be killed or seriously injured if you don’t follow instructions.
All safety messages will tell you what the potential hazard is, tell you how to reduce the chance of injury, and tell you what can happen if the instructions are not followed.
INSTALLATION INSTRUCTIONS
Tools and Parts
Tools Needed
Gather the required tools and parts before starting installation. Read and follow the instructions provided with any tools listed here.
- Measuring tape
- Pencil
- Phillips screwdriver
- Drill
- 7/64″ drill bit
Parts Supplied (not shown to scale) 
Location Requirements
The microwave oven may be installed over a built-in oven. If installing over a built-in oven, make sure there is a minimum of 3″ (7.6 cm) between the top of the lower oven cutout and the microwave oven cutout floor.
The microwave oven may also be installed in a cabinet by itself (without a built-in oven below). For best usability, we recommend a minimum distance of 36″ (91.4 cm) from the floor to the cutout floor.
Make sure the surrounding cabinetry has clearance to open and close freely. Allow a clearance of at least 1⁹⁄₁₆” (4.0 cm) below the cutout floor (3″ [7.6 cm] for installation above a built-in oven), and a clearance of at least 2″ (5.1 cm) above the cutout opening.
A. Upper cabinet
B. Microwave oven cutout
C. Lower oven cutout
D. Lower cabinets
E. Floor
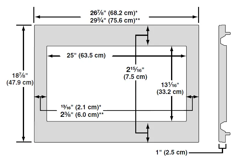
Dimensions
Required Cutout Dimensions

A. Trim kit frame overhang
B. Cutout for lower oven
NOTES:
- Height dimension is critical: 17″ (43.2 cm) minimum, 17¹⁄₈” (43.5 cm) maximum.
- Width and depth measurements have ±1/16″ (2 mm) tolerance.
- 3″ (7.6 cm) minimum dimension is from lower oven cutout ceiling to microwave oven cutout floor.
- Trim kit frame extends 1¹⁄₁₆” (2.7 cm) above and below the cutout opening.
Trim Kit Frame Dimensions
- 27″ (68.6 cm) trim kit
- 30″ (76.2 cm) trim kit
Electrical Requirements
WARNING
Electrical Shock Hazard
- Plug into a grounded 3 prong outlet.
- Do not remove ground prong.
- Do not use an adapter.
- Do not use an extension cord.
- Failure to follow these instructions can result in death, fire, or electrical shock.
Observe all governing codes and ordinances.
Required:
- A 120 volt, 60 Hz, AC only, 15- or 20-amp electrical supply with a fuse or circuit breaker.
Recommended:
- A time-delay fuse or time-delay circuit breaker.
- A separate circuit serving only this microwave oven.
GROUNDING INSTRUCTIONS
- For all cord connected appliances:
The microwave oven must be grounded. In the event of an electrical short circuit, grounding reduces the risk of electric shock by providing an escape wire for the electric current. The microwave oven is equipped with a cord having a grounding wire with a grounding plug. The plug must be plugged into an outlet that is properly installed and grounded.
WARNING: Improper use of the grounding plug can result in a risk of electric shock. Consult a qualified electrician or serviceman if the grounding instructions are not completely understood, or if doubt exists as to whether the microwave oven is properly grounded.
Do not use an extension cord. If the power supply cord is too short, have a qualified electrician or serviceman install an outlet near the microwave oven.
SAVE THESE INSTRUCTIONS
Prepare Microwave Oven
- Unplug microwave oven before proceeding with installation.
- Remove any loose items inside microwave oven.
- Gently turn microwave oven onto its top, with the door facing forward (toward installer).
- Align the #33 holes on the microwave oven bottom with the #33 holes on the rails, as shown, making sure the flanges are forward and pointing up.

A. Rails (2)
B. Microwave oven bottom
C. Short screws (4)
D. Flanges
E. Door - Secure the rails to the microwave oven bottom using four short screws through the #33 hole sets.
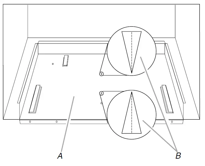
Prepare Cutout/Cabinet Opening
- On the cutout floor, find and mark the centerline.
- Place the bottom duct in the opening, with the flange resting against the bottom front facing of the opening.

A. Cutout floor
B. Centerline
C. Bottom duct
D. Bottom duct flange
E. Front facing - Align the center arrows on the bottom duct with the centerline drawn in Step 1 above.

A. Bottom duct
B. Center arrows, aligned with centerline - Mark the three mounting holes through the bottom duct onto the cutout floor.

A. Short screws (3)
B. Bottom duct mounting holes - Using 7/64″ drill, drill pilot holes into the three holes marked in Step 4.
- Realign and install the bottom duct with three short screws.
- Using 7/64″ drill, drill pilot holes through the four mounting holes of the bottom duct flange into the bottom front facing of the cutout/cabinet opening.

Installation
Install the Microwave Oven
- Gently return the microwave oven to its upright position.
- Position microwave oven near cutout opening.
WARNING: Electrical Shock Hazard- Plug into a grounded 3-prong outlet.
- Do not remove the ground prong.
- Do not use an adapter.
- Do not use an extension cord.
- Failure to follow these instructions can result in death, fire, or electrical shock.
- Plug in microwave oven.
- Align the rails with the rail guides on the bottom duct.

A. Rail guides
B. Rails - Slide the microwave oven back and into place. The mounting holes of the rail flanges and bottom duct flange will align against the bottom front facing of the cutout/cabinet opening.
- Secure the microwave oven to the cutout/cabinet by installing four short screws into the mounting holes.

A. Mounting holes
B. Short screws (4)
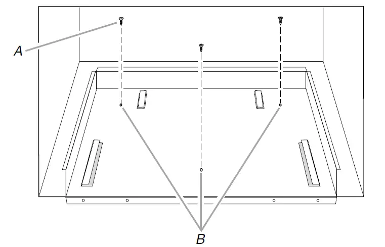
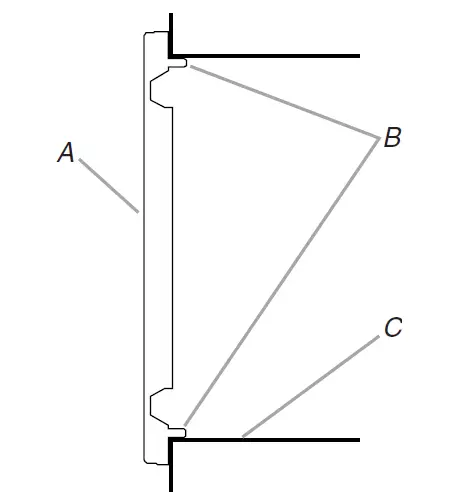
Install Trim Kit Frame
- Position trim kit frame over the opening so that the lower tabs rest on the cutout floor, as shown.

A. Front of trim kit frame
B. Tabs (upper and lower)
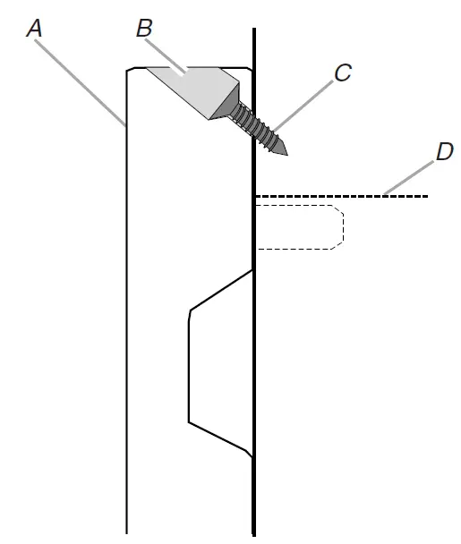
C. Cutout/cabinet floor - Holding the trim kit frame in place, use a 7/64″ drill to drill four pilot holes into the front facing of the cutout/cabinet through the mounting hole guides in the upper and lower corners of the trim kit frame.
NOTES:- The holes will be drilled down from the top, and upward from the bottom at an angle of about 45°.
- To avoid damage to the trim kit frame, do not overtighten screws.

A. Trim kit frame
B. Mounting hole guide
C. Long wood screw (4 – painted)
D. Cutout ceiling
- Secure trim kit frame to cutout/cabinet by installing four long wood screws (painted) into the pilot holes drilled in Step 2 above.

Installation is now complete. Replace any loose items that have been removed from the microwave oven cavity.
Save these Installation Instructions for future reference.
Microwave Warranty
WARRANTY COVERAGE
FORTE microwave parts will be warranted for one year from the original purchase date for the original purchaser of the product.
TERMS
This warranty applies only to the original purchaser of the product installed for normal residential use. This is defined as a single-family, residential dwelling in a non-commercial setting. Commercial settings include but are not limited to: schools, churches, hotels, restaurants, vacation rentals such as Airbnb, daycare centers, private clubs, fire stations, common areas in multi-family dwellings, nursing homes, food service locations, and institutional food service locations such as hospitals or correction facilities. This warranty is non-transferable and will not be extended based on the date of installation. The warranty applies only to products installed in the continental United States and the District of Columbia. Warranty shall not apply and FORTE is not responsible for damage resulting from negligence, improper maintenance, misuse, abuse, alteration of or tampering with the appliance, accident, natural disaster, improper electric supply, unauthorized service or repair, improper installation, or installation not in accordance with the instructions contained in the manual or the local codes.
WHAT IS NOT COVERED
- Installation or start-up damages or problems caused by improper installation or use.
- Damage related to unauthorized service or unauthorized parts.
- Installation in any commercial or non-residential application.
- Aesthetic damage, scratches, or natural wear caused by normal use.
1870 Bath Avenue, Suite 3 | Brooklyn, NY 11214 | Tel: 718.249.1217 | [email protected] | www.forteappliances.com





























