COSMO COS-SBSR263RHSS 26.3 cu. ft. Side-by-Side Refrigerator with Ice Maker & Water Dispenser
Thank you for your purchase. We know that you have many brands and products to choose from and we are honored to know that you have decided to take one of our products into your home and hope that you enjoy it.
COSMO Appliances are designed according to the strictest safety and performance standard for the North American market. We follow the most advanced manufacturing philosophy. Each appliance leaves the factory after thorough quality inspection and testing. Our distributors and our service partners are ready to answer any questions you may have regarding how to install, use and care for your products. We hope that this manual will help you learn to use the product in the safest and most effective manner. Before using this product, please read through this manual carefully. Keep this user manual in a safe place for future reference. Please ensure that other persons using this product are familiar with these instructions as well. If you have any questions or concerns, please contact the dealer from whom you purchased it, or contact our Customer Support at 1-888-784-3108.
WARNING: Risk of fire / flammable materials
- This appliance is intended to be used in household and similar applications such as staff kitchen areas in shops, offices and other working environments; farm houses and by clients in hotels, motels and other residential type environments; bed and breakfast type environments; catering and similar non-retail applications.
- For EN standard: This appliance can be used by children aged from 8 years and above, special needs persons or persons lacking experience and knowledge if they have been given supervision or instruction concerning use of the appliance in a safe way and understand the hazards involved. Children shall not play with the appliance. Cleaning and user maintenance shall not be made by children without supervision. (Europe directive optional)
- For IEC standard: This appliance is not intended for use by persons (including children) with special needs, or lack of experience and knowledge, unless they have been given supervision instruction concerning use of the appliance by a person responsible for their safety. (Europe directive optional)
- Children should be supervised so that they do not play with the appliance.
- If the supply cord is damaged, it must be replaced by the manufacturer, its service agent or similar qualified persons in order to avoid hazards.
- Do not store explosive substances such as aerosol cans with a flammable propellant in this appliance.
- The appliance must be be unplugged after use and before carrying out user maintenance on the appliance.
- WARNING: Risk of fire / flammable materials.
- WARNING: Keep ventilation openings, in the appliance enclosure or in the built-in structure, clear of obstruction.
- WARNING: Do not use mechanical devices or other means to accelerate the defrosting process, other than those recommended by the manufacturer.
- WARNING: Do not damage the refrigerant circuit.
- WARNING: Do not use electrical appliances inside the food storage compartments of the appliance, unless they are of the type recommended by the manufacturer.
- WARNING: Please abandon the refrigerator according ID local regulation for its use flammable blowing gas and refrigerant.
- WARNING: Connect ID potable water supply only.
- DO NOT use extension cords or ungrounded (two prong) adapters.
- DANGER: To avoid the risk of child entrapment, before you throw away your old refrigerator or freezer, please ensure the following steps are taken:
- Remove all refrigerator doors.
- Leave the shelves in place so that children may not easily climb or fit inside.
The refrigerator must be disconnected from the source of electrical supply before attempting the installation of an accessory.
Refrigerant and cyclopentane foaming material used for the refrigerator are flammable. Therefore, when the refrigerator is scraped, it shall be kept away from any fire source and be recovered by a special recovering company with corresponding qualification other than be disposed by combustion, so as to prevent damage to the environment or any other harm.
SAFETY & WARNINGS
- This is a prohibition symbol. Any incompliance with instructions marked with this symbol may result in damage to the product or endanger the personal safety of the user.
- This is a warning symbol. It is required to operate in strict observance of instructions marked with this symbol, otherwise damage to the product or personal injury may be caused.
- This is a caution symbol. Instructions marked with this symbol require special caution. Insufficient caution may result in slight or moderate injury, or damage to the product.
ELECTRICAL WARNINGS
- Do not pull the power cord when pulling the power plug from the refrigerator. Please firmly grasp the plus and pull it out from the socket directly.
- To ensure safe use, do not damage the power cord or use the power cord when it is damaged or worn.
- Please use a dedicated power socket and the power socket shall not be shared with other electrical appliances. The power cord should be firmly contacted with the socket or a fire hazard may result.
- Please ensure that the grounding electrode of the power socket is equipped with a reliable grounding line.
- Please turn off the valve of the leaking gas and then open the doors and windows in case of leakage of gas and other flammable gases. Do not unplug the refrigerator and other electrical appliances during a gas leak, as a spark may cause a fire hazard.
- Do not use electrical appliances inside the food storage compartments of the refrigerator, unless they are a type of an appliance as recommended by the manufacturer.
OPERATION WARNINGS
- Do not arbitrarily disassemble or reconstruct the refrigerator, nor damage the refrigerant circuit; maintenance of the appliance must be conducted by a specialist.
- Damaged power cord must be replaced by the manufacturer, its maintenance department or related professionals in order to avoid danger.
- The gaps between refrigerator doors and between doors and refrigerator body are small, be noted not to put your hand in these areas to prevent from squeezing the finger. Please be gentle when close the refrigerator door to avoid falling articles.
- Do not pick foods or containers with wet hands in the freezing chamber when the refrigerator is running, especially metal containers in order to avoid frostbite.
- Do not allow any child to get into or climb the refrigerator, to avoid risk of suffocation and injury.Do not allow any child to get into or climb the refrigerator, to avoid risk of suffocation and injury.
- Do not place heavy objects on the top of the refrigerator considering that objectives may fall when close or open the door,and accidental injuries might be caused.
- Please pull out the plug in case of power failure or cleaning. Do not connect the freezer to power supply within five minutes to prevent damages to the compressor due to successive starts.
PLACEMENT WARNINGS
- Do not put flammable, explosive, volatile and highly corrosive items in the refrigerator to prevent damage to the appliance or fire hazards.
- Do not place flammable items near the refrigerator to avoid fire hazards.
- The refrigerator is intended for household use, primarily for the storage of foods. The refrigerator shall not be used for other purposes, such as storage of blood, drugs, biological products, etc.
PLACEMENT WARNINGS (CONTINUED)
Do not store beer, beverage or other fluid contained in bottles or enclosed containers in the freezing chamber of the refrigerator; the bottles or enclosed containers may crack due to freezing and cause damage to the appliance and/or a safety hazard.3
ENERGY WARNINGS
- Refrigerating appliances might not operate consistently (possibility of defrosting of contents, or temperature becoming too warm in the frozen food compartment) when sited for an extended period of time below the cold end of the range of temperatures for which the refrigerating appliance is designed.
- Effervescent/carbonated drinks should not be stored in food freezer compartments and cabinets or in freezer-temperature compartments and cabinets. Beverages such as ice water should not be consumed too cold.
- Do not exceed the storage time(s) as recommended by the food manufacturers for any foods, particularly for commercially quick-frozen foods in the freezer and frozen-food storage compartments /cabinets.
- Take precautions to prevent an undue rise in the temperature of frozen food when defrosting in the refrigerator, such as wrapping the frozen food in several layers of newspaper.
- Rise in the temperature of frozen food during manual defrosting, refrigerator maintenance or refrigerator cleaning could shorten the food’s storage life.
- For refrigerator doors or lids fitted with locks and keys, keep the keys out of the reach of children and out of the vicinity of the refrigerating appliance, in order to prevent children from being locked inside the refrigerator.
DISPOSAL WARNINGS
- Refrigerant and cyclopentane foaming material used for the refrigerator are flammable. When the refrigerator is scraped, it must be kept away from any fire source and be recovered by a special recovering company with corresponding qualification other than be disposed by combustion, so as to prevent damage to the environment or any other harm or hazard.
- When the refrigerator is scraped, disassemble the doors and remove of door and shelves. Put the doors and shelves in a proper place, to prevent children from getting trapped inside the appliance.
CORRECT DISPOSAL OF THIS APPLIANCE
This marking indicates that this product should not be disposed with other household waste. To prevent possible harm to the environment or human health from uncontrolled waste disposal, please recycle this appliance responsibly to promote the sustainable reuse of material resources. For more information on how to properly recycle your used appliance, please contact your local electronic waste / appliance recycling collection service.
INSTALLATION
REFRIGERATOR PLACEMENT
- Before use, remove all packing materials, including bottom cushions, foam pads and tape inside of the refrigerator; remove the protective film on the doors and the refrigerator body.
- Keep away from heat and avoid direct sunlight. Do not place the freezer in moist or damp areas, to prevent rust and reduced insulation.
- Do not spray or wash the refrigerator. Do not put the refrigerator in moist or damp areas where it can be easily splashed with water, to avoid affecting the electrical insulation properties of the refrigerator.
- The refrigerator must be placed in a well-ventilated indoor area/room; the ground must be flat and sturdy; if the appliance is not level/stable on the floor, adjust the bottom feet of the appliance (See Page 9).
- The top space of the refrigerator must be greater than 30 centimeters / 11.8 inches. Appliance should be placed against a wall with a space of more than 10 centimeters / 3.9 inches from the wall, to facilitate heat dissipation.
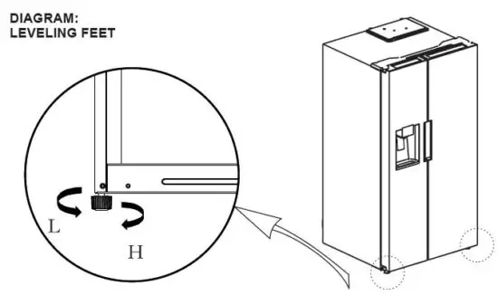
ADJUST LEVELING FEET
Before adjustment, ensure the refrigerator is disconnected from power. Use extreme caution to prevent injury.
DIAGRAM
LEVELING FEET
To adjust the leveling feet
- Turn the feet clockwise to raise the refrigerator
- Turn the feet counter-clockwise to lower the refrigerator
- Adjust the feet either right or left to allow the refrigerator to stand level to the floor per instructions (See Page 8).
ADJUST LEVELING DOOR
Before adjustment, ensure the refrigerator is disconnected from power. Use extreme caution to prevent injury.
DIAGRAM: LEVELING THE DOOR
To adjust the top refrigerator door
- Turn the locking nut clockwise and loose
- Turn the adjusting nut counter-clockwise to adjust
- Lock the locking nut after adjusting
To adjust the bottom refrigerator door
- Turn the adjusting nut clockwise to adjust
- Adjust the locking nut counterclockwise, then lock
CHANGING THE LIGHT
Replacement or maintenance of the LED lamps is intended to be made by the manufacturer, its service agent or similar qualified person.
OPERATION
- Before first use, keep the refrigerator still for 30 minutes before connecting it to power supply.
- Before putting any fresh or frozen foods, plug in the the refrigerator and run for 2-3 hours; run 4 hours in the summer season, when the ambient temperature is high.
- Allow for enough space for convenient opening of the doors and drawers.
- The photo is for reference only. The actual configuration will depend on the physical product or statement by the manufacturer.
ENERGY-SAVING TIPS
- The appliance should be located in the coolest area of the room, away from heat producing appliances or heating ducts, and out of the direct sunlight.
- Allow hot foods cool to room temperature before placing in the appliance. Overloading the appliance forces the compressor to run longer. Foods that freeze too slowly may lose quality, or spoil.
- Ensure that foods are properly wrapped, and wipe containers dry before placing them in the appliance; this cuts down on frost build-up inside the appliance.
- Appliance storage bins should not be lined with aluminum foil, wax paper, or paper toweling. Liners interfere with cold air circulation, making the appliance less efficient.
- Organize and label food to reduce door openings and extended searches. Remove as many items as needed at one time, and close the door as soon as possible.
STRUCTURE AND FUNCTIONS
KEY COMPONENTS
REFRIGERATING CHAMBER
- The Refrigerating Chamber is suitable for storage of a variety of fruits, vegetables, beverages and other food to consumed in the short term.
- Cooked foods should not be put in the refrigerating chamber until cooled to room temperature.
- Foods are recommended to be properly sealed or wrapped before putting into the refrigerator.
- The glass shelves can be adjusted up or down for to make room for larger items.
FREEZING CHAMBER
- The low-temperature freezing chamber may keep food fresh for a long time and is mainly used to store frozen foods and make ice.
- The freezing chamber is suitable for storage of meat, fish, and other foods that will not be consumed immediately / in the short term.
- It is recommended that chunks of meat be divided into small pieces for easy access.
- Food must be consumed within its recommended refrigeration/freezing time.
- Storage of too much food during operation after the initial connection to power may adversely affect the freezing capabilities of the refrigerator. Stored foods must not block the air outlet, as the freezing effect will also be adversely affected.
- The temperature should be set to “quick freezing” when quick-freezing food.
FUNCTIONS
DISPLAY
- Refrigerating/freezing temperature diagram Quick freezing
- Quick refrigerating
- Filter time reset
- Ice machine ON/OFF
- ENERGY SAVING mode
- Lock / Unlock
- Cubed Ice
- Water
- Crushed Ice
BUTTON OPERATION
- Refrigerating temperature adjustment
- Freezing temperature adjustment
- Filter time reset button
- Ice machine ON/OFF
- ENERGY SAVING mode button
- Lock / Unlock
- Whole / cubed ice dispenser
- Water dispenser
- Crushed ice dispenser
Display
Door display control
- When the refrigerator is powered on for the first time, full display will last for 3 seconds, the start-up tone will sound and then enter into the normal operation display. When the power is on for the first time, the set temperature for the refrigerating chamber and freezing chamber is 39 Fahrenheit degrees and 0 Fahrenheit degrees respectively, ice maker opens by default, and the default temperature unit is Fahrenheit.
- The set temperature of the refrigerating chamber shows on the display. If there is an error, an error code will be displayed (cyclic display).
- Under normal circumstances, the display will be locked after 30 seconds without door opening and button operation, and the display screen will turn off after 30 seconds in the locking state; when the display screen does not light up, the display screen will normally light up when a button/function is being used; when there is a fault of “fault code visible type”, the display will light up and turn off after 30 seconds.
Ice Making display control
- When the refrigerator is powered on for the first time, full display will last for 3 seconds, then enter the normal operation display; when the power is on for the first time, Water dispensing the default.
- When the communication between the distributor board and the ice machine board fails, the indicator lights of Cubed Ice mode, Water mode and Crushed Ice mode will flash at the same time. When there Is no fault, the current state of distributor board will be displayed
Lock / Unlock
- In the non-lock state, keep pressing the lock button for 3 seconds to enter the lock state, the buzzer for lock shall sound and then the lock icon shall light up.
- In the lock state, keep pressing the lock button for 3 seconds to enter the lock state, the buzzer for unlock shall sound and then the lock Icon shall go out.
- It shall automatically enter the lock state when there is no button operation after 30 seconds.
- The alarm sound release operation can be carried out in the lock state while all other button operations must be carried out in the nonalock state. An error beep prompt shall be given in case of operation In the lock state.
Mode setting
- Long press the Refrigerating button for 3 seconds to set / cancel the quick refrigerating mode.
- Long press the Freezing button for 3 seconds to set / cancel the quick freezing mode.
- Short press the ENERGY SAVING button to set / cancel the ENERGY SAVING mode.
- When the quick refrigerating mode is set, the refrigerating shall be automatically set to 1°C / 34°F; when the quick refrigerating mode is exited, the set temperature in the refrigerating chamber will be automatically restored to the set temperature before enabling quick refrigerating mode.
- When the quick freezing mode is set, the freezing shall be automatically set to -22°C / -7°F; when the quick freezing mode is exited, the set temperature in the freezing chamber will be automatically restored to the set temperature before the enabling quick freezing mode.
- When the ENERGY SAVING mode is set, the refrigerating chamber shall be automatically set to 7°C / 44°F, while the freezing chamber shall be automatically set to -14°C / 7°F. When the ENERGY SAVING mode is exited, the set temperature in the refrigerating and freezing chambers are automatically restored to the set temperature before enabling ENERGY SAVING mode. When the ENERGY SAVING mode setting is valid, the ENERGY SAVING indicator light will turn on; if the setting is invalid, the indicator light will turn off.
- If the refrigerator is powered on, it will remember the quick refrigerating/quick freezing mode, and the chambers
will be restored to the default temperature after exiting.
Refrigerating Chamber temperature setting
Press the refrigerating temperature adjustment button to select the refrigerating temperature zone, and then press the refrigerating temperature adjustment button to adjust the refrigerating chamber temperature. Each time the refrigerating chamber button is pressed, the temperature shall drop 1°C / 1°F; after the temperature reaches 1°C / 34°F, press the refrigerating button again and the refrigerating chamber setting range is 1~7°C / 34~44°F; the setting is valid after locking.
Freezing chamber temperature setting
Press the freezing temperature adjustment button to select the freezing temperature zone, and then press the freezing temperature adjustment button to adjust the freezing chamber temperature. Each time the freezing chamber button is pressed, the temperature shall drop 1°C / 1°F; after the temperature reaches -22°C / -7°F, press the freezing button again, the freezing chamber temperature setting will be -14°C / 7°F. The freezing chamber setting range is -22 ~ -14°C / -7 ~ 7°F.
Distributor state setting
Soft touch the button of corresponding mode to select whole ice mode/water outlet mode/crushed ice mode, and the corresponding mode indicator light will turn on; the setting will take effect immediately with no locking required.
Distributor light control
When the distributor switch is pressed, the distributor light will turn on; and when the distributor switch is disconnected, the distributor light is delayed by 3 seconds to before it turns off.
Switch between Celsius and Fahrenheit
Long press ENERGY SAVING mode button for 3 seconds to switch between Celsius and Fahrenheit.
Filter time reset
The working time of the power-on filter accumulates. When the filter works for 150 days, the filter icon will light up, indicating the filter needs replacement. After 180 days, the filter icon will flash, indicating the filter needs replacement. Long press the “filter time reset” button for 3 seconds to perform the function of “FILTER RESET”, resetting the filter timer.
NOTE: The accumulative filter working time is every 24 hours, and is stored in the electrically erasable programmable read-only memory (EEPROM); it also features a power-off memory function.
Ice machine mode
Short press the switch button of the Ice machine to set / cancel the function of Ice machine. When the function setting of ice machine is effective, the indicator light of ice machine lights up, otherwise, it will turn off.
Power-off storage
When the power is cut off, the instantaneous working state is locked, which can be maintained to power-on.\
Operation of door opening prompt and alarm control
When the refrigerator door is open, a prompt tone will be heard. If the door is not closed after 2 minutes, a buzzer will sound off once every second until the door is closed.
Error indicator
When the following prompts appear on the display screen, it indicates that the refrigerator is out of order. Although the refrigerating/freezing function of the refrigerator can still work in under the following errors, the user should contact qualified maintenance personnel to ensure normal/safe refrigerator operation.
Dispensing Water and Ice
- Various sounds are produced when the appliance performs the following actions:
- Making ice cubes
- Crushing ice with the grinding machine
- Water flowing into the ice vessel
- Ice cubes falling into the ice container
- Water valve will produce buzzing sounds
- Scratching noises may be heard when dispensing ice cubes, which may indicate ice in the ice container is stuck together. To fix this, take out the ice container and separate stuck ice pieces by with a tool, such as a plastic or wooden spoon, and carefully break apart the ice. Please use caution when breaking apart ice cubes that are stuck together.
- Other possibilities are illustrated in the chapter “ice container cleaning”. To avoid overheating of the ice-making machine’s engine, dispense ice for about 60 seconds after the stopping. Please wait for a while until the engine’s temperature reaches working temperature. Please fetch the ice from the ice container if you need a lot of ice.
- User manual section “Cleaning the ice container” (See Page 19) explains how to remove ice container from freezer compartment. If there is not enough ice in the ice container, the ice cannot be taken out. Please wait for a while until new ice is made. To prevent ice from having bad odor or bad taste, clean the ice container regularly.
- Ice and water can only be dispensed when the door of freezer compartment is closed. While water or ice, the freezer door is opened, the dispensing will end automatically.
Dispensing Cold Water
Press the WATER button; the indicator will light up. Push the container (cup, mug, etc.) in the direction of the dispenser cushion and cold water starts will dispense. emove the container from the dispenser cushion when finished to stop dispensing.
Dispensing Crushed Ice
Press the CRUSHED button; the indicator will light up. Ensure the container (cup, mug, etc.) is close to the dispenser spout in case contents fall to sides. Push the container in the direction of dispenser cushion, fill the container with crushed ice. Remove the container from the dispenser cushion when finished to stop dispensing.
Dispensing Ice Cubes
Press the CUBED button; the indicator will light up. Push the container (cup, mug, etc.) in the direction of the dispenser cushion and ice cubes will dispense. Remove the container from the dispenser cushion when finished to stop dispensing.
CARE & MAINTENANCE
CLEANING
- Dust behind the refrigerator and on the ground shall be timely cleaned to improve the cooling effect and energy saving.
- Check the door gasket regularly to make sure there are no debris. Clean the door gasket with a soft cloth dampened with soapy water or diluted detergent.
- The interior of the refrigerator should be cleaned regularly to avoid odor.
- Please tum off the power before cleaning the interior, remove all foods, drinks, shelves, drawers, etc.
- Use a soft cloth or sponge to clean the inside of the refrigerator, with two tablespoons of baking soda and a quart of warm water.Then rinse with water and wipe clean. After cleaning, open the door and let it dry naturally before turning on the power.
- For areas that are difficult to clean in the refrigerator (such as narrow sandwiches, gaps or comers), it is recommended to wipe them regularly with a soft rag, soft brush, etc. and when necessary,combined with some auxiliary tools (such as thin sticks) to ensure no contaminants or bacterial& accumulation in these areas.
- Do not use soap, detergent, scrub powder,spray cleaner,etc., as these may cause odors in the interior of the refrigerator or contaminated food.
- Clean the bottle frame, shelves and drawers with a soft cloth dampened with soapy water or diluted detergent. Dry with a soft cloth or dry naturally.
- Wipe the outer surface of the refrigerator with a soft cloth dampened with soapy water, detergent, etc.,and then wipe dry.
- Do not use hard brushes, clean steel balls, wire brushes, abrasives (such as toothpastes), organic solvents (such as alcohol, acetone, banana oil, etc.), boiling water,acid or alkaline items, which may damage the fridge surface and interior.Boiling water and organic solvents such as benzene may deform or damage plastic parts.
- Do not rinse directly with water or other liquids during cleaning to avoid short circuits or affect electrical insulation after immersion

Unplug the refrigerator for defrosting and cleaning.
CLEANING THE DOOR TRAY
- Use both hands to squeeze the door tray inward from the left and right sides, and push it upward to remove (See below diagram).
- Place the door tray back into the door to your preferred position.
CLEANING THE ICE CONTAINER
Ice in the ice container may block the outlet because of clumped ice or other reasons. In this case, the ice container needs to be cleaned or the blockage eliminated.
- Ice on lights go out, hold the ice storage box in both hands and pull it upwards and outwards horizontally.
- Clean as needed, and install it in the opposite direction that the ice storage box was taken down.
- Close the freezing chamber door.
CLEANING THE GLASS SHELVES
As the innermost part of the refrigerator liner where contacting the shelves has a backstop, raise the shelves upward, then remove. Adjust the position of the shelves according to your preferences.
DEFROSTING
The refrigerator is made based on the air-cooling principle and thus has automatic defrosting function. Frost formed due to change of season or temperature may also be manually removed by disconnection of the appliance from power supply or by wiping with a dry towel.
OUT OF OPERATION
- Power failure: In case of power failure (All seasons, including summer), foods inside the appliance can be kept for several hours. During the power failure, keep doors closed as much as possible / minimize opening the doors as much as possible, and do not put in new food into the appliance.
- Long-time non-use: The appliance must be unplugged and then cleaned. Leave the doors open to prevent odor.
- Moving: Before the refrigerator is moved: take all contents out; fix the glass partitions, vegetable holder, freezing chamber drawers, etc. with tape; lighten the leveling feet; close the doors and seal them with tape. During moving, the appliance must not be laid upside down or horizontally, or be jostled; the incline during movement should be no more than an 45° angle.
The appliance must operated continuously once it’s powered on. Generally, the operation of the appliance should not be interrupted; otherwise, the service life may be impaired.
TROUBLESHOOTING
Please use the following chart to troubleshoot your appliance. For further assistance, please contact customer service (See Page 23).

WARRANTY AND SERVICE
For full warranty details on this product please visit: http://www.cosmoappliances.com/warranty
TO RECEIVE WARRANTY SERVICE, YOUR PRODUCT MUST BE REGISTERED. TO REGISTER, VISIT:
WWW.COSMOAPPLIANCES.COM/WARRANTY
IMPORTANT
Do Not Return This Product To The Store If
you have a problem with this product, please contact
Cosmo Customer Support at
+1(888)784-3108
DATED PROOF OF PURCHASE, MODEL #, AND SERIAL #
REQUIRED FOR WARRANTY SERVICE
IMPORTANT
Ne pas Réexpédier ce Produit au Magasin
Pour tout problème concernant ce produit, veuillez contacter
le service des consommateurs Cosmo Customer Support au
+1(888) 784-3108
UNE PREUVE D’ACHAT DATEE EST REQUISE POUR BENEFICIER DE
LA GARANTIE.
IMPORTANTE
No regrese este producto a la tienda
Si tiene algún problema con este producto, por favor contacte el
AYUDA AL CLIENTE COSMO al
+1(888)784-3108
(Válido solo en E.U.A).
NECESITA UNA PRUEBA DE DE COMPRA FECHADA, NÚMERO DE
MODELO Y DE SERIE PARA EL SERVICIO DE LA GARANTÍA
Correct Disposal of this product
This marking indicates that this appliance should not be disposed with other household wastes. To prevent possible harm to the environment or human health from uncontrolled waste disposal, recycle it responsibly to promote the sustainable reuse of material resources.
Cosmo is constantly making efforts to improve the quality and performance of our products, so we may make changes to our appliances without updating this manual.























