living co HC-689WEBG 532L Side by Side Fridge/Freezer

Safety Instructions
IMPORTANT SAFETY INSTRUCTIONS
READ CAREFULLY AND KEEP FOR FUTURE REFERENCE
Read this manual thoroughly before first use, even if you are familiar with this type of product. The safety precautions enclosed herein reduce the risk of fire, electric shock and injury when correctly adhered to. Keep the manual in a safe place for future reference, along with the completed warranty card, purchase receipt and carton. If applicable, pass these instructions on to the next owner of the appliance.
- Pay particular attention to messages that follow this safety alert symbol or the words DANGER, WARNING or CAUTION. These words are used to alert you to a potential hazard that can seriously injure you and others. The instructions will tell you how to reduce the risk of injury and let you know what can happen if the instructions are not followed.
- This symbol alerts you to take care as the appliance contains flammable materials: Isobutane as refrigerant and cyclopentane as insulation blowing gas. Do not expose it to high heat, sparks and open flames.
- The refrigerant isobutane (R600a) is contained within the refrigerant circuit of the appliance, a gas with a high level of environmental compatibility, which is nevertheless flammable. During transportation and installation of the appliance, ensure that none of the components of the refrigerant circuit become damaged.
- WARNING: Do not damage the refrigerant circuit! Never use an appliance with a damaged refrigerant circuit! If the refrigerant circuit becomes damaged, avoid proximity to open fires and all types of heat and ignition sources. Thoroughly ventilate the room in which the appliance is located.
- It is hazardous for anyone other than an authorized service person to service this appliance.
Responsible Disposal
At the end of its working life, do not dispose of this appliance with your household waste. Electrical and electronic products contain substances that can have a detrimental effect on the environment and human health if disposed of inappropriately. Observe any local regulations regarding the disposal of electrical consumer goods and dispose of it appropriately for recycling and recovery of the refrigerant and blowing agent.
WARNING! This refrigeration appliance contains flammable refrigerants and insulation blowing gases, which must be removed before disposal. Contact your municipal authorities for any codes or regulations concerning the disposal of such materials.
DANGER! Risk of child entrapment: When discarding this or another refrigerator, pull the plug out of the socket, cut the connection cable (as close to the appliance as you can) and remove the doors to prevent playing children to suffer electric shock or to get trapped inside the appliance.
To reduce the risk of fire, electric shock or injury, always follow basic safety precautions and accident prevention measures when using this appliance, including the following:
Electrical Safety
- Voltage: Plug the appliance in a 220-240V, 50Hz, properly earthed power outlet, which must be in good working order. Make sure your outlet voltage and circuit frequency correspond to the voltage stated on the appliance rating label.
- Power connection: Do not use an adaptor; do not use an extension cord. Plug the power plug directly into a separate power point that cannot easily be turned off accidentally, and that is easily accessible so you can switch it off when required.
- Power cord: Do not kink or damage the power supply cord. Do not leave it exposed or dangling. Secure it behind the appliance so no one steps on or places anything on the cord or against it. A squashed or damaged power plug may overheat and cause a fire.
- Damaged cord: Do not use a cord that shows cracks or abrasion damage along its length or at either end. Any damage to the cord may cause a short circuit, fire and/or electric shock. If the power cord is damaged, it must be replaced by the manufacturer or its service agent. Contact the after sales support line for advice.
- Disconnection: Never unplug the unit by pulling the cord. Always grip the plug firmly and pull straight out from the power point.
- Electrical work: All electrical work associated with the installation must be carried out by a licensed electrician.
Usage Conditions and Restrictions
- Indoor domestic use only: This appliance is intended for indoor domestic use only. It is not suitable for industrial or commercial use.
- Intended purpose: Do not use this appliance for anything other than its intended purpose, and only use it as described in this manual. Do not attempt to alter or modify this appliance in any way.
- Usage restrictions: This appliance is not intended for use by persons (including children) with reduced physical, sensory or mental capabilities, or lack of experience and knowledge, unless they have been given supervision or instruction concerning the use of the appliance by a person responsible for their safety.
- Children: Supervise children to ensure they do not play with the appliance. Close supervision is necessary when any appliance is used by or near children. Never allow children to operate, play with or crawl inside the appliance.
- WARNING! Do not use any electrical appliances (such as ice cream makers) inside refrigeration appliances, unless they are approved for this purpose by the manufacturer.
Cleaning and Maintenance
- Disconnect: Switch off and unplug the appliance from the mains socket before cleaning, maintenance or servicing. Failure to do so can result in electric shock, injury or death. Do not connect or disconnect the plug when your hands are wet.
- Flames: Do not let open flames or ignition sources enter the appliance.
- Flammable/explosive substances: Never clean this appliance with flammable fluids. Do not store or use volatile, flammable or explosive substances such as aerosol cans with flammable propellants in or close to this or any other appliance. The fumes can create a fire hazard or explosion.
- Solvents: Do not use solvent-based cleaning agents or abrasives on the interior as these may damage or discolor the surfaces of the appliances.
• WARNING! Do not use mechanical devices or other means to accelerate the defrosting process, other than those recommended by the manufacturer. Never use a sharp or metal instrument to remove frost or clean the fridge. Use a plastic scraper, if necessary. - Service: Do not attempt to repair, modify or replace any part of the appliance unless specifically recommended in this manual. Refer all other servicing to a qualified technician, or contact the after sales support center for advice.
Installation
- Heavy: This appliance is heavy, take care when moving it. To avoid back or other injury, consider a two person lift or mechanical aid when installing it. Failure to do so can result in back or other injury.
- Keep it upright: Do not tilt the fridge more than 45° from upright when moving it.
- Handle with care: Do not apply force to any part such as the condenser or door.
- WARNING: Ventilation: To ensure proper ventilation, keep any ventilation openings, in the appliance enclosure or in the built-in structure, clear of obstructions. Ensure adequate air circulation around the appliance to prevent overheating.
- Level: Install the appliance level in order to ensure proper operation.
- Location: Install the appliance in an area that meets the following requirements:
- Ambient temperature: The ambient temperatures must correspond to the climate class (T) indicated on the rating plate of the appliance: 16°C – 43°C.
- Floor surface: The floor must be sturdy, level (or nearly level) and strong enough to support the unit when it is fully loaded.
- Areas to avoid: Avoid areas where the appliance would be exposed to direct sunlight, sources of heat (stove, heater, radiator, etc.), extreme cold ambient temperatures or excessive moisture and high humidity (such as outdoors or exposed to wind, rain water spray or drips). Installing it in the coolest area of the room will save energy consumption and running costs.
Product Overview
(Freezing compartment)

Refrigerating Compartment
- The Refrigerating compartment is suitable for the storage of a variety of fruits, vegetables, beverages and other food consumed in the short term.
- Heated food shall not be placed in the refrigerating compartment until cooled to room temperature.
- Foods are recommended to be sealed or enclosed before placing them into the refrigerator.
- The glass shelves can be removed / adjusted up or down to suit your requirements.
Freezing Compartment
- The low temperature freezing compartment may keep food fresh for a long time and it is mainly used to store frozen foods and making ice.
- The freezing compartment is suitable for storage of meat, fish and other foods not to be consumed in short term.
- Food shall be consumed within the recommended shelf time.
NOTE:
Due to continued product improvement, images and illustrations in this manual may vary slightly from the product purchased. All images in this manual are for reference purposes only. Parts are not necessarily pictured to scale.
Getting Started
Unpacking
- Packaging materials: This product has been packaged to protect it against transportation damage. Remove all packaging materials from around and inside the appliance and keep the original packaging carton and materials in a safe place. It will help prevent any damage if the product needs to be transported in the future, and you can use it to store the appliance when it is not in use. In the event that the carton is to be disposed of, please recycle all packaging materials where possible. Plastic wrapping can be a suffocation hazard for babies and young children, so ensure all packaging materials are out of their reach and disposed of safely.
- Parts: Check to ensure you have all the parts listed in the Product Overview section.
- Damage: When unpacking, check the appliance carefully for damage. If it is damaged, do not install the appliance. Contact our after sales support center for advice on examination or return of the damaged appliance.
- Power cord: Unwind the power cord to its full length and inspect it for damage. Do not use the appliance if the appliance or its cord have been damaged or are not working properly. In case of damage, contact our after sales support center for advice on examination, repair or return of the damaged product.
- Read the manual: Before installing your new fridge, read all safety instructions.
- Clean: Make sure the appliance is disconnected from the power supply before cleaning the interior. Remove any tape that secured drawers, trays and shelves during transport. Clean the interior surfaces and all internal accessories with lukewarm water, a soft cloth and a neutral/mild soap/detergent. This will remove any dust from transit and storage and help remove the typical smell of a brand new product. Then dry thoroughly.
CAUTION: Do not use harsh or abrasive detergents or powders as these will damage the finish.
Electrical Connection
- WARNING! It must be possible to disconnect the appliance from the mains power supply; the plug must therefore be easily accessible after installation.
- Before plugging in your new fridge, let it stand upright for at least 4 hours. This will allow the refrigerant gases to settle into the compressor and reduce the possibility of a malfunction in the cooling system.
- The appliance must be earthed. The plug of the power supply cord is equipped with a contact for this purpose. Do not under any circumstances cut or remove the third (earth) prong from the power cord.
- Plug the unit into a dedicated, properly installed and earthed wall outlet. Ensure that your outlet voltage and circuit frequency correspond to the voltage stated on the appliance rating label.
- Secure the power supply cord behind the unit. Do not leave it exposed or dangling to prevent injury and accidental disconnection from the power supply.
Space Requirements
- Door opening: Place the unit so there is enough space for the doors to open easily.
- Clearances: Ensure that air can circulate freely around the back of the cabinet, which is necessary to cool the compressor and condenser. Allow at least 100mm clear space at the back of the unit (Fig. 1) and 50mm at the sides (Fig. 2).
- Overhanging wall units: To ensure best performance, if the appliance is positioned below an overhanging wall unit, the minimum distance between the top of the cabinet and the wall unit must be at least 300mm. Ideally, however, the appliance should not be positioned below overhanging wall units.

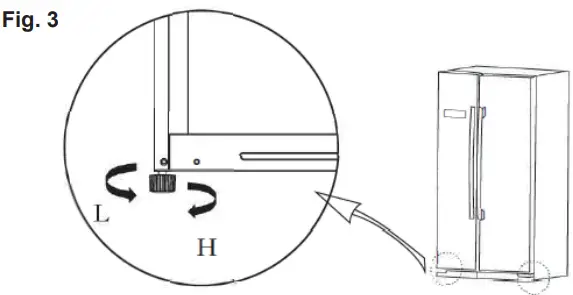
Moving and Leveling the Appliance
The appliance must be installed level so that it can work properly and the door seals are properly aligned. It has wheels for easy maneuverability and adjustable feet for leveling the unit (Fig. 3).

- To move the unit, tilt it slightly backward onto its wheels.
- To level the unit, adjust the leveling feet at the base of the cabinet.
- Turn the leveling feet clockwise to raise or anticlockwise to lower the front of the cabinet. Adjust as required to ensure that the cabinet is level.
Leveling the Doors
Before adjustment, ensure that the appliance is disconnected from power supply. Before adjusting the door, precautions shall be taken to prevent any personal injury, we recommend you have an assistant.

NOTE: Due to continued product improvement, images and illustrations in this manual may vary slightly from the product purchased. All images in this manual are for reference purposes only. Parts are not necessarily pictured to scale.
- When the fridge door is lower than the freezer door
Open the door, use a wrench to loosen the locking nut and to turn the adjusting nut anti-clockwise to raise the height of the door. Once the doors are aligned, then tighten the locking nut by turning it clockwise. - When the fridge door is high
Open the door, use a wrench to turn the adjusting nut clockwise to lower the height of the door. Once the doors are aligned, then tighten the locking nut by turning it clockwise.
Product Use
Control Panel Buttons and Display
The control panel (Fig. 5) is located on the outside of refrigerator compartment door. It enables you to view and adjust the temperature in the fridge and freezer compartments, select an operation mode or lock the control panel.
- The control panel display lights up for 30 seconds once the door of the fridge or freezer compartment is opened.
- On first connection, the display shows the factory default (preset) temperatures for the fridge and freezer compartments. During normal operation, the temperature displays of the fridge and freezer compartments indicate the temperature of the current settings.
- The control panel will be locked automatically 30 seconds after the last control panel operation, and the control panel illumination will extinguish 30 seconds thereafter.

Display
- Refrigerating compartment temperature
- Freezing compartment temperature
- Close Refrigerating compartment
- Lock icon
- Super Cool mode icon
- Super Freeze mode icon
- Vacation mode icon
- A. Refrigerating compartment temperature adjustment
- B. Freezer compartment temperature adjustment
- C. Super cool / Super freeze mode
- D. Vacation model
- E. Lock/unlock control
Operation
- Lock /unlock
In the unlocked
state, press and hold the (E) button for 3 seconds to enter the lock
state; in the locked
state, press and hold the (E) button for 3 seconds to enter the unlocked state. Ensure that the unit is in the unlocked state before using the following functions.
Pressing the Super cool / Super freeze mode button allows the following sequence of functions:

- Vacation mode
Press the button (D) to enter the vacation mode. Icon
lights up, the vacation mode will start after locking the control panel (pressing button E) Under vacation mode, the refrigerating compartment will turn off and the refrigerating compartment temperature will display – while the freezer compartment temperature will be set at -18°C. - Super cooling mode (SUPER COOL)
Press the button (C) to select the super cooling mode. Icon SUPER COOL lights up, the super cooling mode will start after locking the control panel. Under super cooling mode, the fridge compartment will be set quickly to 2°C. - Super freezing mode (SUPER FRZ.)
Press the button (C) to enter the super freezing mode. Icon SUPER FRZ. lights up, the super freezing mode will start after locking the control panel. Under the super freezing mode, the freezer compartment temperature will be quickly set to -24°C. - Temperature setting of the refrigerating compartment
Press the temperature adjusting button (A) of the refrigerating compartment REF.TEMP., the refrigerating compartment temperature will flash. Then press the button REF.TEMP. again to set the temperature; you will hear one beep. Setting range is between 2°C and 8°C. Every time you press the button, the temperature will be changed by 1°C. For general use, the recommended temperature is 4°C.
After adjusting, the display will keep flashing for 5 seconds. The new temperature setting will take effect after locking the control panel. - Temperature setting of the freezer compartment
Press the temperature adjusting button (B) of the freezer compartment FRZ.TEMP., the freezer compartment temperature will flash. Then press the button FRZ.TEMP. again to set the temperature; you will hear one beep. Setting range is between -16°C and -24°C. Every time you press the button, the temperature will be changed by 1°C. After adjusting, the display will keep flashing for 5 seconds. The new temperature setting will take effect after locking the control panel. For general use, the recommended temperature is -18°C. - Storage after power failure
In case of power failure, the current setting will be maintained and reset once power has been restored. - Opening warning and alarm
When the refrigerator or freezer doors are opened, the ‘open door’ buzzer will sound. If the door is not closed within two minutes, the buzzer will sound continuously until the door is closed. Press any button to stop the buzzer alarm. - Error codes
The following warnings appearing on the display indicate corresponding faults of the refrigerator. Though the refrigerator may still have cold storage function with the following faults, contact a maintenance specialist to ensure optimum operation of the appliance.Error Code Fault Description E1 Temperature sensor failure of refrigerating compartment E2 Temperature sensor failure of freezer compartment E5 Freezing defrost sensor detection circuit error E6 Communication error E7 Ambient temperature sensor error
Fresh Food Storage
The fridge compartment (on the right hand side of the appliance) is suitable for short-term storage of all your fresh food.
- The temperature inside the fridge compartment varies depending on the amount of food stored and the frequency of door opening. It is low enough to limit some bacterial growth, but it is not suitable for long-term storage of perishable foods.
- The walls of the fridge are equipped with a series of rails so that the glass shelves can be positioned to suit individual storage requirements (Fig. 7).
- The Fruits & Vegetable box provides a short-term storage space for fresh fruit and vegetables.
- The door trays are suitable for storage of food and drink bottles, cans and jars. The trays can be placed at different heights to allow for storage of different size food packages. To adjust the position of a door tray, gently press inwards and gradually pull it up and then out (in arrow directions) until it comes free, then reposition it as required (Fig. 6).

Fresh Food Storage Tips
- In order to maintain good cooling efficiency and save energy, do not open the doors for too long or too often.
- Do not overload the fridge, and keep enough space around items for cold airflow. Do not block ventilation openings. Do not place items directly against the back wall.
- Let hot food cool down to room temperature before storing it in the fridge. Otherwise, the cooling capacity will be affected and power consumption increased. Hot items may also affect the plastic parts inside the appliance.
- If necessary, wipe containers clean and dry before storage in the refrigerator.
- Thaw frozen foods in the fridge compartment to ensure safety and save energy.
- Use sealed containers or storage bags to prevent food from drying out, losing its taste or taking on aromas from other foods.
- Cover cooked foods and store them on any shelf in the fridge compartment.
- Store butter and cheese in airtight containers, or wrap them thoroughly.
- Make sure milk bottles are properly closed before storage on a door tray.
- Do not keep bananas, potatoes, onions and garlic in the refrigerator.
Freezer Compartment
The freezer compartment (at the left side of the appliance) is suitable for freezing domestic quantities of fresh food and long-term storage (up to three months) of frozen food. It is designed to operate in ambient (surrounding air) temperatures between 16°C and 43°C. For convenient access and organized storage, the freezer compartment is equipped with glass shelves, a drawer and door trays.
Freezing Fresh Food
- When first starting up, or after the freezer has been out of use, let the appliance run for at least 3 hours on the quick freezing setting before placing food packages inside the freezer compartment.
- Do not store food uncovered in the freezer. Always use good quality, freezer-proof packaging to maintain food quality. Remove air from packages of solid food and seal bags tightly before freezing.
- Ensure that food placed in the freezer is dated and labeled. This will help you keep track of storage times.
- Keeping portions small will ensure they are frozen (and subsequently defrosted) rapidly.
- Make sure that fresh, unfrozen food packages do not touch food that is already frozen, thus avoiding a temperature rise in the frozen food.
- When freezing food, do not push food together too much; leave some space for air to circulate around each item. Do not place packages directly against the back wall.
- When adding large amounts of fresh food to the freezer, keep in mind that it will take approximately 24 hours for fresh food to freeze to solid frozen state. For best results, do not add other fresh food to the freezer drawer during this time.
- Do not place hot foods or liquids which may evaporate in the freezer compartment.
Storing Frozen Food
- Only buy frozen food in quantities that you can store; use an insulated container/bag for your shopping and when you get home, place the food in the freezer immediately.
- When storing pre-packed, commercially frozen food, follow the food manufacturer’s instructions for storing the food. Do not exceed any storage times listed on the packaging.
- Once you have opened a packet of frozen food, rewrap it airtight to prevent surface evaporation which causes drying or freezer burn.
- Do not store bottles in the freezer as they may shatter. Do not store carbonated liquids such as bottles of fizzy drink in the freezer as the container could explode under pressure and damage the freezer.
- Do not refreeze food once it has been defrosted. If it has thawed accidentally, use it up immediately or throw it away. Alternatively, if the food is uncooked and has not been completely defrosted, it may be cooked and then refrozen.
- CAUTION! Do not remove items from the freezer if your hands are damp or wet as this could cause skin abrasions.
Energy saving tips
- Locate the appliance in the coolest area of the room, away from heat-producing appliances and out of direct sunlight.
- Let hot foods cool to room temperature before placing them in the freezer. Overloading the compartments forces the compressor to run longer.
- Wrap foods properly, and wipe containers dry before placing them in the freezer compartment. This cuts down on frost build-up inside the unit.
- Do not line the storage drawers or shelves with aluminum foil, wax paper or paper toweling. They may interfere with cold air circulation, making the appliance less efficient.
- Do not pack food packages close together as this prevents air circulating. Position packages so that air can circulate freely around them.
- Organize and label food to reduce door openings and extended searches. Remove as many items as needed at one time and close the door as soon as possible.
- Do not open the door of the fridge or freezer compartment unnecessarily or leave it open for longer than required, especially during a power failure.
- Do not run the appliance permanently on the lowest temperature setting.
Power Failure
- Most power failures are corrected within a few hours and should not affect the temperature inside your fridge or freezer compartments, if you minimize the number of times the doors are opened. However, if the power is going to be off for a longer period of time, you need to take proper steps to protect your food.
- Do not refreeze frozen food without checking its condition first. If in doubt, discard the food. Do not refreeze food that has thawed completely.
Going Away?
- Short vacation: Leave the appliance operating during vacations of less than a month.
- Long vacation: If you are not going to use the appliance for longer periods, remove all food and unplug the power cord. Clean and dry the interior thoroughly. To prevent odor and mould growth, leave the doors open slightly, blocking them open, if necessary. (Restrict children’s access to the room with the open appliance to avoid creating a child entrapment risk.)
Moving the Appliance
- Remove all food from inside the fridge and freezer compartments, securely tape down the drawers and shelves and tape the doors shut. Turn the leveling feet up to the base to avoid damage.
- Protect the outside of the unit with a blanket or similar soft material and make sure the appliance stays secure in the upright position during transportation.
Troubleshooting
If you experience a problem with the appliance, check in the following table for solutions to help you solve the problem. If none of the solutions offered help to resolve, please contact our after sales support center for advice.
| Problem | Possible cause |
| The appliance does not work. | • It is not plugged in. Ensure it is properly plugged in and there is power at the socket (plug another appliance into the outlet to check). • The circuit breaker has tripped or has blown a fuse. • The electrical outlet socket is defective. • A general power outage has cut power to your home (check the household lights). |
| The appliance turns on and off frequently. | • The room temperature is hotter than normal. • A large amount of food has been added to one of the compartments. • The fridge or freezer door is opened too often, or not closed completely. • The door gasket does not seal properly. Check and ensure the doors are properly aligned. • The appliance does not have the correct clearances around it for air circulation. |
| There are vibrations. | • The appliance is not level. |
| The appliance seems to make too much noise. | • A rattling noise may come from the flow of the refrigerant, which is normal. • As each cycle ends, you may hear gurgling sounds caused by the flow of refrigerant. • Contraction and expansion of the inside walls may cause popping and crackling noises. • The appliance is not level. Readjust the feet. • The appliance is touching the wall or other object. Move it slightly. |
| The door(s) will not close properly. | • The appliance is not level. • The door gasket is dirty or bent. • The shelves, drawers or trays are out of position. |
| The appliance freezes or cools too much. | • The temperature is set too cold, or it is running in one of the quick modes. |
| Food in the freezer compartment is not properly frozen. | • The freezer temperature is set too warm; set it to a colder setting. • The freezer door was opened for too long or too frequently. • If a large amount of food has been added to the freezer compartment, turn the temperature control to a colder setting temporarily. • The appliance is located near a heat source. |
| Moisture forms on the inside or outside walls of the appliance. | • Hot and humid weather increases the internal rate of frost build-up. This is normal. • Open the door less often and make sure it is always properly closed. |
| The external appliance surface is warm. | • The exterior walls can be warmer than room temperature. This is normal while the compressor works to transfer heat from inside the fridge or freezer compartments. |
| Excessive frost and ice has built up. | • A freezer door has been left open. • Something is preventing the door from closing. • The door gasket is dirty or damaged. |
| Heavy build-up of frost on the door seal. | • The door seal is not airtight. Carefully warm the leaking sections of the seal with a hair dryer (on a cool setting). At the same time, shape the warmed door seal by hand until it sits correctly. |
| The compressor runs continuously. | • The temperature is set too cold: select a warmer setting. • A door gasket is worn, dirty or damaged. • Large quantities of food have been added to the appliance. • The room temperature is hotter than usual. |
Care and Cleaning
WARNING!
To reduce the risk of electric shock or injury, always switch off the appliance and disconnect it from power supply before cleaning or maintenance.
Cleaning the Appliance
For hygienic reasons the appliance interior, including the interior accessories, should be cleaned regularly.
- Set the fridge temperature to OFF position and unplug the appliance.
- Remove your frozen and refrigerated food packages from the compartments. Keep the food temporarily in another fridge or cooler bag to keep defrosting to a minimum.
- Remove all shelves and drawers.
- Wash the inside surfaces and the interior accessories with a damp, warm cloth moistened in a water and baking soda solution (about 2 tablespoons of baking soda to 1 liter of water). Wring excess water out of the cloth before cleaning around the temperature control or any electrical parts. Rinse and wipe dry with a soft cloth.
- Clean the outside of the unit with a damp, well wrung out cloth, making sure the area around the control panel remains dry. Keep the gaskets around the doors clean and free of debris.
- Clean the shelves, drawers and door trays with a damp cloth.
- After everything is dry, reinstall the shelves and drawers and place the appliance back into service.
WARNING!
- Never clean the unit with an abrasive, acid, oil or solvent based cleaning agent, or with abrasive pads or scourers. Never use flammable fluids or sprays for cleaning as the fumes from these substances can create a fire hazard or explosion.
- Never clean the appliance with a steam cleaner. Moisture could accumulate in the electrical components, danger of electric shock! Hot vapors can lead to the damage of plastic parts.
- The appliance must be completely dry before it is placed back into service.
IMPORTANT!
Ethereal oils and organic solvents can attack plastic parts, e.g. lemon juice or the juice from orange peel, butyric acid, or cleansers that contain acetic acid. Do not allow such substances to come into contact with the appliance parts.
Defrosting the Appliance
Manually defrosting the freezer compartment is not necessary as this is a frost-free appliance which will be defrosted automatically. Frost formed due to change of season or temperature may also be manually removed by disconnecting the appliance from power supply or by wiping it with a dry towel.
Storage
If the appliance is not going to be used for an extended period of time, please store the unplugged appliance safely in the original packaging in a dry location, out of reach of children.
Interior LED Lamps
The interior LED lamps can only be replaced by authorized service personnel. Please contact our after sales support center for a service if the lamps needs replacing.
Service and Repair
Do not attempt to alter or modify this appliance in any way. Do not attempt to repair or replace any part of the appliance unless it is specifically recommended in this manual. All other servicing should be referred to a qualified technician and only genuine spare parts must be used. Contact our after sales support center for advice.
Technical Data
| Rated voltage, frequency and current | 220 – 240V~ 50Hz 1.5A |
| Climate class | T |
| Electrical protection class | I |
| Input power | 170W |
| Defrost power | 240W |
| Lamp power | 5W LED |
| Refrigerant | R600a (75g) |
| Insulation blowing agent | Cyclopentane |
| Total gross volume | 532L |
| Dimensions (approx.) | 1765 (H) x 897 (W) x 706 (D) mm |
| Net weight (approx.) | 89kg |
Notice
Compliance
This product has been fully tested and meets all requirements as set out by standards AS/NZS 60335.1 and AS/NZS 60335.2.24.
The RCM Mark (Regulatory Compliance Mark) indicates that the product complies with the relevant guidelines of the ACMA as well as corresponding E2198 government requirements for the safety of electrical devices.
Responsible Disposal
At the end of its working life, do not dispose of this appliance with your household waste. Electrical and electronic products contain substances that can have a detrimental effect on the environment and human health if disposed of inappropriately. Observe any local regulations regarding the disposal of electrical consumer goods and dispose of it appropriately for recycling and recovery of the refrigerant and blowing agent.
WARNING! This refrigeration appliance contains flammable refrigerants and insulation-blowing gases, which must be removed before disposal. Contact your municipal authorities for any codes or regulations concerning the disposal of such materials.
DANGER! Risk of child entrapment: When discarding this or another refrigerator, pull the plug out of the socket, cut the connection cable (as close to the appliance as you can) and remove the doors to prevent playing children to suffer electric shock or getting trapped inside the appliance. If the discarded appliance has a spring lock (latch) on the door or lid, make the spring lock unusable to prevent it from becoming a death trap for children.
Read the manual.
It will help you get the best out of your product.
Still have questions?Call After Sales Support
0800 422 274
Warranty
We pride ourselves on producing a range of quality products that are both packed with features and completely reliable. We are so confident in our products, we back them up with a two years warranty when accompanied with proof of purchase.
Now you too can relax knowing that you are covered.
Customer Helpline NZ: 0800 422 274
AFTER SALES SUPPORT NZ 0800 422 274





















