![]()
Jinhua Unisky Tools TY-DJS003 Smart Bike Trainer

FCC Statement
Changes or modifications not expressly approved by the party responsible for compliance could void the user’s authority to operate the equipment.
This equipment has been tested and found to comply with the limits for a Class B digital device, pursuant to Part 15 of the FCC Rules. These limits are designed to provide reasonable protection against harmful interference in a residential installation. This equipment generates uses and can radiate radio frequency energy and, if not installed and used in accordance with the
instructions, may cause harmful interference to radio communications. However, there is no guarantee that interference will not occur in a particular installation. If this equipment does cause harmful interference to radio or television reception, which can be determined by turning the equipment off and on, the user is encouraged to try to correct the interference by one or more of the following measures:
- Reorient or relocate the receiving antenna.
- Increase the separation between the equipment and receiver.
- Connect the equipment into an outlet on a circuit different from that to which the receiver is connected.
- Consult the dealer or an experienced radio/TV technician for help
This device complies with part 15 of the FCC rules. Operation is subject to the following two conditions (1)this device may not cause harmful interference, and (2) this device must accept any interference received, including interference that may cause undesired operation。
Warning
Thank you for purchasing UNISKY Intelligent Power Bike Trainer. Please read this instruction carefully before use and follow the tips of this instruction for installation, operation, and use, to ensure your bike runs well and is not damaged, and to prevent and avoid unnecessary accidents and injuries.
- Please replace and use our special quick release for the rear wheel of the bike before use, and carefully check whether all parts in the package are complete.
- Before use, please confirm that the product has been placed on firm ground, and the four‐foot pads on the feet touch the ground at the same time, to ensure that the product is stable and does not shake.
- Before starting the training, please make sure you are in good health. It is recommended that you consult your doctor to know whether you can do Cycling.
- If you feel unwell during use (such as physical tiredness, weakness, pain, chest tightness, discomfort, or abnormal pulse beat), please stop using immediately and take a rest. If you continue to feel unwell, you are recommended to see a doctor immediately.
- Without supervision or guidance, people with physical, sensory, or mental disabilities (including children) or who lack relevant experience or knowledge shall not use this product.
- Do not allow children to use this product as a toy without supervision to avoid danger or injury.
- Please pay attention to whether your clothes are too long, to avoid clothes or accessories on clothes affecting cycling and avoid danger.
- When using this product, please keep enough space around to ensure that there are no obstacles, children, pets or any potentially dangerous articles (furniture, tables, and chairs, etc.) around, to avoid accidents due to inadvertent contact with the moving parts on the bike and bike trainer.
- Pleasebecarefulwhen using this product while standing up. Do not stand and shake the bike to avoid falling or damaging the bike.
- Please do not disassemble or convert this product by yourself.
- Please use the original spare parts. If there is any problem with this product, please contact the authorized dealer of UNISKY.
After‐Sales Service
The products shall provide three guarantees of product quality within one year from the date of sale. The specific implementation is as follows:
- In case of performance failure within 7 days from the date of sale, the dealer shall provide return, replacement, or repair services. The dealer shall bear the costs of repair, replacement of parts, and transportation.
- In case of performance failure within 15 days from the date of sale, the dealer shall provide replacement or repair services. The dealer shall bear the costs of repair, replacement of parts, and transportation.
- In case of performance failure after 15 days from the date of sale, the dealer shall provide repair services. The dealer shall bear the cost of repair and replacement of parts, and the consumer shall bear the cost of transportation.
The three guarantees of product quality do not apply to the following situations:
- Appearance damage during use, such as abrasion and nick.
- Damage caused by failure to operate and use properly according to the instructions
- Damage caused by the repair of the dealer not authorized by UNISKY.
- Damage caused by modification or change without the written permission of UNISKY.
- The damage caused by bumps in the process of storage and handling by consumers themselves.
- Damage caused by flood, fire, earthquake and other irresistible natural factors
Tip: For products not covered by the Three Guarantees, the dealer shall provide paid maintenance services, and the consumer shall bear all costs for maintenance, replacement of parts, transportation, etc.
Disclaimer
- UNISKY shall not be responsible for the failure of software /application/equipment of the third party manufacturer, and shall not be liable for any damage to the bike trainer caused by software not developed or recommended by UNISKY.
- The user must carefully read this instruction before using the product, and completely follow the installation steps, installation methods, and inspection requirements of this instruction to install and inspect the product and use the product in accordance with the warning requirements. If the product is used in violation of the warning, resulting in temporary or permanent damage to the user’s body (whether direct or indirect), or property damage, UNISKY shall not be liable.
Spare Parts List


Installation Instructions
- Bike Confirmation
Before using the bike trainer, please confirm the specification of the bike that you want to use. This product is suitable for 26″, 28′, 700C and 29″ mountain bikes and road bikes. - Assembly of Bike Trainer and Damper
- Open the box and check all the parts and quantity according to the spare parts list.
- Put up the frame.

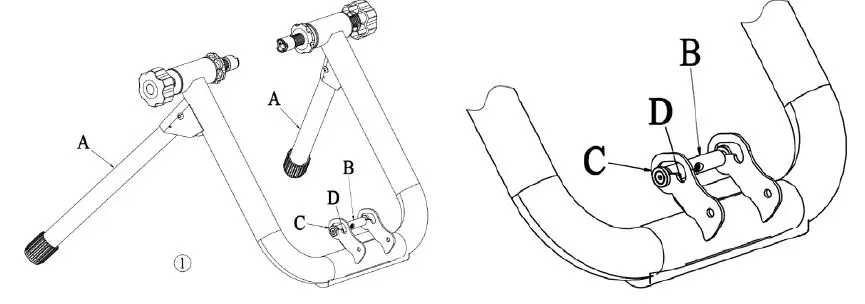
- As shown in figure 1, put up the two A pipes of the bike trainer to the maximum position, place them on the working surface, and ensure that the movable pin of the B cylinder slides into slot C.

- As shown in the figure above, align the round hole on the electromagnetic coil damper with the round hole on the iron stand, put a flat washer on the hexagon bolt, and then pass the bolt through the round holes on the iron stand and the damper at the same time to make it fixed in series, finally put on the flat washer, and tighten the lock nut with the L‐type socket spanner.

- As shown in Figure 3 above, hold the damper with the left hand and lift it slowly. Adjust the position of the screw hole of the cylindrical movable pin with the right hand, and then align the mouth of the adjusting screw with the screw hole of the cylindrical movable pin. Slightly lift the left hand to make the mouth of the adjusting screw completely align with the screw hole. Then screw the adjusting screw with the right hand clockwise, and the screw thread goes more than 5mm out of the cylindrical movable pin.
Note: In this process, the left hand shall always lift the damper upward with a little force to prevent the damper from falling and hurting the hand!
- As shown in Figure 4 above, the next step is to slide the cylindrical movable pin to drive the whole damper slide from slot C on the iron stand to slot D, so that it can be adjusted during riding training.
Note: during operation, hold the damper with one hand gently, and hold the cylindrical movable pin with the other hand to slide it from slot C to slot D. Pay attention to prevent hand injury during sliding!
- As shown in figure 1, put up the two A pipes of the bike trainer to the maximum position, place them on the working surface, and ensure that the movable pin of the B cylinder slides into slot C.
- Bike Installation and Debugging

- Place the bike trainer on stable ground, and adjust the rotary knobs on both sides of the bike trainer so that the distance between axle sleeve A and the axle sleeve B is greater than the length of the bike’s quick-release, as shown in Figure 5.
- Replace the original quick release of the rear wheel of the bike with the standard quick release, as shown in Figure 5. Lift the bike with a single hand to a certain height. First, embed the B end of the quick release into the B hole of the axle sleeve. Straighten the bike and adjust the knobs on the sides of the bike, insert the A end of the quick release into the A‐hole of the axle sleeve and tighten the knob.

- Adjust the knobs on both sides to make the bike tire roughly in the middle of the roller, as shown in Fig. 6. The knobs on both sides should be tightened to prevent the bike from shaking easily, and then lock the two nuts on the screw rods on both sides for fixing.
- Adjust the triangular knob clockwise to make the tire just touch the bicycle, and then tighten the triangle knob for a circle and a half turns to make the roller press into the tire tightly.

- As shown in Figure7,the standard front‐wheel stand is fixed under the front wheel of the bike to reduce the left and right wing of the front wheel and improve the comfort while riding.
Note:
- If you are not familiar with the correct operation of disassembling the rear wheel of the bike, please consult the bike shop nearby or refer to your bike instructions;
- If you fail to master the correct operation of bike installation on the bike trainer, please consult the professional bike maintenance personnel nearby or directly contact the UNISKY Dealer;
- Before riding, please make sure that your bike has been installed properly, or it will fall off from the bike trainer due to the unstable fixation between the bike and the bike trainer, resulting in accidental injury and property loss;
- Ensure that the bike trainer is placed flat to avoid accidental injury caused by shaking during riding;
- Before getting on the bike, it is necessary to check the air pressure of the tire. The air pressure while riding shall be in accordance with the value indicated on the tire;
- Whether it’s a road bike or mountain bike, it’s strongly recommended to use slicks for riding training, especially for mountain bikes. Mountain bikes are with bulky tire patterns, which will cause serious tire noise during riding training and affect the rider’s mood and fun of riding.
Smart Training
- Bike Trainer Pairing
This bike trainer needs to be connected with an external power supply before it can be used (When using a PC, you need to plug the ANT+ receiver into the USB port of the computer). Take out the power adapter in the packing box, connect the DC plug to the bike trainer first, and then connect the power supply. When the power is connected, the power signal indicator on the damper is always on, and the ANT + signal indicator and Bluetooth signal indicator are flashing. After pairing with the third‐party riding software of the computer, the ANT + signal indicator is always on, and the FE‐C protocol is supported when used. After the Bluetooth signal is linked with the app of a mobile phone or tablet, the Bluetooth signal indicator is always on. Meanwhile, you can use the app of a mobile phone or tablet to operate the training of power and other items. The advantages of using mobile phones or tablets are simple, clear, and convenient. At present, the game video training mode is not supported on mobile phones. This product can also be connected to an ANT + riding stopwatch for use. The specific operation methods of pairing and setting shall be according to the operating instructions of each brand. The subsequent operation can be carried out after confirming the connection.
This product supports pairing with the following third‐party riding software:- Zwift
- One lap
- Strava
Tip: when pairing, if you can’t detect the bike trainer device immediately, you can use the USB data extension cable. First, insert one end of the extension cable into the USB port on the computer, then insert the other end into the ANT+ receiver and place it near the bike trainer to detect the bike trainer device.
- Riding with Zwift
This bike trainer is connected wireless to a PC, enabling you to train with third‐party apps which is Zwift. Smart trainers use ANT+ protocol for communication which allows them to be controlled by third‐party software. The software receives the data like speed, power and so on from trainers, and you can feel different resistance according to the different maps.
How to connect and use the Zwift software (Please choose to install it on a laptop)- Download the Zwift software from the website: www.zwift.com
- Connection preparation
Connect the bike trainer to power, and insert the ANT+ USB disk into the computer SUB port to receive the data between the trainer and computer. - Click the downloaded APP Zwift, and enter in.
Register it if you are new to the APP, after this, log in. Or you could log in directly if you have already had an ID. - Connect the trainer and the Zwift software.
Click the controllable one to connect with the trainer. - Choose the training type and riding route.
As it is connected successfully, you can choose the training type and route as what you like, and then, please click RIDE to start the riding training. - Riding data.
You can find your riding data and riding conditions when you are training, and the ones all over the world who use the riding app at the same time you together. If you want to watch someone riding details, just click his/her name. - End riding
Click the MENU to check your riding data summary, and choose if you want to end the riding. - Save or discard the riding data
When you end the riding, there is a choice come out, you can choose to save or discard the data.
Maintenance
- The product can be folded for storage. Operation method: press down the two A pipes directly and tuck them in. Take care not to hurt your hands when folding and tucking.
- This product must be stored in a clean indoor environment that is dry, away from direct sunlight, fire, water, or other dangerous goods.
- Due to the circuit board structure inside the product, please only wipe the product with a clean cloth for cleaning. Do not use detergent, cleaning powder, or other chemical solvents to avoid personal and financial safety.
Common Fault and Eliminating Methods
In case of abnormality, please inspect and solve it according to the following table:
| Faults | Inspection and Solutions |
| The bike trainer is wobbly and shaking |
|
| The bike trainer cannot be paired with the smart device |
|
| Excessive body vibration during use |
normal condition. |
Note:
If the fault still cannot be eliminated, please contact the authorized dealer of UNISKY for assistance. Do not disassemble the product by yourself, which will cause damage to the product and affect the after‐sales service of the product!
Product Specification Parameters
| Input Power | DC 12V‐4A |
| Maximum Power | 2000W |
| Maximum Gradient | 15% |
| Power Accuracy | 5% |
| FE‐C Protocol | Support |
| Wireless
Communication | ANT+、Bluetooth |
| Unfold Size | 760*735*420mm |
| Gross/Net Weight | 18.8 Kg/15.8Kg |
| Flywheel Weight | 5.5Kg |
| Damper Type | Electromagnetic coil damper |
| Weight Restriction for | ≤130 Kg(including bike weight) |

























