interVac CS-8-120-E-TK-104 Wall Vacuum Cleaner

PLEASE NOTE:
The CS8 and CS6 have single opening in the dust bag
The CS-RM The has double opening in the dust bag
IF YOU SHOULD HAVE ANY QUESTIONS OR EXPERIENCE A PROBLEM WITH YOUR INTERVAC PRODUCT, DO NOT RETURN THIS PRODUCT TO THE STORE ORDEALER, PLEASE CALL OUR SERVICE DEPARTMENT AT: 1-888-499-1925, WE ARE HERE TO HELP.
WARNING: Owner read carefully.
This manual must be read and understood before installation, adjustment, service or maintenance is performed. This unit should be installed by a qualified technician. Owner read carefully.
IMPORTANT SAFETY INSTRUCTIONS
POLARIZATION INSTRUCTIONS FOR MODELS CS-8 AND CS RM WITH POWER. DO NOT USE WITH EXTENSION CORD! These have a polarized plug (one blade wider than the other). This plug will fit in a Polarized outlet only one way. If the plug does not fit fully in the outlet, reverse the plug. If it does not fit, contact a qualified electrician to install the proper outlet. Do not change the plug in any way!
When using an electrical vacuum cleaner, basic precautions should always be followed including the following: Read all instructions carefully before using this vacuum cleaner.
WARNING: TO REDUCE THE RISK OF FIRE, ELECTRIC SHOCK, OR INJURY
- Do not leave appliance when plugged in. Unplug from an electrical outlet when not in use and before servicing.
- Do not use outdoors or on wet surfaces.
- Never operate this vacuum cleaner without a dust bag and filters in place.
- Close attention is necessary when used by or near children .Do not allow unit to be used as a toy.
- Use only for intended use as described in this manual. Use only the manufacturer’s recommended attachments and dust bag.
- Do not use with damaged cord or plug. If appliance is not working as it should, has been dropped, damaged, left outdoors, or fell into water, return the vacuum cleaner to InterVac or an authorized service dealer for examination and repair.
- Do not put any object into openings. Do not use with any openings blocked; keep free of dust, lint, hair and any other material that may reduce air flow. When the secondary filter becomes dirty, rinse in warm water or replace with a new filter. Filter should be completely dry before using.
- Never drop or insert any object into any opening.
- Turn off all controls before unplugging.
- Do not pull or carry by cord, do not use cord as a handle, do not close a door on the cord, or pull cord around sharp edges or corners. Do not run appliance over cord. Keep cord away from heated surfaces.
- Do not unplug by pulling on cord. To unplug, grasp the plug not the cord.
- Keep hair, loose clothing, fingers, and all parts of body away from any openings and all moving parts.
- Do not pick up anything that is burning or smoking, such as cigarettes, matches, or hot ashes.
- Use extra caution when cleaning on stairs.
- Do not handle plug or appliance with wet hands.
- Do not pick up flammable or combustible liquids such as gasoline, or use in areas where they may be present.
- Do not place objects against the vacuum cleaner. Keep area clear.
- Do not step on the hose or pull the hose forcibly.
- Do not pick up large objects such as waste paper or cloth, which may clog the hose.
- Do not install this vacuum cleaner in an area exposed to high temperatures.
- Install this vacuum cleaner in a dry place.
- Do not attempt to service the vacuum cleaner. Unit is sealed and can not be opened without damage to the unit. For service, call your local authorized service dealer, or InterVac Design’s Customer Care Center.
SAVE THESE INSTRUCTIONS
for Household and R/V use
LIMITED WARRANTY
lnterVac Design Corp. will repair the power unit with new or rebuilt parts, free of charge for six(6) years from the date of original purchase in the event of a defect in materials or workmanship. No cash refunds. Excluded are the following items that require normal replacement:
Disposable dust bags, filters, vacuum cleaner tools and vacuum hoses.
This warranty is extended only to the original purchaser. A purchase receipt or other proof of date of original purchase will be required before warranty performance is rendered.
You must return your warranty card or register on our website in order to be covered under these provisions.
This warranty only covers failures due to defects in materials or workmanship which occurs during normal use and does not cover damage which occurs in shipment or failures which are caused by products not supplied by lnterVac Design, or failures which result from accident, misuse, abuse, neglect, mishandling, misapplication, alteration , modification, or commercial use such as hotel, office, restaurant or rental use of the product, or service by anyone other than an authorized service center, or damage that is attributable to acts of God.
There are no expressed warranties except as listed above.
LIMITS AND EXCLUSIONS:
INTERVAC DESIGN SHALL NOT BE LIABLE FOR INCIDENTAL OR CONSEQUENTIAL DAMAGES RESULTING FROM THE USE OF THIS PRODUCT, OR ARISING OUT OF ANY BREACH OF THIS WARRANTY. ALL EXPRESSED AND IMPLIED WARRANTIES, INCLUDING THE WARRANTIES OF MERCHANTABILITY AND FITNESS FOR A PARTICULAR PURPOSE, ARE LIMITED TO THE APPLICABLE WARRANTY PERIOD SET FORTH ABOVE. Some states do not allow the exclusion or limitation of incidental or consequential damages or limitations on how long an implied warranty last, so the above exclusions or limitations may not apply to you. This warranty gives you specific legal rights that vary from state to state. If a problem with this product develops during or after the warranty period, you may contact your dealer or our service center. If the problem is not handled to your satisfaction, than write to the Customer Service Center at the company address.
Specification
CS-6 and CS-8 120 Volt, 9.5Amp 60Hz, Weight 5.5 lb
CS-RM 120 Volt, 10 Amp 60Hz high efficiency motor, Weight 5.6 lb
Parts List
- Vacuum Cleaner with screws and clamps
- Vacuum tool kit: various
Read the Safety Instruction on the yellow label on the housing! CAUTION: DISCONNECT POWER BEFORE ATTEMPTING TO INSTALL THIS UNIT. CHECK FOR ANY OBSTRUCTIONS BEHIND THE MOUNTING SURFACE
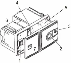
Parts
Please Note:
Some of our CS models do not have the complete vacuum tool accessory kit as pictured on the left.
- power unit
- floor tool
- dust brush
- upholstery tool
- crevice tool
- telescoping wand
- 20, 30 or 40 foot vacuum hose depending on model
- inlet valve for CS-RM only
- pipe to pipe coupling, CS-RM only
- pipe to flex-hose coupling, CS-RM
- 2” dia. Black Flex-hose, CS-RM only
- dust bags (2)
- 6’ low voltage wire, for CS-RM only

- on-off switch
- sliding hole cover
- lock-slider
- motor filter
- dust bag
- vacuum housing
- vacuum front panel
CS6 Hard Wired for Power Management
use 14 gage Romex wire
CS6 version was designed for limited amperage availability. If for example you use the microwave oven or your air conditioner with the vacuum cleaner at the same time your circuit breaker might be overloaded.
AFTER INSTALLING THE FOLLOWING ELECTRICAL CONNECTIONS YOU CAN ONLY RUN ONE APPLIANCE AT A TIME.
For Power Management CS-6 only

Hard Wiring model CS-8 or CSRM

Power Management to prevent overloading the circuit breaker:
Step 1. Turn off the breaker to the area you will i11stall the unit.
Step 2. Find the power cable connecting the Microwave Oven to the Circuit Breaker.
Step 3. Disconnect the exiting cable at the Microwave Oven. Reroute the cable to the Vacuum cleaner installation.
Step 4. In the back of the vacuum find the wire connections.
Step 5. Strip all 3 wires by about 5/8″.
Tip: leave a loop in the wires from the vacuum to the wall where the cables are securely attached.
Step 6. From the Microwave (or other appliance) connect the Black wire to “L”(line)(switched), the White wire into “N” (neutral) and connect the Ground wire under the washer screw head to “G”.
Step 7. From the Circuit Breaker run a new 14 or 12 gage Romex cable to the back of the vacuum.
Step 8. Strip the 3 wires and attach the Black to “L”, the White wire into the other “N” (neutral) and the GROUND wire to the other “G” connection.
Step 9. Attach the wire cover (supplied) over the connections by guiding the wires through the opening at the bottom of the cover and screw cover into place.
Step10. On the front side of the vacuum, toggle the switch to “SOURCE”.
Step11. Switch-on the circuit breaker and check if the other appliance is operating.
Step12. Now toggle the switch on the Vacuum to “VAC”.
The other appliance will stop operating and the Central Vacuum is ready for use.
CS-8 Installation Instruction

The central vacuum should be mounted so that power supply cord can be plugged directly into a electrical outlet.
Choose a place that is centrally located to maximize the reach with the vacuum hose.
The minimum wall thickness is 3/8” the maximum is 1”.
The cut-out in the wall is 11“ wide X 6” high and requires 6” depth.
Very important: If you installed the vacuum in a very small cabinet you must make provisions to exhaust the air from the vacuum out of the cabinet.
Cut a hole in the cabinet a minimum , attach a louver to cover the hole.
Use our part #AS-61 exhaust fitting with a diameter flex-hose to guide the warm air to the outside, or to where ever you prefer. See page 12 options.
Step A. Tape the paper template against the surface at a comfortable operating height
Step B. With a skill saw cut along the dotted line of the paper template
Step C. Slide the unit, power cord in first, into the opening and secure by tightening the four attached screws behind the front panel with the “clamps”.
Do not over-tighten.
Step D. Check to be sure dust bag and motor filter are in place.
FIG 7.
With a Phillip head screw driver adjust the distance between the clamp and the vacuum frame so the clamp reaches behind the frame.
FIG 8.
Slide the vacuum with the cord into the opening. You might have to hold the 2 lower clamps up.
FIG 9.
Now tighten the 4 screws the clamps will press against the back of the wall, Do not over tighten. When removing vacuum only unscrew 2 or 3 revolutions.
Installation Instruction
SEE PAGE 5 and 6 FOR THE POWER UNIT INSTALLATION

1) Inside the vacuum chamber you will find the flanged pipe with 4 screws.
Attach the black flanged pipe into the back hole of the power unit.
2) Install the vacuum valve about 3 to 4 feet from the vacuum. (the 2”dia. flex-hose is 4 feet long).
3) with a circular saw, see above on the right and below, cut a 2-1/2” hole, with a jig saw open the hole so that the vacuum valve is flush with the wall.
4) then route the 2” flex-hose form the vacuum to the valve.
Route the supplied (low voltage, 24v.) white wire (the wire has 2 small leads) along the flex-hose to the back of the vacuum to the 2 yellow pigtails.
IMPORTANT: leave 3” of slack at the connections.
Do not: remove the 2 screws at the valve completely unscrew just enough to get the wires under the screw heads.
5) connect the yellow wires with wire nuts outside the housing.
6) secure the wires.

A) Pipe coupling to be press-fit to flanged pipe.#P-30
B) Threaded pipe couplings, #D-900
C) Flex-hose, 2“ diameter, 4 feet, #X-640
D) Flanged pipe coupling attached to vacuum housing. #D-920
E) Vacuum valve with reducer attached.#E-40
NOTE for circle; screw the threaded pipe coupling counter clockwise into the flex-hose and press-fit the other side into the connectors.
VARIOUS VALVE CONNECTION for CSRM Model


# AF-10 with P40, with 45 “T”
# AF-20 with P41, with sweep “T”
X640 FLEX-HOSE ORDERED SEPARATE



#19 Model CS-RM; handling and disposing of the double sided dust bag.
#20 Model CS-RM; inserting the dust bag, see also page 10 picture 1,2 + 3.
#21 All Models; inserting the front panel into the collar of the dust bag.
#10 All Models; attach the front panel in an angle on the left side first.
DO NOT USE FORCE! Then push slider lock to the right, see arrow.
#23 All Models; removing the motor filter
#24 All Models; sliding the filter back into the slot, note the arrow direction.
Also see pictures down below
HOW TO OPERATE YOUR VACUUM CLEANER
IF THE VACUUM STOPS RUNNING:
If the vacuum hose becomes clogged the motor will shut off. Push the switch into “source” (Model CW or “off” position (Model C~8 and CS-RM} and let the motor cool down for one hour. Restart the vacuum without the vacuum hose attached and push the slider cover to open on the front panel, let the vacuum run for about 10 minutes. If vacuum keeps running the hose or the tools are clogged.
PLEASE SEE TROUBLE SHOOTING GUIDE.
A. Connecting and disconnecting the friction vacuum hose.
- Push the slider cover on the front panel to the open position.
- Insert hose cuff with a twist and push to secure.
- To remove, turn cuff in either direction while pulling hose towards you.
B. On / Off Switch
- To start the vacuum cleaner, push the switch to the “I” on or “VAC” position depending on your model.
- To stop the vacuum cleaner, push the switch to the “O” off or “MICRO I SOURCE” position depending on Model.
C: How to change the Y10 dust bag. DO NOT REUSE DUST BAGS CS6 and CSB MODELS with single collar bag
Replacement bag: Part# Y1 0 high filtration 5 layer fiber bag.
- Remove the front panel on the vacuum cleaner by sliding the latch/Jock to the left and remove the front panel and dust bag.
- Carry front panel and dust bag to the trash container. Remove full bag and discard.
- Push the card board collar of the new dust bag all the way over the pipe on the front panel. Pictures A to C
- Slide the front panel, with the left side first into the small slots on the left side of the vacuums frame, ensure dust bag is completely inside compartment, then push the right side into the frame until the lock/late clicks into place. With your thumb you might have to push the lock/latch further to the right.

C: To change motor filter, Replacement Part# Y22
- Remove FRONT PANEL with DUST BAG.
- On the left side, inside the vacuum chamber, you will see the filter with the arrow pointing towards the back wall.
- Replace the filter with a new or cleaned filter, with the arrow pointing towards the back wall check that the filter stays on the left side of the top and bottom frame.
- If the filter is dirty you can wash in mild soap by hand.
Do not clean in washing machine. Let filter dry completely and reuse as needed.
CAUTION:
DO NOT PICK UP LIQUIDS, LIT CIGARETTES, HOT ASHES, RAZOR BLADES, NEEDLES, PINS OR OTHER SHARP OBJECTS!
Attaching Front Panel and Dust Bag to Vacuum
Insert Motor filter first, then slide dust bag into vacuum chamber.
Slide front panel with left side into the vacuum frame.
Watch out that bag does not get clamped between front panel and frame
Snap front panel down into the frame and push the latch to the right to lock.
C: How to change the Y11 dust bag. DO NOT REUSE DUST BAGS
CS-RM MODELS with double collar bag Replacement bag: Part# Y11 high filtration 5 layer fiber bag.
- Remove the front panel on the vacuum cleaner by sliding t–he latch/lock to the left and remove the front panel with dust bag attached dust bag. Remove full bag and discard.
- Please notice: the #Y11 double sided bag has 2 openings. The collar which attaches in the back of the vacuum chamber is clearly marked “PUSH THIS COLLAR OVER PIPE IN THE BACK OF THE VACUUM CHAMBER FIRST” Hold the dust bag by the edges of the cardboard in your hand like shown in the picture #1 below. Push onto the
pipe in the back of the chamber holding at about a 45 degree angle and then push down the lower part of the Collar against the back wall until flush. Pic.#2. - Push the front card board collar of the dust bag all the way over the pipe on the front panel, Pic.#3
- Slide the front panel, with the left side first into the small slots on the left side of the vacuums frame, see Pie’s E and F above. Ensure dust bag is completely inside compartment, then push the right side into the frame until the lock/latch clicks into place.

C: To change motor filter, replacement Part# Y22
- Remove FRONT PANEL with DUST BAG.
- On the left side, inside the vacuum chamber, you will see the filter with the arrow pointing towards the back wall.
- Replace the filter with a new or cleaned filter, with the arrow pointing towards the back wall check that the filter stays on the left side in the top and bottom support. If the filter is ditty you can wash in mild soap by hand.
Do not clean in washing machine. Let filter dry completely and reuse as needed.
Do not clean in washing machine. Let filter dry completely and reuse as needed.
TROUBLE SHOOTING
TIP : Model CS-RM if you do not have any suction power, but the motor runs:
A) one of the gray hoses connecting the vacuum with a valve came loose or was not connected properly.
B) The slider on the vacuums front panel is not closed.
NOTE: IF MOTOR SUDDENLY STOPS:
- The most common cause is a clogged hose. Disconnect vacuum hose from cleaner, hold one end high up in the air and drop a quarter or similar object into the hose. If the quarter gets stuck the hose is clogged. Try to unclog the hose with a long stick or see below “cleaning the hose”.
- The bag is overfilled or fine dust has clogged the bag.
Replace with new bag.
DO NOT EMPTY AND REUSE - The vacuum cleaning tools are clogged.
- Vacuuming large amounts of dust other than household dirt, such as dry-wall or fine wood dust can block the bags pores fast, even if the bag is fairly new.
- The motor filter is dirty and should be cleaned or replaced.
- If vacuum unit is installed in a air tight compartment the exhausting air cannot escape, the motor can overheat and shut off until it has cooled down and is restarted, see page 10
CLEANING THE STRETCH HOSE
The stretch hose, besides all its’ conveniences, has a tendency to get clogged, especially if you have pets.
a) lift the hose up on both ends and dispense some liquid detergent into both ends.
b) with a garden hose, holding both ends still up, fill ¾ with water.
c) shake hose up and down, let detergent loosen the dirt.
d) stretch the hose as far as you can ( 2 people required) and wash the dirt out with the full pressure of the garden hose. Repeat if necessary.
e) Hang hose up, let hose drain and dry completely. up to 24 hours.
MAINTENANCE INSTRUCTION
a) keep vacuum chamber clean. Use a brush to clean out dirt if accumulated.
Options:
Part # AS-61, Exhausting the warm air from the vacuum outside the cabinet when vacuum is to be installed in a very confined space.
AS-61 consists of a funnel which snaps into the back of the vacuum, 2.5 feet of flex-hose X640 and a flanged spigot.
Attach flex-hose to funnel and spigot with PVC glue or hose clamps
Part #C065. Set of mounting brackets for all CS Models. If you do not like to install the CS models in a wall, you can mount the vacuum on a horizontal surface, upside down or against a vertical wall.
VacPort sweeper pan.
Model A900 with LED lighting
Model A910 with out LED lighting
Model A950 includes VacPort with 2″ flex-hose and all fittings.
For CS-RM models only.
Besides a standard vacuum valve you could add the VacPort in your kitchen cabinet’s kick-board and use a broom to quick clean the floor


















