
CUSTOMER ASSISTANCE
REGISTER YOUR PRODUCT
Registering your new product is easy and offers benefits that help you get the most out of your Sharp product including:
- Convenience: If you ever need warranty support, your product information is already on file.
- Communication: Stay up to date with important notifications and special offers from SHARP.
- Support: Quickly access support content including Owner’s Manuals, FAQ’s, How-to Videos, and much more.
3 EASY WAYS TO REGISTER TODAY!

PRODUCT SUPPORT
If you have questions about the setup or operation of your product, please refer to the corresponding section within this manual.
Additionally, visit www.sharpusa.com/support to access exclusive content about your product including:
- FAQ’s and How-To Videos
- Find or Request Service
- Purchase an Extended Warranty
- Downloads including the Installation Guide, Spec Sheet, and Owner’s Manual
CONTACT US
If at any time you have questions or comments concerning your SHARP product, please contact the SHARP Customer Assistance Center. We are available to assist you through multiple contact methods for your convenience:

CONSUMER LIMITED WARRANTY
SHARP ELECTRONICS CORPORATION (“Sharp”) warrants to the first consumer purchaser that this Sharp brand product (the “Product”), when shipped in its original container, will be free from defective workmanship and materials, and agrees that it will, at its option, either repair the defect or replace the defective Product or part thereof with a new or remanufactured equivalent at no charge to the purchaser for parts or labor for the period(s) set forth below.
This warranty does not apply to any cosmetic or appearance items of the Product nor to the additional excluded item(s) set forth below nor to any Product the exterior of which has been damaged or defaced, which has been subjected to misuse, abnormal service or handling, or which has been altered or modified in design or construction. In order to enforce the rights under this limited warranty, the purchaser should follow the steps set forth below and provide proof of purchase to the servicer.
The limited warranty described herein is in addition to whatever implied warranties may be granted to purchasers by law. ALL IMPLIED WARRANTIES INCLUDING THE WARRANTIES OF MERCHANTABILITY AND FITNESS FOR USE ARE LIMITED TO THE PERIOD(S) FROM THE DATE OF PURCHASE SET FORTH BELOW. Some states do not allow limitations on how long an implied warranty lasts, so the above limitation may not apply to you.
Neither the sales personnel of the seller nor any other person is authorized to make any warranties other than those described herein, or to extend the duration of any warranties beyond the time period described above on behalf of Sharp. The warranties described herein should be the sole and exclusive warranties granted by Sharp and should be the sole and exclusive remedy available to the purchaser. Correction of defects, in the manner and for the period of time described herein, should constitute complete fulfillment of all liabilities and responsibilities of Sharp to the purchaser with respect to the Product, and should constitute full satisfaction of all claims, whether based on contract, negligence, strict liability or otherwise. In no event should Sharp be liable, or in any way responsible, for any damages or defects in the Product which were caused by repairs or attempted repairs performed by anyone other than a Sharp authorized servicer. Nor should Sharp be liable or in any way responsible for any incidental or consequential economic or property damage. Some states do not allow the exclusion of incidental or consequential damages, so the above exclusion may not apply to you.
THIS LIMITED WARRANTY IS VALID ONLY IN THE FIFTY (50) UNITED STATES, THE DISTRICT OF COLUMBIA AND PUERTO RICO.
Product model number & description:
SJB1255GS, Refrigerator/Freezer
Warranty period for this product: One (1) year parts and labor, including in-home service.
Five (5) years parts and labor, for sealed system (condenser, dryer, connecting tube and evaporator) and compressor, including in-home service.
Additional item(s) excluded from warranty coverage:
- Commercial, non-residential, or use inconsistent with published installation and product operational instructions.
- Light bulbs.
- Any food or medicine loss due to refrigerator or freezer product failures.
- In home instruction on how to use your product.
What to do to obtain service:
In-home service eligibility is calculated from date of purchase. Service can be arranged by calling 1-800-BE-SHARP. Be sure to have Proof of Purchase, Model, and Serial Number available.
TO OBTAIN SUPPLY, ACCESSORY OR PRODUCT INFORMATION, CALL 1-800-BE-SHARP or visit www.sharpusa.com. SAVE THE PROOF OF PURCHASE AS IT IS NEEDED SHOULD YOUR REFRIGERATOR/FREEZER EVER REQUIRE WARRANTY SERVICE.
IMPORTANT SAFETY INSTRUCTIONS
MEANING OF SAFETY WARNING SYMBOLS
PROHIBIT
This is a prohibition symbol. Any incompliance with instructions marked with this symbol may result in damage to the product or endanger the personal safety of the user.
WARNING
This is a warning symbol. It is required to operate in strict observance of instructions marked with this symbol; or otherwise damage to the product or personal injury may be caused.
CAUTIONB
This is a cautioning symbol. Instructions marked with this symbol require special caution. Insufficient caution may result in slight or moderate injury, or damage to the product. State of California Proposition 65 Warnings:
WARNING: This product contains one or more chemicals known to the State of California to cause cancer.
WARNING: This product contains one or more chemicals known to the State of California to cause birth defects or other reproductive harm.
SAFETY WARNINGS
WARNING
RISK OF FIRE/FLAMMABLE MATERIALS
- This appliance is intended to be used in household and similar applications such as staff kitchen areas in shops, offices and other working environments; farm houses and by clients in hotels, motels and other residential type environments; bed and breakfast type environments; catering and similar non-retail applications.
- This appliance is not intended for use by persons (including children) with reduced physical, sensory or capabilities, or lack of experience and knowledge, unless they been given supervision or instruction concerning use of the appliance by a person responsible for their safety. Children should be supervised to ensure that they do not play with the appliance.
- If the supply cord is damaged, it must be replaced by the manufacturer, its service agent or similarly qualified persons in order to avoid a hazard.
- Do not store explosive substances such as aerosol cans with flammable propellant in this appliance.
- The appliance has to be unplugged after use and before carrying out user maintenance on the appliance.
- Do not use extension cords or ungrounded (two prong) adapters.
- The refrigerator must be disconnected from the source of electrical supply before attempting the installation of accessory.
The appliance is intended to be used as is. Do not alter the specifications by enhancing any applications of the appliance.
WARNING
- Keep ventilation openings, in the appliance enclosure or in the built-in structure, clear of obstruction.
- Do not use mechanical devices or other means to accelerate the defrosting process, other than those recommended by the manufacturer.
- Do not damage the refrigerant circuit.
- Do not use electrical appliances inside the food storage compartments of the appliance, unless they are of the type recommended by the manufacturer.
- Please recycle the refrigerator according to local regulators for it use flammable blowing gas and refrigerant. When positioning the appliance, ensure the supply cord is not trapped or damaged.
- Do not locate multiple portable socket-outlets or portable power supplies at the rear of the appliance.
DANGER
- Risk of child entrapment. Before you throw away your refrigerator or freezer:
- • Take off the doors.
• Leave the shelves in place so that children may not easily climb inside. - To prevent a child from being entrapped, keep out of reach of children and not in the vicinity of freezer (or refrigerator).
Refrigerant and cyclopentane foaming material used for the appliance are flammable. Therefore, when the appliance is scrapped, it shall be kept away from any fire source and be recovered by a special recovering company with corresponding qualification other than be disposed by combustion, so as to prevent damage to the environment or any other harm.
Children should be supervised to ensure that they do not play with the appliance.
This appliance can be used by children aged from 8 years and above and persons with reduce physical sensory or mental capabilities or lack of experience and knowledge if they have been given supervision or instruction concerning use of the appliance in a safe way and understand the hazards involved. Children shall not play with the appliance. Cleaning and user maintenance shall not be made by children without supervision. Children aged from 3 to 8 years are not allowed to load and unload refrigerating appliances.
FOOD SAFETY
To avoid contamination of food, please respect the following instructions:
- Opening the door for long periods can cause a significant increase of the temperature in the compartments of the appliance.
- Clean regularly surfaces that can come in contact with food and accessible drainage systems.
- Clean water tanks if they have not been used for 48 hours; flush the water system connected to a water supply if water has not been drawn for 5 days.
- Store raw meat and fish in suitable containers in the refrigerator, so that it is not in contact with or drip onto other food.
- If the refrigerating appliance is left empty for long periods, switch off, defrost, clean, dry and leave the door open to prevent mold developing within the appliance.
WARNING
- To avoid a hazard due to instability of the appliance, it must be fixed in accordance with the instructions.
- Connect to potable water supply only. (Suitable for ice making machine.)
ELECTRICITY RELATED WARNINGS
- Do not pull the power cord when pulling the power plug of the refrigerator. Please firmly grasp the plug and pull it out from the socket directly.
- To ensure safe use, do not damage the power cord or use the power cord when it is damaged or worn.
WARNING
- Please use a dedicated power socket and the power socket shall not be shared with other electrical appliances. The power plug should be firmly contacted with the socket or else fires might be caused.
- Please ensure that the grounding electrode of the power socket is equipped with a reliable grounding line.
- In case of leakage of gas and other flammable gases, please turn off the valve of the leaking gas and then open the doors and windows Do not unplug the refrigerator and other electrical appliances considering that spark may cause a fire.
PROHIBIT
- Do not use electrical appliances on the top of the appliance, unless they are of the type recommended by the manufacturer.
PROHIBIT
- Do not arbitrarily disassemble or reconstruct the refrigerator, nor damage the refrigerant circuit; maintenance of the appliance must be conducted by a specialist
- Damaged power cord must be replaced by the manufacturer, its maintenance department or related professionals in order to avoid danger.
- Do not allow any child to get into or climb the refrigerator; otherwise suffocation or falling injury of the child may be caused.
WARNING
- The gaps between refrigerator doors and between doors and refrigerator body are small, be noted not to put your hand in these areas to prevent from squeezing the finger. Please be gentle when close the refrigerator door to avoid falling articles.
- Do not pick foods or containers with wet hands in the freezing chamber when the refrigerator is running, especially metal containers in order to avoid frostbite.
DANGER
- Do not place heavy objects on the top of the refrigerator considering that objects may fall when close or open the door, and accidental injuries might be caused.
- Please pull out the plug in case of power failure or cleaning. Do not connect the refrigerator to power supply within five minutes to prevent damages to the compressor due to successive starts.
WARNINGS FOR PLACEMENT OF ITEMS
WARNING
- Do not put flammable, explosive, volatile and highly corrosive items in the refrigerator to prevent damages to the product or fire accidents.
- Do not place flammable items near the refrigerator to avoid fires.
- The refrigerator is intended for household use, such as storage of foods; it shall not be used for other purposes, such as storage of blood, drugs or biological products, etc.
- Do not store beer, beverage or other fluid contained in bottles or enclosed containers in the freezing chamber of the refrigerator; or otherwise the bottles or enclosed containers may crack due to freezing to cause damages.
WARNINGS FOR ENERGY
- Refrigerating appliances might not operate consistently (possibility of defrosting of contents or temperature becoming too warm in the frozen food compartment) when sited for an extended period of time below the cold end of the range of temperatures for which the refrigerating appliance is designed.
- The fact that effervescent drinks should not be stored in food freezer compartments or cabinets or in low-temperature compartments or cabinets, and that some products such as water ices should not be consumed too cold;
- The need to not exceed the storage time(s) recommended by the food manufacturers for any kind of food and particularly for commercially quick-frozen food in food-freezer and frozen-food storage compartments or cabinets;
- The precautions necessary to prevent an undue rise in the temperature of the frozen food while defrosting the refrigerating appliance, such as wrapping the frozen food in several layers of newspaper.
- The fact that a rise in temperature of the frozen food during manual defrosting, maintenance or cleaning could shorten the storage life.
- The necessity that, for doors or lids fitted with locks and keys, the keys be kept out of the reach of children and not in the vicinity of the refrigerating appliance, in order to prevent children from being locked inside.
WARNINGS FOR DISPOSAL
PROHIBITB
Refrigerant and cyclopentane foaming material used for the refrigerator are flammable. Therefore, when the refrigerator is recycled, it shall be kept away from any fire source and be recovered by a special recovering company with corresponding qualification other than be disposed by combustion, so as to prevent damage to the environment or any other harm.
WARNING
- When the refrigerator is recycled, disassemble the doors, and remove gasket of door and shelves; put the doors and shelves in a proper place, so as to prevent trapping of any child.
- When the refrigerator is recycled, cut the connection cable, and discard it, to prevent any future misuse of the appliance.
Correct Disposal of this product
This marking indicates that this product should not be disposed with other household wastes. To prevent possible harm to the environment or human health from uncontrolled waste disposal, recycle it responsibly to promote the sustainable reuse of material resources. To return your used device, please use the return and collection systems or contact the retailer where the product was purchased. They can take this product for environmental safe recycling.
WARNING
WARNING: Cancer and Reproductive Harm – www.P65Warnings.ca.govhttp://www.P65Warnings.ca.gov
INSTALLATION INSTRUCTIONS
SPACE REQUIREMENT

DIMENSIONS SIZE (IN)
- A 23.6
- B 27.0
- C 72.8
- D Min. 2.0
- E Min. 2.0
- F Min. 2.0
- G 37.8
- H 38.6
- Depth without door is 24.4″
INSTALLATION LOCATION
- This refrigerator is designed for indoor, household use only. Keep away from heat and avoid direct sunlight or places near a heat source, such as an oven or a radiator.
- Do not place the refrigerator in moist or watery places to prevent rust or reduction of insulating effect to affect the electrical insulation properties of the refrigerator.
- The refrigerator is placed in a dry and well-ventilated indoor place.
- The ground shall be flat, and sturdy (rotate the adjustable leg left or right to adjust for leveling if unstable.)
- The temperature of the location ranges from a minimum of 55°F to a maximum of 110°F. However, for better energy usage and superior cooling, the temperature is preferred to be between 60°F and 90°F.
- For proper air circulation and electric connections, allow a 2″ clearance on each side and behind the refrigerator. Allow a 2″ clearance at top of the refrigerator.
- Spare enough space for convenient opening of the doors and drawers, especially when the refrigerator is installed next to a fixed wall to allow the door to swing open.
ELECTRICAL CONNECTION
Before plugging in, ensure that the voltage and frequency shown on the rating plate correspond to your domestic power supply. The appliance must be grounded. The power supply cable plug is provided with a contact for this purpose. If the domestic power supply socket is not grounded, connect the appliance to a separate ground in complianc
e with current regulations, consulting a qualified electrician.
The manufacturer declines all responsibility if the above safety precautions are not observed.
This appliance complies with the E.E.C. Directives.
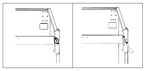
DOOR REVERSIBILITY
Before reversing the door, please be prepared below tools and material: phillips head screwdriver, socket wrench, wrench and components included in the poly bag:

- Unscrew top hinge cover and disconnect connector of door switch.

- Unscrew top hinge with screwdriver or ¼” socket wrench and remove the upper door.

- Remove the pin with a wrench or 3/8” socket wrench and flip the hinge bracket. Then refit the pin to the hinge bracket.

- Move door switch from right hinge cover to left hinge cover in accessary bag.

- Move top left cover to right side.

- Take off the upper door, take out the screw from the middle hinge by cross screwdriver or ¼” socket wrench, then take off the lower door.

- Unscrew bottom hinge with 3/8” socket wrench

- 8. Unscrew and remove the bottom hinge pin with wrench or 3/8” socket wrench, turn the bracket over and refit it.

- Refit the bracket fitting the bottom hinge pin on the left side. Replace both adjustable feet.

- Remove aid-closers from bottom of upper and lower doors with screwdriver.

Then take new aid-closers from accessory bag and install them to the left side. - Move the hinge hole covers from left side to right side. Place the lower door, flip and refit the middle hinge (that you removed on step 6).

- Refit upper door, please ensure the door is align with the cabinet to make sure door gasket is sealed to the cabinet tightly. Then connect the door with the cabinet by tightening the screw to the top hinge with a screwdriver or socket wrench.

- 13. Replace top hinge cover. Before screw the cover, connect terminals of door switch.

If you only want to dissemble door follow steps 1-3 for disassembly.
LEVELLING THE UNIT
To do this adjust the two leveling feet at front of the unit.
If the unit is not level, the doors and magnetic seal alignments will not be covered properly.

HOW TO REMOVE SHELVES
To remove the removable shelf: First, lift up the rear end of shelf, and then pull the shelf out.

USER INTERFACE
SETTING PANEL

BUTTONS & TEMPERATURE SETTING
MODE
Press [MODE] to select [ECO] Mode or [FREEZE BOOST] Mode, and please wait until the flash turns to continuous light, then the Mold is selected successfully.
The default mode is Normal Mode. If not, press [MODE] until [ECO] & [FREEZE BOOST] unlighted.
Under Normal Mode, you can set the temperature of Refrigerator and Freezer compartment.
ZONE
Under Normal Mode, press [ZONE] to select either Refrigerator or Freezer to which you plan to adjust the temperature.
TEMP
Under Normal Mode, press [TEMP] to adjust the temperature of Refrigerator or Freezer compartment.
Press [TEMP] and hold longer than 3 seconds to switch between Fahrenheit and Celsius.
The setting temperature of Freezer and Refrigerator compartment cycles as follows.
REFRIGERATOR TEMPERATURES

FREEZER
![]()
DISPLAY AND LIGHT
- It will light when ECO Mode is selected by button [MODE].
- It will light when Freeze Boost Mode is selected by button
[MODE]. - It shows setting temperature of Refrigerator or Freezer
compartment in Fahrenheit or Celsius. - It will light when the Freezer compartment is selected by
button [ZONE]. - It will light when the Refrigerator compartment is selected by button [ZONE].
OPTIONAL MODES
ECO MODE
In this mode, the temperature of fridge and freezer is automatically set at 41˚F and 0˚F. The temperature of two compartments are not adjustable. The appliance runs at low energy consumption.
Selected by pressing [Mode] button 1 time.
FREEZE BOOST
In this mode, the temperature of freezer is automatically set at -13˚F. The temperature in freezer will be reduced rapidly.
If you plan to freeze a large number of food in one time, select FREEZE BOOST mode 24 hours ahead.
In this mode, the temperature of fridge is still adjustable. The appliance will go back to previous running mode automatically after 50 hours.
Selected by pressing [Mode] button 2 times
VACATION MODE
Use VACATION MODE to switch off fridge compartment while freezer continues operating to save energy on your vacation.
Selected by pressing Mode button 3 times.
DEMO MODE
Enter: press and hold [TEMP] for 5 seconds until a beep.
In this mode, no cooling, but user interface and light are functional.
Exit: Unplug from power outlet.
Compressor does not operate in Demo Mode
DOOR OPEN ALARM
If door keeps open longer than 60 seconds, alarm will rise automatically. Close the door immediately to save energy.
DAILY USE
FREEZING FRESH FOOD
- The freezer compartment is suitable for freezing fresh food and storing frozen and deep-frozen food for a long time.
- Place the fresh food to be frozen in the bottom compartment.
- The maximum amount of food that can be frozen in 24 hours is specified on the rating plate.
- The freezing process lasts 24 hours: during this period do not add other to be frozen.
STORING FROZEN FOOD
When first starting-up or after a period out of use, before putting the product in the compartment, let the appliance run at least 2 hours on the higher settings.
IMPORTANT! In the event of accidental defrosting, for example, the power has been off for longer than the value shown in the technical characteristics chart under “rising time”, the defrost food must be consumed quickly or cooked immediately and then re-frozen (after cooked).
THAWING
Deep-frozen or frozen food, prior to be used, can be thawed in the freezer compartment or at room temperature, depending on the time available for this operation.
Small pieces may even be cooked still frozen, directly from the freezer. In this case, cooking will take longer.
HELPFUL HINTS AND TIPS
HINTS FOR FREEZING
To help you make the most of the freezing process, here are some important hints:
- The maximum quantity of food which can be frozen in 24 hours is shown on the rating plate.
- The freezing process takes 24 hours. No further food to be frozen should be added during this period.
- Only freeze top quality, fresh and thoroughly cleaned foods.
- Prepare food in small portions to enable it to be rapidly and completely frozen and to make it possible subsequently to thaw only the quantity required.
- Wrap up the food in aluminium foil or polythene and make sure that the packages are airtight.
- Do not allow fresh, unfrozen food to touch food which is already frozen, thus avoiding a rise in temperature of the later.
- Lean foods store better and longer than fatty ones. Salt reduces the storage life of food.
- Water ices, if consumed immediately after removal from the freezer compartment, can possibly cause the skin to be freeze burnt.
- It is advisable to show the freezing in date on each individual pack to enable you removal from the freezer compartment, can possible cause the skin to be freeze burnt.
- It is advisable to show the freezing in date on each individual pack to enable you to keep tab of the storage time.
HINTS FOR STORAGE OF FROZEN FOOD
To obtain the best performance from this appliance, you should:
- Make sure that the commercially frozen foods were adequately stored by the retailer.
- Be sure that frozen foods are transferred from the food store to the freezer in the shortest possible time.
- Not open the door frequently or leave it open longer than absolutely necessary.
- Once defrosted, food deteriorates rapidly and cannot be refrozen.
- Do not exceed the storage period indicated by the food manufacture.
- Do not store warm food or evaporating liquids in the refrigerator.
- Do cover or wrap the food, particularly if it has a strong flavour.
HINTS FOR REFRIGERATION
Useful hints:
- Make (all types): wrap in polythene bags and place on the glass shelves above the vegetable drawer.
- For safety, store in this way only one or two days at the most.
- Cooked foods, cold dishes, etc.: these should be covered and may be placed on any shelf.
- Fruit and vegetables should be thoroughly cleaned and placed in the special drawer(s) provided.
Butter and cheese should be placed in special airtight containers or wrapped in aluminum foil or polythene bags to exclude as much air as possible. - Milk bottle should have a cap and should be stored in the balconies on the door.
- Bananas, potatoes, onions and garlic, if not packed, must not be kept in the fridge.
FRESH ZONE TEMPERATURE CONTROL

- Temperature of the fresh can be adjusted according to the type of storage food.
- Push the knob upward from the bottom, temperature in the fresh zone will be gradually decreased.
- When the knob is placed at the “CRISPER” position, the fresh zone can be functioned as a crisper zone and maintain the appropriate temperature and humidity for fruits and vegetable.
- When the knob is placed at the “CHILLER” function, it is suitable for short-term storage of fish or other fresh food. The food will keep fresh but not frozen, which makes it the best choice for storing fresh food.
- Tips: When you choose “CHILLER” function, it is recommended to set the refrigerator temperature below 39˚F and preserved lead-time no more than 3 days, in order to keep the best freshness.
ERROR CODES
If there is fault, the display will show ERROR codes.
ERROR
CODES AREAS WITH FAULT
- E0 Signal transmission between control board and main board. Probably defects of harness (wire and connectors), main board or control board
- E1 Temperature sensor of fridge compartment
- E2 Temperature sensor of freezer compartment
- E3 Defrost temperature sensor in freezer compartment
- E4 Fan motor in evaporator room of freezer comportment
- E5 Defrost heater or the fuse connected with heater
When ERROR codes appear, call 1-800-BE-SHARP.
FIRST USE
CLEANING THE INTERIOR
Before using the appliance for the first time, wash the interior and all internal accessories with lukewarm water and some neutral soap to remove the typical smell of brand new product, then dry thoroughly.
IMPORTANT! Do not use detergents or abrasive powders, these will damage the finish.
CLEANING
For hygienic reasons the appliance interior, including interior accessories, should be cleaned regularly.
CAUTION
IMPORTANT! Ethereal oils and organic solvents can damage plastic parts, e.g. lemon juice or the juice from orange peel, butyric acid, cleanser that contain acetic acid.
- Do not allow such substance to come into contact with the appliance parts.
- Do not use any abrasive cleaners.
- Remove the food from the freezer. Store them in a cool place, well covered.
- Switch the appliance off and unplug or switch off or turn out the circuit breaker of fuse.
- Clean the appliance and the interior accessories with cloth and lukewarm water. After cleaning, wipe with fresh water and rub dry.
- After everything is dry, place appliance back into service.
REPLACE THE LAMP
The internal light is a LED type. To replace the lamp, contact 1-800-BE-SHARP.
TROUBLE SHOOTING
CAUTION
Before troubleshooting, disconnect the power supply. Only a qualified electrician of competent person must do the trouble shooting that is not in this manual.
IMPORTANT! There are some sounds during normal use (compressor, refrigerant circulation).
| PROBLEM | POSSIBLE CAUSE | SOLUTION |
| Appliance does not work | AC Cord is not plugged in or is loose | Insert AC Cord |
| Fuse has blown or is defective | Check fuse, replace if necessary | |
| Electrical Outlet is defective | Electrical outlet or circuit breaker malfunctions are to be corrected by an electrician | |
| Appliance freezes or cools too much | Temperature is set too cold or the appliance runs at FREEZE BOOST modes | Refer to the Temperature Setting section |
| The food is not frozen enough | Temperature is not properly adjusted | Refer to the Temperature Setting section |
| A large quantity of warm food was placed in the appliance within the last 24 hours | Turn the temperature regulation to colder setting temporarily | |
| The appliance is near a heat source | Refer to the Installation Location section | |
| Heavy build up of frost on the door seal | Door seal in not airtight | Carefully warm the leaking section of the door seal with a hair dryer (on a cool setting). At the same time, shape the warmed door seal by hand such that it sits correctly. |
| Unusual noise | Appliance is not level | Re-adjust the feet |
| The appliance is touching the wall or other objects | Move the appliance slightly | |
| A component, e.g. a pipe on the rear of the appliance is touching another part of the appliance or the wall | If necessary, carefully bend the component out of the way | |
| Side panel is hot | Condenser is inside the panel | It’s normal |
If the malfunction shows again, contact the Sharp customer support (1-800-BE-SHARP) to dispatch a service technician. Please record your model number and serial number below.
Model number ________________________________________________
Serial number _________________________________________________
































