
BLANCO SUBLINE-F
SILGRANIT®





OK
not OK
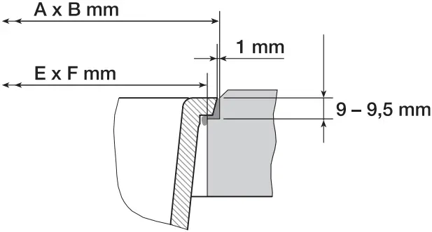
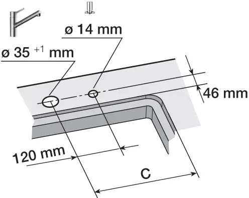
+1 mm / -1 mm | +2 mm / -1 mm | |||||
| A | B | E | F | C | D | |
| BLANCO SUBLINE 320-F | 349 mm | 429 mm | 339 mm | 419 mm | 174 mm | 109 mm |
| BLANCO SUBLINE 340/160-F | 554 mm | 429 mm | 544 mm | 419 mm | 187 mm | 305 mm |
| BLANCO SUBLINE 400-F | 429 mm | 429 mm | 419 mm | 419 mm | 214 mm | 149 mm |
| BLANCO SUBLINE 500-F | 529 mm | 429 mm | 519 mm | 419 mm | 264 mm | 199 mm |
| BLANCO SUBLINE 700-F | 729 mm | 429 mm | 719 mm | 419 mm | 364 mm | 299 mm |
1


2

| 3
|
BLANCO SUBLINE 320-F |
![]() BLANCO SUBLINE 340/160-F | ![]() |
4


5


OK
not OK













OK
not OK








BLANCO GmbH + Co KG
Service
Te.:+49 7045 44-81 419
[email protected]
www.banco-germany.com

230969 • 08/2017























