OLDE MIDWAY P1000 10oz Popcorn Popper

WARNING
Misuse of this machine may result in serious injury. READ ALL INSTRUCTIONS BEFORE USING YOUR POPCORN MACHINE. RETAIN THIS MANUAL FOR FUTURE REFERENCE
- This is not a toy. Please keep away from children.
- Use only on a grounded outlet.
- Do not use popper for anything other than its intended purpose.
- Take proper safety precautions when using this machine.
- Do not use outdoors or near water.
- Do not leave machine unattended while powered on.
- Do not touch hot surfaces. Always use handles or knobs to operate.
- Always place popper on a secure, level, stable surface.
- To avoid any risk of electrical shock, do not immerse cord or plug in water.
- Do not operate the machine if damage to cord or plug is present.
- Unplug main power cord from outlet while not in use and before cleaning.
- Allow hot parts to cool down before moving or cleaning.
Parts List
Note: Identify and locate all parts and hardware necessary to operate this item.

** 60-Watt R20 Light Bulb (not shown) also included. ** If your model does not include the cart, skip to page 10.
We recommend two people for cart assembly.


HARDWARE
Screwdriver (1pc) & Wrench (2pc) also included..


Popcorn Cart Assembly
- STEP 1: Screw one of the RUBBER FEET (A) into the bottom of each SUPPORT LEG (B). Tighten both rubber feet.

- STEP 2: Insert one WHEEL BOLT (O) into the bottom holes located on each side of the SUPPORT STAND (C). NOTE: Insert bolt from the inside out. Secure wheel bolts with one NUT (Q) on each side. Tighten with wrench.
- STEP 3: Hang one WHEEL (D) onto one WHEEL BOLT (O) and secure with one NYLOC NUT (P). Tighten with wrench. Repeat step for second wheel. Note: Do not overtighten. Make sure both wheels spin freely.
- STEP 4: Attach both HORIZONTAL SUPPORTS – BASE (E) to the same SUPPORT STAND (C) using two BOLTS (T) each with one WASHER (R). Tighten with wrench.

- STEP 5: Insert two BOLTS (U), each with one WASHER (R), into each SUPPORT LEG (B). Attach SUPPORT LEG (B) to the SUPPORT STAND (C) on the opposite side of the wheels. Tighten with wrench.
- STEP 6: Insert both HORIZONTAL SUPPORTS – WITH SCREWS (F) into the grooves at the ends of each SUPPORT STAND (C), as shown.

- STEP 7: Insert the CABINET BASE (G). Note: Place the lipped side facing down. Line the cabinet base up between the SUPPORT STANDS (C).

- STEP 8: Confirm the CABINET BASE (G) is locked in place. Secure the SUPPORT STANDS (C) using the SCREWS (V), as shown. Tighten screws with screwdriver.
- STEP 9: Note: Before assembling the front and back panels, determine which side you want the cabinet door facing. Insert the CABINET FRONT (H) and CABINET BACK (I). Secure both panels to the SUPPORT STANDS (C) with SCREWS (V), as shown. Tighten screws with screwdriver.
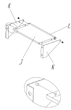
- STEP 10: Remove the pre-assembled screws from the PUSH HANDLE (L). Attach one of the WORKING PLATFORM BRACKETS (K) to one end of the handle.
Insert the WORKING PLATFORM (J) to the same bracket using the pre-installed posts. Insert the screw and tighten. Repeat steps above to attach the remaining bracket on the other side.

- STEP 11: Remove the pre-assembled screws from the HANDRAIL (N). Attach one of the HANDRAIL BRACKETS (M) to one end of the handle. Insert the screw and tighten. Repeat step above to attach the remaining bracket on the other side.

- STEP 12: Using four BOLTS (U), WASHERS (R) and NUTS (Q), install the assembled WORKING PLATFORM on the right side of the cart (same side as wheels).
- STEP 13: Using four BOLTS (U), WASHERS (R) and NUTS (Q), Install the assembled HANDRAIL on the left side of the cart (opposite the wheels).

Initial Setup Instructions
- Set popcorn popper on a level, dry surface. Gently squeeze the sides of the Olde Midway front metal panel to detach, then remove all packing material and wipe inside of kettle and popper with a dry cloth. (Fig. 1) DO NOT use harsh cleaners or abrasive chemicals. After the initial setup, maintain a regular care and maintenance plan.
- Hang KETTLE on the hook assembly (Fig. 2), securely seating and flush with the gears.
Note: Kettle roller arm should be facing the popcorn machine door. - Connect the power plug from the main unit’s ceiling with the socket on the bottom of the kettle.
- Slide the door posts into the hinge holes attached to the unit’s frame.

Controls

- WARM: Turns the warming light on an off.
- STIR: Automatically stirs the kettle.
- KETTLE: Turns the kettle on an off.
Accessories

Operating Instructions

- STEP 1: Plug into a grounded 120v electrical outlet only. If using an extension cord, make sure it’s out of the way to prevent tripping.
- STEP 2: Push WARM switch on. Push KETTLE switch on and immediately add oil (1 Tbsp per ½ cup kernels), allow to heat for 3-4 minutes. DO NOT HEAT KETTLE WITHOUT OIL. (Fig. 1)
- STEP 3: When oil is heated, open lid [CAUTION: LID IS HOT!] and add up to 2 kernel scoops (1 cup) of popcorn kernels (Fig. 2). Push STIR switch on (Fig. 3). Close the glass door carefully. Popcorn should begin popping in 2-3 minutes.
- STEP 4: When popping has stopped, push the STIR switch off, then KETTLE (Fig.3). Do not add seasoning or toppings into kettle.
- STEP 5: Gently rotate the kettle arm to dump popcorn kettle. CAUTION! KETTLE AND LID ARE HOT! Leave the WARM light on to warm the popcorn until served.
- STEP 6: Turn all controls off and unplug popper.
Cleaning & Maintenance
It is recommended that the machine and kettle be cleaned after each use when the popper has cooled. However, waiting to clean after a few popping sessions is acceptable.
- Make sure all controls (WARM, STIR, KETTLE) are OFF and the popcorn machine is unplugged and cool.
- Clean all surfaces with a dry or damp cloth or sponge. NEVER immerse the kettle or any other part of the machine in water.
- Do not use abrasive chemicals or cleaners on any part of the machine.
- Clean and dry thoroughly before any extended storage period.
Advanced Kettle Cleaning Technique
- After the machine has completely cooled for several hours add up to 3/4 cup of hot water (no detergents) into the kettle.
- Place a towel in the bottom of the unit with a large bowl on top (make sure bowl is large enough to collect all water from the kettle).
- Turn on STIR and KETTLE, then bring water to boil for 1 to 2 minutes.
- Turn off STIR and KETTLE, wait a few minutes, then carefully pour out water into bowl.
[CAUTION: KETTLE AND WATER WILL BE HOT!] - Repeat 2 to 3 times for best results.
Seasoning Recipes
Mix measurements suggested for 8-16 cups popped corn, according to taste.
| Bacon Parmesan 1/2 cup iodized salt 1/4 cup cooked bacon bits 1/4 cup grated parmesan cheese Combine and sprinkle over popcorn, then toss. | Pizza 1 tablespoon Parmesan cheese 1/2 teaspoon dried oregano 1 pinch of red pepper flakes. Sprinkle over popcorn, mix well. |
| Italian 1 tablespoon basil 1 tablespoon parsley 1/2 teaspoon garlic salt 1 teaspoon popcorn salt (or fine grain salt) 2 tablespoons olive oil Combine and drizzle over top of served popcorn. | Caramel Marshmallow Drizzle 1/2 cup brown sugar 1/2 cup salted butter 10 marshmallows Melt butter and sugar in sauce pan, add marshmallows, stir until melted. Immediately drizzle over popcorn. |
| Cinnamon Sugar 2 teaspoons sugar 1/4 teaspoon ground cinnamon Sprinkle over warm popcorn. | Spicy Sriracha 1 tablespoon melted butter 1 teaspoon sriracha Mix and drizzle over popcorn. |
| Taco 1/8 teaspoon coriander 1 teaspoon minced dried onion 2 teaspoons chili powder 2 teaspoons onion powder 1 teaspoon paprika 1 teaspoon garlic powder 1/2 – 1 teaspoon salt 1/2 teaspoon cumin Combine in bowl and sprinkle over popcorn. | Pumpkin Spice 3 tablespoons unsalted butter, melted 2 tablespoons packed light brown sugar 1 teaspoon pumpkin pie spice 1 Pinch of Salt (optional) 1/2 teaspoon instant espresso powder (or finely ground coffee grounds) Combine all ingredients and drizzle over popcorn, mix well. |
| Zesty Ranch 1 tablespoon onion powder 1/2 teaspoon garlic powder 1 tablespoon dried dill 1 tablespoon dried parsley 1 teaspoon sea salt 1 teaspoon ground black pepper Combine and sprinkle onto served popcorn. | Everything Bagel 1 tablespoon poppy seeds 1 tablespoon sesame seeds 1 tablespoon dried minced onion 1 tablespoon dried minced garlic salt, to taste Sprinkle over popcorn. |
| Cajun 4 tablespoons melted butter 1 tablespoon Cajun seasoning 1 teaspoon grated lemon zest 1/4 teaspoon cayenne 2 chopped scallions Combine, drizzle over popcorn, season with salt. | Cookies & Cream 10 chocolate and cream sandwich cookies 8oz White chocolate bar or chips Melt white chocolate according to package directions, sprinkle with finely crushed sandwich cookie crumbs, let set a few minutes and serve. |























