3206 CPS – Freestanding Leveling Feet

Installation
CPS – Freestanding leveling feet
Art.-Nr.: 3206
Installation manual

HAGOR Products GmbH | Oberbecksener Straße 97 | D-32547 Bad Oeynhausen | Telefon: +49(0)57 31-7 55 07-0 | Mail: [email protected]
Caution!
Technical devices are of considerable value. You should therefore handle the
components carefully during installation and protect them if necessary.
If necessary, the installation area should also be secured. Falling parts can cause
injuries and material damage.
The materials included in the scope of delivery may not be suitable for the special
conditions at the installation site. Please check this in advance and replace it
with suitable materials if necessary.
If you are unsure about the installation of the product or have any questions,
please contact us or other trained specialists.
Scope of delivery

1.

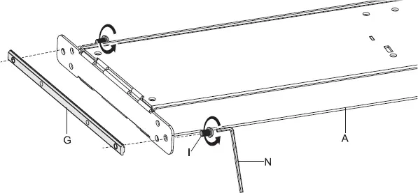
Please take care of the orientation. (A) in the drawing is the back side.

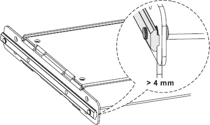
Do not over tighten the screw. Leave a gap of 4 mm. That way the crossbar (A) will slide into the two feet (B and C).
2.


3.


4.

5.

Assembly example
Dimensions


HAGOR Products GmbH | Oberbecksener Straße 97 | D-32547 Bad Oeynhausen | Telefon: +49(0)57 31-7 55 07-0 | Mail: [email protected]
Dimensions














