SHURE GLXD4R+ Wireless Receiver

System Overview
GLX-D+ wireless systems combine automatic frequency management technology with a rack-mountable metal receiver, rechargeable lithiumion batteries, worldrenowned microphones, and unparalleled design and construction. GLXD+ Frequency Managers (available separately) connect multiple GLXD4R+ receiver systems for increased channel count and improved RF reliability, consolidating RF to one pair of antennas. New antenna accessories help improve reception by letting you mount antennas closer to transmitters, with directional reception for improved performance. Available in a variety of bodypack and handheld configurations, GLX-D+ sets the standard for ease of operation and digital audio clarity.
Features
- Exceptional digital audio clarity
- Operates in 2.4 GHz and 5.8 GHz spectrum
- Optional GLX-D+ Frequency Manager allows operation of up to 16 systems Antenna accessories for remote mounting and improved reception
- Half-rack size and metal chassis
- Rechargeable batteries deliver cost efficiency
- Adjustable transmitter gain to optimize audio signal
- Automatically moves away from interference without audio interruption
- RF back-channel for remote control of transmitter functions
- Automatic transmitter power-off to conserve battery life when the transmitter is not in use
Receiver

- RF status LED
- ON = Linked transmitter is on
- Flashing = Searching for transmitter
- OFF = Linked transmitter off or transmitter unlinked
- Group button
- Press and hold for two seconds to enable manual group edit.
- Data sync LED
- ON = Data sync is on (receiver connected to GLX-D+ frequency manager) Flashing = Searching for frequencies
- OFF = Data sync is off (receiver not connected to GLX-D+ frequency manager)
- Link button
- Press to manually link receiver to a transmitter or to activate the remote ID function.
- Channel button
- Press to start a channel scan.
- Display
- Shows receiver and transmitter status.
- Gain buttons
- Press to increase or decrease transmitter gain in 1 dB increments.
- Battery charging indicator
- Illuminates when battery is in charging bay:
- Red = Battery charging
- Green Flashing = Battery charge at 90%
- Green = Battery charged
- Amber Flashing = Charging error, replace battery
- Battery charging bay
- Charges transmitter battery.
- Power button
- Powers the unit on and off.
- Antenna
- Two antennas per receiver. Antennas pick up the signal from the transmitter.
- Power supply port
- Connect the supplied 15 V DC external power supply.
- USB-C port
- Connect to computer to download firmware updates.
- Mic/Line switch
- Sets XLR output level to microphone or line level.
- XLR audio output
- Supplies microphone-level or line-level audio output.
- Inst/Aux output
- TRS ¼” (6.35mm) audio output. Connect to mixers, recorders, and amplifiers.
Receiver Screen
- Group
- Displays the selected group.
- Channel
- Displays the selected channel.
- Transmitter battery runtime
- Displays remaining battery life in hours and minutes.
- Alternatively displays the following battery status:
- CALC = Battery life calculation
- Lo = Battery life less than 15 minutes
- Err = Replace battery
- Audio meter
- Indicates audio signal level and peaks.
- Gain
- Displays transmitter gain settings (dB).
- OL indicator
- Indicates audio overload, reduce gain.
- Transmitter locked
- Displayed when linked transmitter controls are locked.
- Scanning
- Indicates a scan is in progress.
- Auto
- Indicates that the selected group has backup channels available.
Set Up the Receiver
- Attach the included antennas to the back of the receiver.
- Connect the PS43 power supply to the receiver and plug the cord into an AC power source.
- Connect the audio output to an amplifier or mixer.

Transmitters
- Antenna
- Carries wireless signal.
- Status LED
- LED color and state indicate transmitter status.
- Power switch
- Turns the transmitter on/off.
- TA4M input port
- Connects to a 4-Pin mini connector (TA4F) microphone or instrument cable.
- USB-C charging port
- Connect to USB battery charger.
- Link button
- Press and hold within 5 seconds of power-on to manually link with receiver.
- Press momentarily to activate remote ID function.
- Battery compartment
- Holds 1 Shure rechargeable battery.
- Microphone cartridge
- GLXD2+ transmitter models are available with the following cartridge types: SM58, Beta 58, Beta 87A.
Transmitter Status LED
- LED is green during normal operation.
- LED color or flashing indicates a change in transmitter status as shown in the following table:
| Color | State | Description |
|
Green | Flashing (slow) | Transmitter attempting relink with receiver |
| Flashing (fast) | Unlinked transmitter searching for receiver | |
| Flashes 3 times | Indicates locked transmitter when power switch is pressed | |
| Red | On | Battery life < 1 hour |
| Flashing | Battery life < 30 minutes | |
| Red/Green | Flashing | Remote ID active |
| Amber | Flashing | Battery error; remove and insert again, or replace battery |
Wearing the Bodypack
- Clip the bodypack to a belt or slide a guitar strap through the bodypack clip as shown.
- For best results, the belt should be pressed against the base of the clip.

Wearing the Headworn Microphone
- Position the headworn microphone 13 mm (1/2 in.) from the corner of your mouth.
- Position lavalier and headworn microphones so that clothing, jewelry, or other items do not bump or rub against the microphone.

Correct Microphone Placement
- Hold the microphone within 12 inches from the sound source.
- For a warmer sound with increased bass presence, move the microphone closer to the sound source.
- Do not cover grille with hand.
Install Transmitter Batteries
- Important: Always fully charge a new battery before first use.
Bodypack:
- Move the locking lever to the open position and slide the battery door open.
- Place the battery into the transmitter.
- Close the battery door.

Handheld:
- Unscrew and remove the battery cover.
- Place the battery into the transmitter.
- Replace and tighten the battery cover.

Batteries and Charging
- GLX-D+ transmitters are powered by Shure SB904 lithium-ion rechargeable batteries. Advanced battery chemistry maximizes runtimes with zero memory effects, eliminating the need to discharge batteries prior to charging.
- When not in use, recommended battery storage temperature is 10°C (50°F) to 25°C (77°F).
- Note: The transmitter will not pass RF or audio signals when connected to the charging cable.
- The following battery charging options are available:
Receiver Charging Bay
- The receiver’s built-in charging bay will charge transmitter batteries when the receiver is plugged in to a power outlet.
- Insert the battery into the charging bay.
- Monitor the battery charging indicator on the front panel.

Charging from an AC Power Source
- Plug the charging cable into the charging port on the transmitter.
- Plug the charging cable into an AC power source.

Charging Status LEDs
| LED Color | Description |
| Green (solid) | Device is fully charged |
| Red (solid) | Charging |
| Amber (flashing) | Out of temperature range, or battery error |
| Off | Power supply is disconnected, or no device is docked in the charging bay |
Charging Times and Transmitter Runtimes
- Use the following table to determine the approximate battery runtime based on the duration of charging time when in 5.8 GHz mode. Times shown are in hours and minutes. Transmitters automatically power-off after approximately 1 hour to conserve battery life if the signal from a linked receiver is not detected.
| Receiver Bay or AC Power Source Charging | Transmitter Runtime |
| 0:15 | up to 1:30 |
| 0:30 | up to 3:00 |
| 1:00 | up to 6:00 |
| 3:00 | up to 11:30* |
- Storage time or excessive heat will reduce maximum runtime.
- Note: If receiver is powered off and remains plugged in, battery will continue charging.
Important Tips for Care and Storage of Shure Rechargeable Batteries
- Proper care and storage of Shure batteries results in reliable performance and ensures a long lifetime.
- Always store batteries and transmitters at room temperature
- Ideally, batteries should be charged to approximately 40% of capacity for long-term storage
- During storage, check batteries every 6 months and recharge to 40% of capacity as needed
Tips to Improve Wireless System Performance
- If you encounter interference or dropouts, try the following suggestions:
- Place receiver at least 3 meters (10 feet) away from Wi-Fi access points, computers, or other active 2.4 GHz and 5.8
- GHz sources.
- Avoid heavy Wi-Fi traffic activities such as downloading large files or viewing a movie.
- Turn on any Wi-Fi prior to turning on receivers and scanning for the best channel.
- Reduce transmitter-to-receiver distance by placing receivers on stage or above the audience with a clear line of sight to the transmitter.
- Move receiver to the top of the equipment rack for a clear line of sight.
- Mount antennas remotely to place closer to transmitters and improve RF reliability if receivers cannot be moved closer.
- Make sure people do not block the line of sight between receiver and transmitter.


Additional Tips
- Do not place competitive 2.4 GHz and 5.8 GHz receivers near GLXD4R+ receivers.
- Connect more than two GLXD4R+ receivers to a GLX-D+ frequency manager to improve RF reliability.
- Scan for the best available channel by pressing the channel button.
- Keep transmitters more than 2 meters (6 feet) apart. This is less critical with shorter receiver-to-transmitter distances or if receivers are connected to a GLX-D+ frequency manager.
- Note: If transmitters are within 6 inches of non-GLX-D+ transmitters or microphone cartridges, audible noise is possible.
- Move transmitter and receiver away from metal or other dense materials.
- During sound check, mark trouble spots and ask performers to avoid those areas.
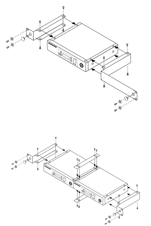
Rack-Mounting Instructions
- Use the supplied mounting hardware to install the receiver in a standard 19 inch audio equipment rack.

Remote Antenna Placement
- Follow these guidelines when mounting antennas remotely:
- Reduce distance between transmitter and antenna.
- Mount antennas farther from each other to improve performance.
- Position antennas so there is nothing obstructing the line of sight to the transmitter, including the audience.
- Keep antennas away from metal objects and any other antennas.
- Use only low-loss reverse SMA cable to avoid poor RF signal.
- Consult cable’s specifications and calculate signal loss for desired cable run.
- Use one continuous length of cable from the antenna to the receiver to increase signal reliability.
- Always perform a walkaround test to verify coverage before using a wireless system during a speech or performance.
- Experiment with antenna placement to find the optimum location.
- If necessary, mark any trouble spots and ask presenters or performers to avoid those areas.
System Set Up
- Important: Before beginning, turn off all receivers and transmitters. Turn on and link each receiver/transmitter pair one at a time to prevent cross-linking.
- Turn on a receiver.
- Press and hold the group button to select a group (if necessary). If the group is already set, press the channel button to scan for the best available channel.
- Turn on a transmitter. The blue RF LED will flash while the transmitter and receiver form a link. When the link has successfully formed, the RF LED will remain illuminated. The transmitter and receiver will remain linked for future usage.
- Repeat steps 1-3 for each additional receiver and transmitter. Remember to set each receiver to the same group.
- Note: Dashes appearing on the group and channel display after a channel selection indicate that frequencies are not available in the selected group. Choose a group that supports more receivers and repeat the linking steps.
Manually Linking Receivers and Transmitters
- Turn on a transmitter.
- Press and hold the link button on the transmitter until the LED begins to flash green.
- Press and hold the link button on the receiver. The blue RF LED will flash and then remain illuminated when the link has been established.
- Test the audio to verify the link.
Linking Two Transmitters to a Receiver
- Only one transmitter can be active at a time to prevent cross interference. Gain settings for each transmitter can be independently set and stored when the transmitter is active.
- Important! Do not turn on and operate both linked transmitters at any time. Turn off both transmitters before beginning.
- Press the group button to select a group. The receiver automatically scans the selected group to find the best available channel.
- Turn on transmitter 1 and link it to the receiver. Adjust the gain, and then turn off the transmitter.
- Turn on transmitter 2 and press and hold the link button on the transmitter and the receiver to link them together. Adjust the gain, and then turn off the transmitter.
Identifying Linked Transmitters and Receivers with Remote ID
- Use the remote ID feature to identify linked transmitter and receiver pairs in multiple receiver systems.
To activate remote ID:
- Momentarily press the link button on the transmitter or receiver.
- The screen of the linked receiver will blink and display ID, while the status LED on the linked transmitter will flash red/ green.
- To exit remote ID mode, momentarily press the link button or allow the function to timeout.
Multiple Receiver Systems
- To run more than two receivers at the same time, the GLX-D+ frequency manager is recommended to improve RF reliability (only compatible with GLXD4R+).
- However, you can run multiple receivers without the frequency manager. Select the group by determining the total number of receivers in your system. All receivers in the system must be set to the same group.
2.4 GHz and 5.8 GHz bands:
| Group | Number of Receivers | Description |
| 1 | 2 – 5 typical | Default setting |
| 2 | 2 – 5 typical | Best multi-channel group if you experience interference |
| 3 | 1 | Best single-channel group if you experience interference |
| A* | Up to 11 typical, 16 maxi mum | Default setting |
| B* | Best multi-channel group if you experience interference |
2.4 GHz bands only:
| Group | Number of Receivers | Description |
| 1 | 2 – 4 typical | Default setting |
| 2 | 2 – 4 typical | Best multi-channel group if you experience interference |
| 3 | 2 – 4 typical, 8 maximum | Only use Group 3 in controlled WiFi environments because there are no back up frequencies to avoid interference |
| 4 | 1 | Best single-channel group if you experience interference |
| A* | Up to 9 typical, 11 maxi mum | Default setting |
| B* | Best multi-channel group if you experience interference |
- Groups A and B are only for systems with a GLXD4R+ and GLXD+ frequency manager.
- See Tips to Improve Wireless System Performance for additional information. See the GLXD+FM user guide for information about receiver groups when connected to the GLX-D+ frequency manager.
Receiver Band Modes
- There are 3 band modes available for GLXD+ receivers. The band mode options are:
- 2.4 GHz-only mode
- 5.8 GHz-only mode
- Best band mode – 2.4 and 5.8 GHz (default)
To change the band mode:
- Press and hold the channel button while powering on the receiver. Continue to hold the channel button for approximately 5 seconds until the band selection menu opens.
- Press the up/down gain button to select a band mode. The screen will flash momentarily and scan for the best channel to use.
Note: Linked receivers and transmitters must be able to operate in the same band. Transmitters that don’t support the selected band mode will unlink from the
receiver
Gain Adjustment
- Momentarily press the gain buttons on the receiver to adjust the gain of a linked transmitter in 1 dB increments. For faster gain adjustments, press and hold the gain buttons.
- Tip: Monitor the audio and observe the receiver audio meter level while adjusting the gain to prevent signal overload.
Locking and Unlocking the Controls
- The controls of the receiver and transmitter can be locked to prevent unauthorized setting changes or poweroff.
- The lock status is not changed by power cycles.
Locking the Receiver Controls
- Simultaneously press and hold the group and channel buttons until LK appears on the screen. Repeat to unlock.
- LK is displayed if a locked control is pressed
- UN is displayed momentarily to confirm the unlock command
Locking the Transmitter Controls
- To lock directly from the transmitter:
- Start with the transmitter off, then press and hold the link button while turning on the transmitter. Release the link button when the transmitter powers on to prevent an accidental factory reset. The lock icon appears on the receiver screen when locked.
- Repeat sequence to unlock.
- To lock from the receiver front panel:
- Simultaneously press and hold the group and link buttons for approximately 2 seconds until the flashing lock icon appears on the receiver screen. Repeat sequence to unlock.
- Note: The transmitter status LED will flash if a locked switch is set to the off position.
Receiver Display Brightness
- To adjust the receiver display brightness, press and hold the group button and any gain button simultaneously. Use the gain buttons to set the brightness of the display to low, medium, or high.
- Low = Br 1
- Medium = Br 2
- High = Br 3
Firmware
- New versions of the firmware can be uploaded and installed using the Shure Update Utility tool.
- Download Shure Update Utility from shure.com
- To update your firmware, connect the device to your computer using a USB-C cable and open the Shure Update Utility.
Resetting Components
- Use the reset function if it is necessary to restore the transmitter or receiver to their factory settings.
Resetting the Receiver
- Restores the receiver to the following factory settings:
- Gain level = default
- Controls = unlocked
- Press and hold the link button while turning on the receiver power until the display shows RE.
- Note: When reset is complete, the receiver will automatically initiate linking to search for a transmitter. Press and hold the transmitter link button within five
seconds of powering-on to complete the link.
Resetting the Transmitter
- Restores the transmitter to the following factory settings:
- Controls = unlocked
- Press and hold the transmitter link button while turning on the transmitter until power LED turns off.
- When the link button is released, the transmitter will automatically initiate linking to find an available receiver. Press the link button on an available receiver to relink.
Troubleshooting
| Issue | Indicator Sta tus | Solution |
| No sound or a faint sound | Receiver RF LED on | Verify all sound system connections or adjust gain as needed. Verify that the receiver is connected to the mixer/amplifier. |
| Receiver RF LED off | Turn on the transmitter. Make sure the batteries are installed correctly. Link transmitter and receiver. |
| Issue | Indicator Sta tus | Solution |
| Charge or change transmitter battery. | ||
| Receiver dis play off | Make sure AC adapter is securely plugged into electrical outlet. Make sure receiver is powered on. | |
| Transmitter in dicator LED flashing red | Charge or change transmitter battery. | |
| Transmitter plugged into charger. | Disconnect transmitter from charger. | |
|
Audio artifacts or dropouts |
RF LED flicker ing or off | Change receiver and transmitter to a different group and/or channel. Identify nearby sources of interference (cell phones, Wi-Fi access points, signal processor, etc.) and shut down or remove source. Charge or change transmitter battery. Ensure that receiver and transmitter are positioned within system parameters. System must be set up within recommended range and receiver kept away from metallic surfaces. Transmitter must be used in line of sight from receiver for optimal sound. |
| Distortion | OL indicator ap pears on receiv er display | Reduce transmitter gain. |
|
Transmitter and receiver link unsuccessful | Transmitter and receiver LEDs flash to indicate that linking start ed, but the link fails |
Update both components to the latest firmware version. |
| Sound level variations when switching to different sources | N/A | Adjust transmitter gain as necessary. |
| Receiver/transmitter won’t turn off | Transmitter LED flashing rapidly | Controls locked. |
| Receiver gain control cannot be adjusted | N/A | Check transmitter. Transmitter must be on to enable gain changes. |
| Receiver controls cannot be adjusted | LK shown on re ceiver display when buttons are pressed |
Controls locked. |
| Issue | Indicator Sta tus | Solution |
| Transmitter ID function does not respond | Transmitter LED flashes green 3 times | Controls locked. |
| Transmitter information does not appear on the receiver dis play | N/A | Linked transmitter is off or the receiver is not linked to a transmitter. |
| Transmitter powers off after 1 hour | Transmitter sta tus LED off | Transmitters automatically turn off after 1 hour to conserve battery life if the signal from a linked receiver is not detected. Make sure that linked receiver is turned on. |
| Second frequency manager does not send RF signal to re ceivers | Data sync LED off | Verify that antenna A and antenna B ports on second frequency manager are connected to cascade A and cascade B ports on first frequency manager. |
|
RF interference while connect ed to frequency manager |
Receiver display flashes | Move system away from other 2.4 GHz and 5.8 GHz sources such as Wi-Fi access points or computers. If using directional antennas, place interference sources behind antennas in the null to minimize interference. Place receivers or directional antennas closer to trans mitters. |
Accessories
| Frequency Manager | GLXD+FM |
| Passive Directional Antenna | PA805DB-RSMA |
| Reverse SMA Passive Antenna Splitter | UA221DB-RSMA |
| Remote Antenna Mounting Bracket Kit | UA505-RSMA |
| 1/2 Wave Antenna, 45 deg. | UA8-2.4-5.8GHZ |
| 0.6 m (2 ft.) Reverse SMA Cable | UA802-RSMA |
| 1.8 m (6 ft.) Reverse SMA Cable | UA806-RSMA |
| 7.6 m (25 ft.) Reverse SMA Cable | UA825-RSMA |
| 15.2 m (50 ft.) Reverse SMA Cable | UA850-RSMA |
| 30.4 m (100 ft.) Reverse SMA Cable | UA8100-RSMA |
| Reverse SMA Bulkhead Adapters, lockwasher, nut | 95A32436 |
| Cable, Instrument, 2.5 foot (.75 m), 4 Pin Mini Connector (TA4F) to 1/4inch Connec tor. | WA302 |
| Cable, Instrument, 2-foot (0.7m), 4-pin Mini Connector (TA4F) with Right-Angle 1/4- inch Connector, used with Shure Wireless Bodypack Transmitters | WA304 |
| Rack Tray | URT2 |
| Shure Rechargeable Battery | SB904 |
| USB-C Battery Charger | SBC10-USBC |
| Premium Guitar Cable TQG Threaded Connector | WA305 |
| Power Supply | PS43 |
Specifications
Tuning Bandwidth
| Z2 | 2400 – 2483.5 MHz |
| Z3 | 2400 – 2483.5 MHz and 5725 – 5850 MHz |
| Z4 | 2400 – 2483.5 MHz and 5725 – 5875 MHz |
| Z5 | 2400 – 2483.5 MHz and 5725 – 5825 MHz |
- Dependent on frequency band
Transmit Mode
- Shure proprietary digital
RF Output Power
- 10 mW E.I.R.P. maximum
Ambient Temperature Range
| Charging: | 0°C (32°F) to 40°C (104°F) |
| Operating: | 0°C (32°F) to 45°C (113°F) |
Polarity
- Positive pressure on microphone diaphragm (or positive voltage applied to tip of WA302 phone plug) produces positive voltage on pin 2 (with respect to pin 3 of lowimpedance output) and the tip of the high impedance 1/4-inch output.
Audio Frequency Response
- 20 Hz – 20 kHz
Dynamic Range
- 120 dB, A-weighted
RF Sensitivity
- 88 dBm, typical
Total Harmonic Distortion
- 0.07%, typical
Battery Life
- Up to 11.5 hours
Channel Count
| Without Frequency Manager | Up to 4 typical, 8 optimal | 2.4 GHz only: Up to 4 typical, 5 optimal |
| With Frequency Manager | Up to 11 typical, 16 optimal | 2.4 GHz only: Up to 9 typical, 11 optimal |
GLXD4R+
Power Requirements
- 14.5 V – 17 V, 600 mA (efficiency level VI power supply)
Antenna Type
- Dual-band ½ Wave Sleeve Dipole
Dimensions
- 7.7 x 6.4 x 1.6 in. (196.8 x 162.97 x 41.8 mm), without antenna
Weight
- 30.5 oz (866 g)
Housing
- Steel
- Spurious Rejection > 35 dB, typical
Gain Adjustment Range
- 18 to 42 dB, 1 dB increments
Phantom Power Protection
- Yes
AUDIO OUTPUT:
- Configuration
| XLR Output | Balanced |
| 6.35 mm (1/4″) output | Impedance balanced |
Impedance
| XLR Output | 100 Ω |
| 6.35 mm (1/4″) output | 100 Ω (50 Ω, Unbalanced) |
Full-Scale Output
| 6.35 mm (1/4″) | +12 dBV |
| XLR | LINE setting = +18 dBV, MIC setting = -12 dBV |
Mic/Line Switch
30 dB pad
Pin Assignments
| XLR Output | 1=ground, 2=hot, 3=cold |
| 6.35 mm (1/4″) connector | Tip=audio, Ring=no audio, Sleeve=ground |
RECEIVER ANTENNA INPUT:
Impedance
- 50 Ω
- Maximum Input Level
-20 dBm
GLXD1+
- Power Requirements
| Shure Rechargeable Li-Ion Battery | SB904 |
| USB Power Supply (US/Canada) | SBC10-USB15WSUSTWJ |
Antenna Type
- Dual-band Internal Monopole
Dimensions
- 4.5 x 2.6 x 1.1 in. (115 x 66.94 x 28.51 mm), (H x W x D)
Weight
- 5.4 oz (153.1 g), without battery
Housing
- Aluminum alloy, ABS plastic
Input Impedance
- 900 kΩ
TX INPUT:
- Connector
- 4-pin male mini connector (TA4M)
Maximum Input Level
- +8.4 dBV (7.5 Vp-p)
Configuration
- Unbalanced
Pin Assignments
| 1 | Ground (cable shield) |
| 2 | + 5 V bias |
| 3 | Audio |
| 4 | Tied through active load to ground (on instru ment adapter cable, pin 4 floats) |
GLXD2+
Power Requirements
| Shure Rechargeable Li-Ion Battery | SB904 |
| USB Power Supply (US/Canada) | SBC10-USB15WSUSTWJ |
Dimensions
9.69 in. (246 mm)
Weight
| SM58 | 9.7 oz (275 g), without battery |
| BETA 58 | 7.9 oz (225 g), without battery |
| BETA 87A | 9.3 oz (265 g), without battery |
Housing
- Aluminum alloy, ABS plastic
- Maximum Input Level
| SM58 | 146 dB SPL |
| BETA 58 | 147 dB SPL |
| BETA 87A | 147 dB SPL |
- SB904
- Battery Type
- Rechargeable Li-Ion
- Nominal Capacity
- 2420 mAh (8.71 Wh)
- Nominal Voltage
- 3.6 V
- Dimensions
- 2.87 x 0.83 x 0.82 inches (72.8 x 20.96 x 20.80 mm), (H x W x D)
- Weight
- 1.89 oz. (53.7 g)
- Housing
- PC/ABS
Ambient Temperature Range
| Charging: | 0°C (32°F) to 40°C (104°F) |
| Operating: | 18 °C (0 °F) to 45 °C (113 °F) |
SBC10-904
- DC Input Voltage
- 5 V
- Ambient Temperature Range
- Operating:
- 0°C (32°F) to 40°C (104°F)
SBC10-USB15W Power Supply
- Input Voltage Range
- 100 to 240 V AC
- Maximum Input Power
- 600 mA @ 100 V AC (full load)
- Output Voltage
- 5 v DC @ 3 A
- Maximum Output Power
- 15 W
SBC10-USB Power Supply
- Input Voltage Range
- 100 to 240 V AC
- Maximum Input Power
- 200 mA @ 100 V AC (full load)
- Output Voltage
- 5 v DC @ 1 A
- Maximum Output Power
- 5 W
Diagrams
Frequency Tables
Z2 (2.4 GHz only)
| Group 1 | ||||||||||||||
| Gr 1 – Ch 1 | 2424 | 2425 | 2442 | 2443 | 2462 | 2464 | ||||||||
| Gr 1 – Ch 2 | 2418 | 2419 | 2448 | 2450 | 2469 | 2471 | ||||||||
| Gr 1 – Ch 3 | 2411 | 2413 | 2430 | 2431 | 2476 | 2477 | ||||||||
| Gr 1 – Ch 4 | 2405 | 2406 | 2436 | 2437 | 2455 | 2457 | ||||||||
| Group 2 | ||||||||||||||
| Gr 2 – Ch 1 | 2423 | 2424 | 2443 | 2444 | 2473 | 2474 | ||||||||
| Gr 2 – Ch 2 | 2404 | 2405 | 2426 | 2427 | 2456 | 2457 | ||||||||
| Gr 2 – Ch 3 | 2410 | 2411 | 2431 | 2432 | 2448 | 2449 | ||||||||
| Gr 2 – Ch 4 | 2417 | 2418 | 2451 | 2452 | 2468 | 2469 | ||||||||
| Gr 2 – Ch 5 | 2437 | 2438 | 2462 | 2463 | 2477 | 2478 | ||||||||
| Group 3 | ||||||||||||||
| Gr 3 – Ch 1 | 2415 | 2416 | 2443 | |||||||||||
| Gr 3 – Ch 2 | 2422 | 2423 | 2439 | |||||||||||
| Gr 3 – Ch 3 | 2426 | 2427 | 2457 | |||||||||||
| Gr 3 – Ch 4 | 2447 | 2448 | 2468 | |||||||||||
| Gr 3 – Ch 5 | 2409 | 2451 | 2452 | |||||||||||
| Gr 3 – Ch 6 | 2431 | 2462 | 2463 | |||||||||||
| Gr 3 – Ch 7 | 2404 | 2473 | 2474 | |||||||||||
| Gr 3 – Ch 8 | 2435 | 2477 | 2478 | |||||||||||
| Group 4 | ||||||||||||||
| 2404 | 2406 | 2408 | 2410 | 2412 | 2414 | |||||||||
| 2416 | 2418 | 2420 | 2422 | 2424 | 2426 | |||||||||
| 2428 | 2430 | 2432 | 2434 | 2436 | 2438 | |||||||||
| 2440 | 2442 | 2444 | 2446 | 2448 | 2450 | |||||||||
| 2452 | 2454 | 2456 | 2458 | 2460 | 2462 | |||||||||
| 2464 | 2466 | 2468 | 2470 | 2472 | 2474 | |||||||||
| Group 4 | |||||
| 2476 | 2478 | ||||
| Group A | |||||
| 2405 | 2412 | 2418 | 2425 | 2431 | 2438 |
| 2444 | 2450 | 2457 | 2464 | 2471 | 2477 |
| Group B | |||||
| 2404 | 2409 | 2414 | 2419 | 2425 | 2431 |
| 2436 | 2441 | 2446 | 2452 | 2458 | 2463 |
| 2468 | 2473 | 2478 | |||
Z3
| Group 1 (2.4 GHz) | ||||||||
| Gr 1 – Ch 1 | 2405 | 2323 | 2441 | 2465 | ||||
| Gr 1 – Ch 2 | 2411 | 2429 | 2447 | 2471 | ||||
| Gr 1 – Ch 3 | 2417 | 2435 | 2453 | 2477 | ||||
| Group 2 (2.4 GHz) | ||||||||
| Gr 2 – Ch 1 | 2404 | 2424 | 2444 | 2464 | ||||
| Gr 2 – Ch 2 | 2409 | 2429 | 2449 | 2469 | ||||
| Gr 2 – Ch 3 | 2414 | 2434 | 2454 | 2474 | ||||
| Gr 2 – Ch 4 | 2419 | 2439 | 2459 | 2478 | ||||
| Group 3 (2.4 GHz) | ||||||||
| 2405 | 2408 | 2411 | 2414 | 2417 | 2420 | |||
| 2423 | 2426 | 2429 | 2432 | 2435 | 2438 | |||
| 2441 | 2444 | 2447 | 2450 | 2453 | 2456 | |||
| 2459 | 2462 | 2465 | 2468 | 2471 | 2474 | |||
| 2477 | ||||||||
| Group A (2.4 GHz) | ||||||||
| 2405 | 2411 | 2417 | 2423 | 2429 | 2435 | |||
| 2441 | 2447 | 2453 | 2459 | 2465 | 2471 | |||
| 2477 | ||||||||
| Group B (2.4 GHz) | ||||||||
| 2404 | 2409 | 2414 | 2419 | 2424 | 2429 | |||
| 2434 | 2439 | 2444 | 2449 | 2454 | 2459 | |||
| 2464 | 2469 | 2474 | 2478 | |||||
| Group 1 (5.8 GHz) | ||||||||
| Gr 1 – Ch 1 | 5730 | 5760 | 5790 | 5820 | ||||
| Gr 1 – Ch 2 | 5736 | 5766 | 5796 | 5826 | ||||
| Gr 1 – Ch 3 | 5742 | 5772 | 5802 | 5832 | ||||
| Gr 1 – Ch 4 | 5748 | 5778 | 5808 | 5838 | ||||
| Gr 1 – Ch 5 | 5754 | 5784 | 5814 | 5845 | ||||
| Group 2 (5.8 GHz) | ||||||||
| Gr 2 – Ch 1 | 5729 | 5759 | 5789 | 5819 | ||||
| Gr 2 – Ch 2 | 5734 | 5764 | 5794 | 5824 | ||||
| Gr 2 – Ch 3 | 5739 | 5769 | 5799 | 5829 | ||||
| Gr 2 – Ch 4 | 5744 | 5774 | 5804 | 5836 | ||||
| Gr 2 – Ch 5 | 5749 | 5779 | 5809 | 5841 | ||||
| Gr 2 – Ch 6 | 5754 | 5784 | 5814 | 5846 | ||||
| Group 3 (5.8 GHz) | ||||||||
| 5730 | 5733 | 5736 | 5739 | 5742 | 5745 | |||
| 5748 | 5751 | 5754 | 5757 | 5760 | 5763 | |||
| 5766 | 5769 | 5772 | 5775 | 5778 | 5781 | |||
| 5784 | 5787 | 5790 | 5793 | 5796 | 5799 | |||
| 5802 | 5805 | 5808 | 5811 | 5814 | 5817 | |||
| 5820 | 5823 | 5826 | 5829 | 5832 | 5835 | |||
| 5838 | 5841 | 5845 | ||||||
| Group A (5.8 GHz) | ||||||||
| 5730 | 5736 | 5742 | 5748 | 5754 | 5760 | |||
| 5766 | 5772 | 5778 | 5784 | 5790 | 5796 | |||
| 5802 | 5808 | 5814 | 5820 | 5826 | 5832 | |||
| 5838 | 5845 | |||||||
| Group B (5.8 GHz) | |||||
| 5729 | 5734 | 5739 | 5744 | 5749 | 5754 |
| 5759 | 5764 | 5769 | 5774 | 5779 | 5784 |
| 5789 | 5794 | 5799 | 5804 | 5809 | 5814 |
| 5819 | 5824 | 5829 | 5836 | 5841 | 5846 |
Z4
| Group 1 (2.4 GHz) | ||||||||
| Gr 1 – Ch 1 | 2405 | 2323 | 2441 | 2465 | ||||
| Gr 1 – Ch 2 | 2411 | 2429 | 2447 | 2471 | ||||
| Gr 1 – Ch 3 | 2417 | 2435 | 2453 | 2477 | ||||
| Group 2 (2.4 GHz) | ||||||||
| Gr 2 – Ch 1 | 2404 | 2424 | 2444 | 2464 | ||||
| Gr 2 – Ch 2 | 2409 | 2429 | 2449 | 2469 | ||||
| Gr 2 – Ch 3 | 2414 | 2434 | 2454 | 2474 | ||||
| Gr 2 – Ch 4 | 2419 | 2439 | 2459 | 2478 | ||||
| Group 3 (2.4 GHz) | ||||||||
| 2405 | 2408 | 2411 | 2414 | 2417 | 2420 | |||
| 2423 | 2426 | 2429 | 2432 | 2435 | 2438 | |||
| 2441 | 2444 | 2447 | 2450 | 2453 | 2456 | |||
| 2459 | 2462 | 2465 | 2468 | 2471 | 2474 | |||
| 2477 | ||||||||
| Group A (2.4 GHz) | ||||||||
| 2405 | 2411 | 2417 | 2423 | 2429 | 2435 | |||
| 2441 | 2447 | 2453 | 2459 | 2465 | 2471 | |||
| 2477 | ||||||||
| Group B (2.4 GHz) | ||||||||
| 2404 | 2409 | 2414 | 2419 | 2424 | 2429 | |||
| 2434 | 2439 | 2444 | 2449 | 2454 | 2459 | |||
| 2464 | 2469 | 2474 | 2478 | |||||
| Group 1 (5.8 GHz) | ||||||||
| Gr 1 – Ch 1 | 5730 | 5766 | 5802 | 5838 | ||||
| Gr 1 – Ch 2 | 5736 | 5772 | 5808 | 5844 | ||||
| Gr 1 – Ch 3 | 5742 | 5778 | 5814 | 5851 | ||||
| Gr 1 – Ch 4 | 5748 | 5784 | 5820 | 5858 | ||||
| Gr 1 – Ch 5 | 5754 | 5790 | 5826 | 5864 | ||||
| Gr 1 – Ch 6 | 5760 | 5796 | 5832 | 5870 | ||||
| Group 2 (5.8 GHz) | ||||||||
| Gr 2 – Ch 1 | 5729 | 5764 | 5799 | 5834 | ||||
| Gr 2 – Ch 2 | 5734 | 5769 | 5804 | 5839 | ||||
| Gr 2 – Ch 3 | 5739 | 5774 | 5809 | 5850 | ||||
| Gr 2 – Ch 4 | 5744 | 5779 | 5814 | 5856 | ||||
| Gr 2 – Ch 5 | 5749 | 5784 | 5819 | 5861 | ||||
| Gr 2 – Ch 6 | 5754 | 5789 | 5824 | 5866 | ||||
| Gr 2 – Ch 7 | 5759 | 5794 | 5829 | 5871 | ||||
| Group 3 (5.8 GHz) | ||||||||
| 5730 | 5733 | 5736 | 5739 | 5742 | 5745 | |||
| 5748 | 5751 | 5754 | 5757 | 5760 | 5763 | |||
| 5766 | 5769 | 5772 | 5775 | 5778 | 5781 | |||
| 5784 | 5787 | 5790 | 5793 | 5796 | 5799 | |||
| 5802 | 5805 | 5808 | 5811 | 5814 | 5817 | |||
| 5820 | 5823 | 5826 | 5829 | 5832 | 5835 | |||
| 5838 | 5841 | 5844 | 5847 | 5851 | 5855 | |||
| 5858 | 5861 | 5864 | 5867 | 5870 | ||||
| Group A (5.8 GHz) | ||||||||
| 5730 | 5736 | 5742 | 5748 | 5754 | 5760 | |||
| 5766 | 5772 | 5778 | 5784 | 5790 | 5796 | |||
| 5802 | 5808 | 5814 | 5820 | 5826 | 5832 | |||
| 5838 | 5844 | 5851 | 5858 | 5864 | 5870 | |||
| Group B (5.8 GHz) | |||||
| 5729 | 5734 | 5739 | 5744 | 5749 | 5754 |
| 5759 | 5764 | 5769 | 5774 | 5779 | 5784 |
| 5789 | 5794 | 5799 | 5804 | 5809 | 5814 |
| 5819 | 5824 | 5829 | 5834 | 5839 | 5844 |
| 5850 | 5856 | 5861 | 5866 | 5871 | |
Z5
| Group 1 (2.4 GHz) | ||||||||
| Gr 1 – Ch 1 | 2405 | 2323 | 2441 | 2465 | ||||
| Gr 1 – Ch 2 | 2411 | 2429 | 2447 | 2471 | ||||
| Gr 1 – Ch 3 | 2417 | 2435 | 2453 | 2477 | ||||
| Group 2 (2.4 GHz) | ||||||||
| Gr 2 – Ch 1 | 2404 | 2424 | 2444 | 2464 | ||||
| Gr 2 – Ch 2 | 2409 | 2429 | 2449 | 2469 | ||||
| Gr 2 – Ch 3 | 2414 | 2434 | 2454 | 2474 | ||||
| Gr 2 – Ch 4 | 2419 | 2439 | 2459 | 2478 | ||||
| Group 3 (2.4 GHz) | ||||||||
| 2405 | 2408 | 2411 | 2414 | 2417 | 2420 | |||
| 2423 | 2426 | 2429 | 2432 | 2435 | 2438 | |||
| 2441 | 2444 | 2447 | 2450 | 2453 | 2456 | |||
| 2459 | 2462 | 2465 | 2468 | 2471 | 2474 | |||
| 2477 | ||||||||
| Group A (2.4 GHz) | ||||||||
| 2405 | 2411 | 2417 | 2423 | 2429 | 2435 | |||
| 2441 | 2447 | 2453 | 2459 | 2465 | 2471 | |||
| 2477 | ||||||||
| Group B (2.4 GHz) | ||||||||
| 2404 | 2409 | 2414 | 2419 | 2424 | 2429 | |||
| 2434 | 2439 | 2444 | 2449 | 2454 | 2459 | |||
| 2464 | 2469 | 2474 | 2478 | |||||
| Group 1 (5.8 GHz) | ||||||||
| Gr 1 – Ch 1 | 5730 | 5754 | 5778 | 5802 | ||||
| Gr 1 – Ch 2 | 5736 | 5760 | 5784 | 5808 | ||||
| Gr 1 – Ch 3 | 5742 | 5766 | 5790 | 5814 | ||||
| Gr 1 – Ch 4 | 5748 | 5772 | 5796 | 5820 | ||||
| Group 2 (5.8 GHz) | ||||||||
| Gr 2 – Ch 1 | 5729 | 5753 | 5778 | 5803 | ||||
| Gr 2 – Ch 2 | 5733 | 5758 | 5783 | 5808 | ||||
| Gr 2 – Ch 3 | 5738 | 5763 | 5788 | 5813 | ||||
| Gr 2 – Ch 4 | 5743 | 5768 | 5793 | 5817 | ||||
| Gr 2 – Ch 5 | 5748 | 5773 | 5798 | 5821 | ||||
| Group 3 (5.8 GHz) | ||||||||
| 5730 | 5733 | 5736 | 5739 | 5742 | 5745 | |||
| 5748 | 5751 | 5754 | 5757 | 5760 | 5763 | |||
| 5766 | 5769 | 5772 | 5775 | 5778 | 5781 | |||
| 5784 | 5787 | 5790 | 5793 | 5796 | 5799 | |||
| 5802 | 5805 | 5808 | 5811 | 5814 | 5817 | |||
| 5820 | ||||||||
| Group A (5.8 GHz) | ||||||||
| 5730 | 5736 | 5742 | 5748 | 5754 | 5760 | |||
| 5766 | 5772 | 5778 | 5784 | 5790 | 5796 | |||
| 5802 | 5808 | 5814 | 5820 | |||||
| Group B (5.8 GHz) | ||||||||
| 5729 | 5734 | 5739 | 5744 | 5749 | 5754 | |||
| 5759 | 5764 | 5769 | 5774 | 5779 | 5784 | |||
| 5789 | 5794 | 5799 | 5804 | 5809 | 5814 | |||
| 5820 | ||||||||
IMPORTANT SAFETY INSTRUCTIONS
- READ these instructions.
- KEEP these instructions.
- HEED all warnings.
- FOLLOW all instructions.
- DO NOT use this apparatus near water.
- CLEAN ONLY with dry cloth.
- DO NOT block any ventilation openings. Allow sufficient distances for adequate ventilation and install in accordance with the manufacturer’s instructions.
- DO NOT install near any heat sources such as open flames, radiators, heat registers, stoves, or other apparatus (including amplifiers) that produce heat. Do not place any open flame sources on the product.
- DO NOT defeat the safety purpose of the polarized or grounding type plug. A polarized plug has two blades with one wider than the other. A grounding type plug has two blades and a third grounding prong. The wider blade or the third prong are provided for your safety. If the provided plug does not fit into your outlet, consult an electrician for replacement
of the obsolete outlet. - PROTECT the power cord from being walked on or pinched, particularly at plugs, convenience receptacles, and the point where they exit from the apparatus.
- ONLY USE attachments/accessories specified by the manufacturer.
- USE only with a cart, stand, tripod, bracket, or table specified by the manufacturer, or sold with the apparatus. When a cart is used, use caution when moving the cart/apparatus combination to avoid injury from tip-over.
- UNPLUG this apparatus during lightning storms or when unused for long periods of time.
- REFER all servicing to qualified service personnel. Servicing is required when the apparatus has been damaged in any way, such as power supply cord or plug is damaged, liquid has been spilled or objects have fallen into the apparatus, the apparatus has been exposed to rain or moisture, does not operate normally, or has been dropped.
- DO NOT expose the apparatus to dripping and splashing. DO NOT put objects filled with liquids, such as vases, on the apparatus.
- The MAINS plug or an appliance coupler shall remain readily operable.
- The airborne noise of the Apparatus does not exceed 70dB (A).
- Apparatus with CLASS I construction shall be connected to a MAINS socket outlet with a protective earthing connection.
- To reduce the risk of fire or electric shock, do not expose this apparatus to rain or moisture.
- Do not attempt to modify this product. Doing so could result in personal injury and/or product failure.
- Operate this product within its specified operating temperature range.
- This symbol indicates that dangerous voltage constituting a risk of electric shock is present within this unit.
- This symbol indicates that there are important operating and maintenance instructions in the literature accompanying this unit.
- In the European Union and the United Kingdom, this label indicates that the batteries in this product should be collected separately and not be disposed of with household waste. Substances in batteries can have a potential negative impact on health and environment and you have a role in recycling waste batteries thus contributing to the protection, preservation, and im provement of the quality of the environment. You should contact your local authority or retailer for details of the collection and recycling schemes available.
- Please consider the environment, electric products and packaging are part of regional recycling schemes and do not belong to regular household waste.
WARNING
- Battery packs may explode or release toxic materials. Risk of fire or burns. Do not open, crush, modify, disassemble, heat above 140°F (60°C), or incinerate.
- Follow instructions from manufacturer
- Only use Shure charger to recharge Shure rechargeable batteries
WARNING: Danger of explosion if battery incorrectly replaced. Replace only with same or equivalent type.
- Never put batteries in mouth. If swallowed, contact your physician or local poison control center
- Do not short circuit; may cause burns or catch fire
- Do not charge or use battery packs other than Shure rechargeable batteries
- Dispose of battery packs properly. Check with local vendor for proper disposal of used battery packs.
- Batteries (battery pack or batteries installed) shall not be exposed to excessive heat such as sunshine, fire or the like
- Do not immerse the battery in liquid such as water, beverages, or other fluids.
- Do not attach or insert battery with polarity reversed.
- Keep away from small children.
- Do not use abnormal batteries.
- Pack the battery securely for transport.
Note:
- This equipment is intended to be used in professional audio applications.
- EMC conformance is based on the use of supplied and recommended cable types. The use of other cable types may degrade EMC performance.
- Use this battery charger only with the Shure charging modules and battery packs for which it is designed. Use with other than the specified modules and battery packs may increase the risk of fire or explosion.
- Changes or modifications not expressly approved by Shure Incorporated could void your authority to operate this equipment.
Information to the user
- This equipment has been tested and found to comply with the limits for a Class B digital device, pursuant to part 15 of the FCC Rules. This equipment generates, uses, and can radiate radio frequency energy and, if not installed and used in accordance with the manufacturer’s instruction manual, may cause interference with radio and television reception.
- Notice: The FCC regulations provide that changes or modifications not expressly approved by Shure Incorporated could void your authority to operate this equipment.
- These limits are designed to provide reasonable protection against harmful interference in a residential installation. This equipment generates, uses, and can radiate radio frequency energy and, if not installed and used in accordance with the instructions, may cause harmful interference to radio communications. However, there is no guarantee that interference will not occur in a particular installation. If this equipment does cause harmful interference to radio or television reception, which can be determined by turning the equipment off and on, the user is encouraged to try to correct the interference by one or more of the following measures:
- Reorient or relocate the receiving antenna.
- Increase the separation between the equipment and the receiver.
- Connect the equipment to an outlet on a circuit different from that to which the receiver is connected.
- Consult the dealer or an experienced radio/TV technician for help.
This device complies with part 15 of the FCC Rules. Operation is subject to the following two conditions:
- This device may not cause harmful interference.
- This device must accept any interference received, including interference that may cause undesired operation.
Certified under FCC Part 15.
- Shure has determined that this product is a Class B harmonized product. The following sections provide country-specific EMC/
- EMI or product safety information
Certifications
- FCC ID: DD4GLXD4RZ3, DD4GLXD1Z3, DD4GLXD2Z3 IC: 616A-GLXD4RZ3, 616A-GLXD1Z3, 616A-GLXD2Z3 CAN ICES-003 (B)/NMB-003(B)
- Changes or modifications not expressly approved by the manufacturer could void the user’s authority to operate the equipment.
- The antenna(s) must be installed such that a minimum separation distance of 20 cm is maintained between the radiator (antenna) and all persons at all times.
- This equipment complies with FCC radiation exposure limits set forth for an uncontrolled environment. This equipment should be installed and operated with minimum distance 20 cm between the radiator & your body.
- This product meets the applicable Innovation, Science and Economic Development Canada technical specifications. Certified by ISED in Canada under RSS-247 and RSS-GEN.
This device contains licenceexempt transmitter(s)/receiver(s) that comply with Innovation, Science and Economic Development
Canada’s license-exempt
- RSS(s). Operation is subject to the following two conditions:
- This device may not cause interference.
- This device must accept any interference, including interference that may cause undesired operation of the device.
- This equipment complies with FCC and ISED radiation exposure limits set forth for an uncontrolled environment. End user must follow the specific operating instructions for satisfying RF exposure compliance. This transmitter must not be co-located or operating in conjunction with any other antenna or transmitter.
- Connection and use of this communications equipment is permitted by the Nigerian Communications Commission.
Waste Electrical and Electronic Equipment (WEEE) Directive
- In the European Union and the United Kingdom, this label indicates that this product should not be disposed of with household waste. It should be deposited at an appropriate facility to enable recovery and recycling.
- Registration, Evaluation, Authorization of Chemicals (REACH) Directive
- REACH (Registration, Evaluation, Authorization of Chemicals) is the European Union (EU) and the United Kingdom (UK) chemical substances regulatory framework. Information on substances of very high concern contained in Shure products in a concentration above 0.1% weight overweight (w/w) is available upon request.
CE Notice:
- Hereby, Shure Incorporated declares that this product with CE Marking has been determined to be in compliance with the European
Union requirements. The full text of the EU declaration of conformity is available at the following site: - https://www.shure.com/en-EU/support/declarations-of-conformity.
- Authorized European Importer / Representative:
- Shure Europe GmbH
- Department: Global Compliance
- Jakob-Dieffenbacher-Str. 12
- 75031 Eppingen, Germany
- Phone: +49-7262-92 49 0
- Fax: +49-7262-92 49 11 4
- Email: [email protected]
UKCA Notice:
- Hereby, Shure Incorporated declares that this product with UKCA Marking has been determined to be in compliance with UKCA requirements. The full text of the UK declaration of conformity is available at the following site: https://www.shure.com/en-GB/support/declarations-of-conformity.
References
Shure: Microphones, Wireless microphones, in-ear monitoring, earphones, headphones
Anatel — Agência Nacional de Telecomunicações
Documentation Finder - Shure Europe
Shure: Microphones, Wireless microphones, in-ear monitoring, earphones, headphones
Documentation Finder - Shure Europe
Documentation Finder - Shure United Kingdom

































