KIMAFUN KM-G70 Wireless Microphone System

General Introduction
- Thank you for purchasing KIMAFUN KM-G70 Wireless Microphone System. This product is only for sound collection and needs to be used with other devices such as speakers and mixers. This product uses 2.46 wireless international universal frequency band, which is a technology permitted by law in various countries/regions. Before using this product, please check whether the package is complete and whether the appearance of the product is damaged.
- This system includes a clip-on transmitter with built-in microphone anda receiver with 1/8″ (3.5mm) plug. Transmitter’s built-in microphone can provide excellent sound quality. The lightweight and compact shape make the transmitter suitable for using on clothes. The transmitter has an external microphone interface, which can be inserted an additional lavalier microphone. The receiver has a 1/8″ (3.5mm) stereo plug and is equipped with a 1/4″ (6.35mm) adapter, which can be used for speakers, mixers, PA and other equipment. This product is ideal for people who need sound reinforcement, such as teachers and hosts.
- If you encounter any problems in use, please contact the customer service staff through your order on the platform, so that the we can quickly respond to your message. If you do not receive a reply or are not sure where to contact the customer service staff, please send your question to the following email address with your purchase channel and order number. We will process it for you as soon as possible. If you can attach pictures/videos related to the problem, we will deal with your problem more clearly and quickly.
Email address: [email protected]
Packing List
KM-G70
- 1x KM-G70 TX
- 1x KM-G70 RX
- 1x 6.35mm Adapter
- 1x Lavalier Microphone
- 1x High-Wind Fur Windscreen for TX Transmitter
- 1x Micro USB to Type-C Dual-head Charging Cable
- 1x User Manual
- 1x Carrying Bag
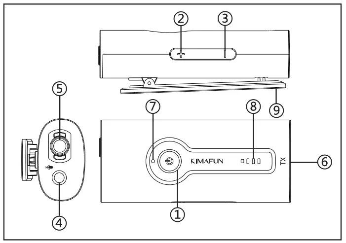
Product Structure
KM-G70 TX

- Power Button
- Volume + Button
- Volume – Button
- 3.5mm External Microphone Jack
- Built-in Microphone
- Type-C 5V Charging Port
- Pairing Indicator
Displays the current matching status, indicator flashing means that the matching is unsuccessful. - Battery Indicator
- Back Clip
KM-G70 RX

- Power Button
- Pairing Indicator
Displays the current matching status, indicator flashing means that the matching is unsuccessful. - Pairing Button
Use this button to re-pair the receiver and transmitter. Please follow point 2 of the “Operation Guide” to set up. - 3.5mm TRS 3 Pole Stereo Jack
- Type-C 5V Charging Port
- Battery Indicator
Operation Guide
- The transmitter and receiver are powered by built-in lithium battery, please fully charge them before use.
TIP: Please use the Type-C charging cable in the package to charge. It can be used continuously for 8 hours after being fully charged for 1 hour.
When charging, the battery indicator will display the current charging progress, and all four bars of the indicator are on, indicating that the battery is fully charged. - Long press the power button of the transmitter and receiver for 3 seconds to turn on them, and they will match automatically. After the pairing is successful, the pairing indicator will stay blue.
TIP: If the transmitter and receiver can’t match, please re-pair them. Setting steps: Turn on the receiver and long press the pairing button, the pairing indicator will flash quickly. Turn on the transmitter and long press the volume + and – buttons at the same time, the pairing indicator will flash quickly and they will rematch. The receiver’s pairing indicator staying blue means the pairing is successful. Long press the volume+ and – buttons of the transmitter at the same time to end the matching status, then you can use this system. - The transmitter can be used in 3 ways.

- Keep your speaker off and turn down the volume. Connect the receiver to appropriate adapter and plug it into the equipment such as speakers, amplifiers, mixers, etc.

- Turn on your speaker to test the microphone volume, and adjust the volume to a suitable level through the volume buttons on transmitter and your speaker. Please do not point the microphone at the sounding surface of the speaker during testing to avoid howling.
- The microphone can be muted by turning down the volume on the transmitter to minimum when using the microphone.
Specification
| Transmitter | Receiver | |
| Frequency Response | 20-20KHz | |
| Wireless Distance | 30-S0M | 30-S0M |
| Lithium Battery Voltage | 3.7VS00mA | 3.7V400mA |
| Charging Port | Type-C SV/1-2A | Type-C SV/1-2A |
| Working Time | 8H | 8H |
| Charging Time | lH | lH |
| Size | 39*24*46mm | 39*24*56mm |
| Weight | 28g | 36g |
| Directivity | Omnidirectional | |
| Capsule | Condenser | |
| Sensitivity | -40dB± 2dB |
Troubleshooting
- No Sound
- Match failed. If the pairing indicator keeps flashing, it means the match fails and needs to be re-pair. Please follow point 2 of “Operation Guide” to set up. If you order an additional receiver to use with the system, please re-pair the receiver with the previous transmitter before use.
- The battery is about to run out. Please fully charge this product before use.
- This product cannot be used on devices with power less than 15W, such as portable mini bluetooth spealkers. When used on devices with power less than 100W, the sound effect will be lower than expected. It is recommended that you use this system on devices with power of more than 100W.
- Please turn up the volume of the transmitter and your equipment.
- Noise
- Excessive output volume will cause noise. Please check the output volume of the transmitter and turn it down appropriately.
- Please use the included high-wind fur windscreen to reduce wind noise.
- Please check if there is a strong magnetic field or sound wave interference nearby.
- This wireless system uses 2.4G transmission technology, and may be interfered by signals from 2.4G wireless devices on the same frequency. If you encounter a lot of noise when using, please turn off unnecessary 2.4G wireless devices nearby as much as possible to reduce the noise.
- Faint voice
- The wrong way to wear the microphone. Make ure there is nothing to cover the microphone condenser and keep the microphone away from the sound source about 20-25cm (8-10inches).
- Check the volume setting. You can increase the volume of the transmitter and speaker.
- The battery is about to run out. Please fully charge this product before use.
- Howling
- Please adjust the position of the transmitter and speaker. Do not point the microphone directly at the speaker.
- Try turning off the reverb and turning down the volume.
- The actual transmission distance is less than 5OM.
Obstacles will reduce wireless signal transmission. In an open area, the transmission distance can reach more than 50M. Please try to avoid obstacles between the transmitter and receiver.
FCC Caution
- This device complies with part 15 of the FCC Rules. Operation is subject to the following two conditions:
- This device may not cause harmful interference
- this device must accept any interference received, including interference that may cause undesired operation.
- Any Changes or modifications not expressly approved by the party responsible for compliance could void the user’s authority to operate the equipment.
- Note: This equipment has been tested and found to comply with the limits for a Class B digital device, pursuant to part 15 of the FCC Rules. These limits are designed to provide reasonable protection against harmful interference in a residential installation. This equipment generates uses and can radiate radio frequency energy and, if not installed and used in accordance with the instructions, may cause harmful interference to radio communications. However, there is no guarantee that interference will not occur in a particular installation.
- If this equipment does cause harmful interference to radio or television reception, which can be determined by turning the equipment off and on, the user is encouraged to try to correct the interference by one or more of the following measures:
- Reorient or relocate the receiving antenna.
- Increase the separation between the equipment and receiver.
- Connect the equipment into an outlet on a circuit different from that to which the receiver is connected.
- Consult the dealer or an experienced radio/TV technician for help.
- The device has been evaluated to meet general RF exposure requirement. The device can be used in portable exposure condition without restriction.




















