GT10 Wireless Microphone
User Manual
Introduction
Thanks for choosing our product.
This product is a smart wireless microphone that provides, professional-grade recording output.Plug and play,no app required.
Multiple uses, It can be used in online live broadcast video Nog, shooting, program interview, recording, video teaching and other occasions.
The wireless Microphone consists of two parts, one is Microphone. Transmitter, the other one is receiver, ( See as below picture )
Some mobile APPs support external microphones, but the OTG part of the settings page of the mobile phone is tamed off, which will cause the connection to fall. In this case, please search for OTG in the settings bar on the mobile phone page, turn it on, and enable the product to connect and use normally.
Some mobile phone apps do not support external microphones, which will cause silent recording, In this case, please replace the app and continue to use the product.
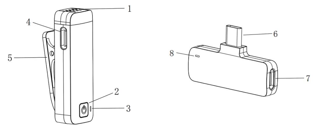
ID Diagram

- Windproof net
- Switch key
- Microphone indicator
- Mkrophone charging port
- Microphone clip
- Mobile interface
- The port of receiver
- Receiver indicator
The microphone is equipped with a built-in battery, which can be used only after being charged The power of the receiver is supplied by phone 7 The port is for phone charging
How to use
Stepl: Connect the receiver to the phone interface.
Step2: Press switch key of microphone, the indicator light turns bule, and then power is turned on.
Step3: After successful automatic pairing, the bule light at the receiving end is always on and the bule light at the transmitting end is always on, Then open the phone camera, live App or other Apps, and then to use the microphone to receive sound.
About UI
Microphone Transmitter
| Function | How to use | Lighting effect |
| Power on | Press switch key about 3 seconds | Blue light on |
| Power off | Press switch key about 3 seconds | Lights out |
| Charging | Charging with data line | Charging red light flashes, full light off |
| Search for a match | Blue light flashing | |
| Paired successfully | Blue light is always on | |
| Noise reduction mode | Automatic noise reduction | |
| Low battery alarm | Battery is below 20% | red light flashing |
| Reset | Press and hold the power key |
Receiver
| Function | How to use | Lighting effect |
| Power on | Plug in the device | Red Light On |
| Power off | Plug off the device | Light Off |
| Search for a match | Red light and blue Relight flashing | |
| Paired successfully | Blue light is always on |
Packing List
Content of packing
- Microphone transmitter
- Receiver
- Charging line
- User manual
This device complies with Part 15 of the FCC Rules. Operation is subject to the following two conditions: (1) this device may not cause harmful interference, and (2) this device must accept any interference received, including interference that may cause undesired operation
NOTE: This equipment has been tested and found to comply with the limits for a Class B digital device, pursuant to Part 15 of the FCC Rules. These limits are designed to provide reasonable protection against harmful interference in a residential installation. This equipment generates, uses and can radiate radio frequency energy and, if not installed and used in accordance with the instructions, may cause harmful interference to radio communications. However, there is no guarantee that interference will not occur in a particular installation. If this equipment does cause harmful interference to radio or television reception, which can be determined by turning the equipment off and on, the user is encouraged to try to correct the interference by one or more of the following measures:
— Reorient or relocate the receiving antenna.
— Increase the separation between the equipment and receiver.
— Connect the equipment into an outlet on a circuit different from that to which the receiver is connected.
— Consult the dealer or an experienced radio/TV technician for help.
Warning: changes or modifications not expressly approved by the party responsible for compliance could void the user’s authority to operate the equipment.
The devices has been evaluated to meet general RF exposure requirement the device can be used in portable exposure condition without estriction.
![]()


















