SereneLife Folding Treadmill Motorized Running Machine

IMPORTANT: Read all instructions carefully before using this product. Retain this owner’s manual for future reference. The specifications of this product may vary from this photo and are subject to change without prior notice
IMPORTANT SAFETY INSTRUCTIONS
Basic precautions, including the following important safety instructions should always be followed when using this treadmill. Read all instructions before using this treadmill.
DANGER:
To reduce the risk of electric shock, always unplug the treadmill from the electrical outlet immediately after using and before cleaning, assembling, or servicing the treadmill.
Failure to follow these instructions may lead to personal injury and cause damage to the treadmill.
WARNING:
To reduce the risk of burns, fire, electric shock or injury to any persons, please read the following:
- Never leave the treadmill unattended while plugged in. Disconnect by turning off the master power switch and unplugging from wall outlet when not in use and before putting on or taking off parts.
- Use this appliance only for its intended use as described in this manual. Do not use attachments not recommended by the manufacturer.
- Never operate this treadmill if it has a damaged cord or plug, or if it is not working properly. If it has been dropped or damaged, or been exposed to water, return the appliance to a service center for examination and repair.
- Do not attempt any maintenance or adjustments other than those described in this manual. Should any problems arise, discontinue use and consult an Authorised Service Representative.
- Never operate the appliance with the air openings blocked. Keep the air openings free of lint, hair, and other obstructions.
- Do not use the treadmill outdoors.
- Do not pull the treadmill by its power cord or use the cord as a handle.
- Keep children and pets away from the equipment while in use.
- Elderly or disabled users should only use this treadmill in the presence of an adult who can provide assistance if required.
- Do not operate where aerosol (spray) products are being used or where oxygen is being administered.
- Keep dry – do not operate in a wet or moist condition.
- The motor cover can become hot while the treadmill is in use. Do not place the treadmill on a blanket or other flammable surface as this can create a fire hazard.
- Keep electrical cord away from heated surfaces.
- Keep the treadmill on a solid, level surface with a minimum safety area clearance of two meters around the treadmill. Be sure the area around the treadmill remains clear of any obstructions during use.
- This treadmill is for domestic household use only.
- Only one person should use the treadmill at a time.
- Wear comfortable and suitable clothing when using the treadmill. Do not use the treadmill barefoot or in socks. Always wear appropriate, enclosed athletic footwear. Never wear loose or baggy clothing as it can become caught on the treadmill and create an entrapment hazard.
- Always hold on to the handrails while using the treadmill.
- Always make sure the spring knob and round knob are in place when folding and moving the treadmill.
- Do not leave children who are under 12 years-old unsupervised near or on the treadmill.
- To disconnect, turn all controls to the off position, then remove plug from the wall outlet.
- This appliance is not intended for use by persons (including children) with reduced physical, sensory or mental capabilities, or lack of experience and knowledge, unless they have been given supervision or instruction concerning use of the appliance by a person responsible for their safety.
- Children should not be allowed to play on or near the treadmill at any time.
- CAUTION – RISK OF INJURY TO PERSONS – To avoid injury, use extreme caution when stepping onto or off of a moving treadmill belt. Carefully read this instruction manual before use.
- Maximum Weight Capacity is up to 265+ lbs.
- Pull out the Safety Tether Key for emergency stop.
- This unit must be plugged into a nominal 220-240 volt 50 Hz outlet which has been grounded.
- Keep hands clear of all moving parts. Never place hands or feet under the treadmill while in use.
- Do not use the treadmill on a carpet that is greater than 1.3 cm in height.
- Before using the treadmill, check that the belt is aligned and centered on the running deck and all visible fasteners on the treadmill are sufficiently tightened and secure.
- Children shall not play with the appliance.
- Cleaning and user maintenance shall not be made by children without supervision.
- If the supply cord is damaged, it must be replaced by the manufacturer, its service agent or similarly qualified persons persons in order to avoid a hazard.
- Never operate this treadmill if it is in the folded position.
- Allow the running belt to fully stop and unplug the power cord from the wall outlet before folding up the treadmill.
- Always face towards the computer console and do not run backwards on the running belt.
WARNING:
Before beginning any exercise program consult your physician. This is especially important for people who are over 35 years old or who have pre-existing health problems. Read all instructions before using any fitness equipment. Do not operate this exercise equipment without properly fitted guards, as the moving parts can present a risk of serious injury if exposed.
CAUTION:
Read all instructions carefully before operating this product. Retain this Owner’s Manual for future reference.
TOOL KIT

ASSEMBLY INSTRUCTIONS

Step 1
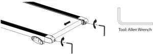
It is recommended to have a second person assist with this step. Lift both Right and Left Handlebar Support Tubes up. One person should hold the both Right and Left Handlebar Support Tubes in place while the other person tightens the bolts. Lift both Right and Left Handlebar Support Tubes up and align bolt holes. Use two M8x50 Hexagon Socket Oval Head Bolts (S1) and two M8 Spring Washers (S2) to secure both Right and Left Handlebar Support Tubes onto the Base Frame.
Use two M8x16 Hexagon Socket Oval Head Bolts (S3) to secure both Right and Left Handlebar Support Tubes onto the Base Frame. Semi-tighten all bolts with the Allen Wrench provided.
NOTE: DO NOT FULLY TIGHTEN BOLTS IN STEP 1 UNTIL STEP 2 IS COMPLETED.

STEP 2
It is recommended to have a second person assist with this step. One person should hold the Computer Console in place while the other person connects the cables. Connect the Main Control Cable from the Right Handlebar Support Tube to the cable that comes from the Computer Console.
Install the Handlebar Bracket onto the Right and Left Handlebar Support Tubes using two M8x16 Hexagon Socket Oval Head Bolts (S3).
MPORTANT:
- While sliding the Handlebar Bracket onto the Right and Left Handlebar
- Support Tubes make sure the cables are installed inside the Right Handlebar
- Support Tube and pay attention not to pinch the cables.
NOW PLEASE FULLY TIGHTEN ALL BOLTS INSTALLED IN STEP 1.
Step 3
A. Remove one Flat Head Phillips Screw from both sides of the Frame. Attach the Rear Left Cover onto the left side of the Frame. Align the holes and secure the Rear Left Cover using the one Flat Head Phillips Screws, that were previously removed by Allen Wrench.
B. Align the holes and secure the Rear Right Cover using the one Flat Head Phillips Screws that were previously removed by Allen Wrench.
OPERATING THE COMPUTER

NOTE: Always stand on the side rails when you start the treadmill, never start the treadmill while you are standing on the running belt
QUICK START
Press the START button on the computer to start exercise, the LCD window will countdown 3 seconds with the LCD showing “3-2-1” before the running belt starts moving. The running belt starts moving with an initial speed of 0.6 MPH. Always allow the treadmill to reach a speed of 0.6 MPH before stepping on to the running belt. You may press the SPEED + or SPEED - button on the computer console or handlebar to increase or decrease the running speed during exercise. The split window of SPEED will display your current running speed. The speed range is from the minimum 1.0 MPH to the maximum 6.0 MPH. You may also press one of the INSTANT SPEED buttons (3/4/5) on the computer console and the split window of SPEED will display the speed that you have pressed and the running speed will change to 3 MPH, 4 MPH or 5 MPH respectively. The split window of TIME will display your elapsed workout time in minutes and seconds. The split window of DISTANCE will display the accumulative distance travelled during workout. The split window of CALORIES will display the total accumulated calories burned during workout. The split window of PULSE will display your current heart rate in beats per minute (BPM). To activate, grip the hand pulse sensors on both handlebars during exercise and the pulse will display after 4-5 seconds. For a more accurate reading, grip pulse sensors with both hands.
During training, you may press the STOP button on the computer console to stop the treadmill running at any time, or pull out the safety tether key to stop the treadmill running.
START: Press the START button to start training on different training mode.
PAUSE/STOP: Press Pause/Stop button during exercise to interrupt the program (motor stops running).
Within 4 min. you can press Start button to continue this exercise program or press Pause/Stop button again to finish this program. Pre-values can set to zero by pressing the Pause/Stop button.
PROG (PROGRAM): Press the PROG button to select the pre-set training program (P01-P12) mode before training.
MODE: Press the MODE button to select different functions (time, distance, or calories) for setting exercise goals in manual program mode before training
SPEED + (SPEED UP): Press the SPEED + button to make upward adjustments for pre-setting target training time, distance, or calorie in manual program mode before training. Press the SPEED + button to make upward adjustments for pre-setting target training time in pre-set training program (P01-P12) mode before training.
Makes speed adjustments during all training periods on different training modes. The speed range is from 0.6 MPH to 6.0 MPH.
SPEED – (SPEED DOWN): Press the SPEED - button to make backward adjustments for pre-setting target training time, distance, or calorie in manual program mode before training. Press the SPEED - button to make backward adjustments for pre-setting target training time in pre-set training program (P01-P12) mode before training. Makes speed adjustments during all training periods on different training modes. The speed range is from 0.6 MPH to 6.0MPH
INSTANT SPEED (3/4/5): Used to reach desired speed more quickly.
PULSE/cal: During exercise mode, press the PULSE/cal button to switch display the pulse and calories values on the split window of PULSE/CAL..
DISPLAY FUNCTIONS
TIME: Displays your elapsed workout time in minutes and seconds. Press the START button on the computer to begin exercising, the LCD window will countdown 3 seconds with the LCD showing “3-2-1” before the running belt starts moving. The running belt starts moving with an initial speed of 0.6 MPH. You may press the SPEED + or SPEED - button on the computer console or handlebar to increase or decrease the running speed during exercise. Time starts counting up from 0:00 to 99:59 per 1 second increment.
SPEED: Displays the current speed from the minimum 0.6 MPH to the maximum 6.0 MPH. You may increase or decrease the speed by pressing the SPEED + or SPEED - button on the computer console or handlebar.
DISTANCE: Displays the accumulative distance travelled during workout. Press the START button on the computer to begin exercising, the LCD window will countdown 3 seconds with the LCD showing “3-2-1” before the running belt starts moving. The running belt starts moving with an initial speed of 0.6 MPH.
You may press the SPEED + or SPEED - button on the computer console or handlebar to increase or decrease the running speed during exercise. Distance starts counting up.
CALORIES: Displays the total calories burned during your workout. Press the START button on the computer to begin exercising, the LCD window will countdown 3 seconds with the LCD showing “3-2-1” before the running belt starts moving. The running belt starts moving with an initial speed of 1.0 MPH. You may press the SPEED + or SPEED - button on the computer console or handlebar to increase or decrease the running speed during exercise. Calorie starts counting up. (This data is a rough guide for comparison of different exercise sessions and should not be used in medical treatment).
PULSE: Displays your current heart rate in beats per minute (BPM). To activate, grip the hand pulse sensors during exercise and the pulse will display after 2-5 seconds. For a more accurate reading, grip pulse sensors with both hands.
Connect Your Tablet or Mobile Device to Your Machine
You can download the app using the OR codes shown here or search in your store.
Minimum compatibility specifications for mobile device; android 5.0 or higher with Wireless BT 4.0, iOS 8.0 or higher
Notes on using the App:
As an android user, please make sure that under “Settings -> Device Security” the “Unknown sources” is set by ensuring it is ticked.
Please remember to turn on the Wireless BT feature on your device.
The QR code at the beginning of the manual will guide you to various YouTube tutorials.
There you can access more information about the App and the device.
How to use:
Turn on the Wireless BT function of your mobile device. Open the application on your device. Click on in the main menu on the button “Indoor” to search for available devices.
Choose the shown device from the list to pair it. Once the device is paired you can start using the application in different categories:
- Quick Run
- Map Mode
- Target Mode
Please understand that we are not able to offer you a complete operation guide of the application inside this manual, as the app will be updated from time to time.
This process can make changes to the operation or the design of the application. Please refer to the instructions inside the specific app download store or contact us.
| Turn on Bluetooth capability on your device and make it discoverable, choose the shown device “BTMP3” to pair it. Once the device is paired you can start using the application on your device to play, pause and adjust the volume. etc. |
TRAINING IN MANUAL PROGRAM MODE
You may pre-set target TIME, DISTANCE, or CALORIES in STOP mode before training.
Only one of the functions can be pre-set.
To set TIME press the MODE button on the computer console until you see the split window of TIME begin blinking. Press the SPEED + or SPEED - button on the computer console or handlebar to change the setting.
Each increment is 1 minute. The pre-set target time range is from 5:00 to 99:00 minutes. Once you pre-set target time, press the START button on the computer to begin exercising. The running belt starts moving with an initial speed of 0.6 MPH. You may press the SPEED + or SPEED - button on the computer console or handlebar to increase or decrease the running speed during exercise. Time starts counting down from pre-set target time to 0:00 per 1 second backward. When the pre-set target time counts down to 0:00, the computer will beep to alert you and the treadmill will stop automatically
To set DISTANCE press the MODE button on the computer console until you see the window of DISTANCE begin blinking. Press the SPEED + or SPEED - button on the computer console to change the setting. The pre-set target distance range is from 0.5 99.5 miles , the default distance is 1 mile . Once you pre-set target distance, press the START button on the computer to begin exercising. The running belt starts moving with an initial speed of 0.6 MPH. You may press the SPEED + or SPEED - button on the computer console or handlebar to increase or decrease the running speed during exercise. Distance starts counting down from pre-set target distance to 0.00. When the pre-set target distance counts down to 0.00, the computer will beep to alert you and the treadmill will stop automatically
To set CALORIES press the MODE button on the computer console until you see the window of CALORIES begin blinking. Press the SPEED + or SPEED - button on the computer console to change the setting. The pre-set target calorie range is from 10 to 995 calories. Once you pre-set target calories, press the START button on the computer to begin exercising. The running belt starts moving with an initial speed of 0.6 MPH. You may press the SPEED + or SPEED - button on the computer console or handlebar to increase or decrease the running speed during exercise. calories start counting down from pre-set target calories to 0. When the pre-set target calories counts down to 0, the computer will beep to alert you and the treadmill will stop automatically
| Program | Speed (MPH) | |||||||||||||||||||
| P1 | 1.5 | 2.0 | 2.0 | 2.5 | 3.0 | 2.0 | 2.5 | 3.0 | 3.0 | 2.0 | 2.5 | 3.0 | 2.5 | 2.5 | 2.5 | 1.5 | 2.0 | 2.0 | 3.0 | 2.0 |
| P2 | 1.5 | 2.5 | 2.5 | 3.0 | 3.5 | 2.5 | 3.5 | 3.5 | 3.5 | 2.5 | 3.0 | 3.5 | 2.5 | 2.5 | 2.5 | 1.5 | 1.5 | 3.0 | 2.5 | 1.5 |
| P3 | 1.5 | 2.5 | 2.5 | 3.5 | 3.5 | 2.5 | 4.0 | 4.0 | 4.0 | 2.5 | 4.0 | 4.0 | 2.5 | 2.5 | 2.5 | 1.5 | 2.5 | 3.0 | 2.0 | 1.5 |
| P4 | 2.0 | 3.0 | 3.0 | 3.5 | 4.0 | 4.0 | 3.0 | 4.0 | 4.0 | 5.0 | 5.0 | 3.0 | 5.5 | 3.0 | 3.0 | 3.5 | 3.5 | 2.5 | 2.5 | 2.0 |
| PS | 1.5 | 2.5 | 2.5 | 3.0 | 3.5 | 4.0 | 4.0 | 3.0 | 3.5 | 4.0 | 5.0 | 5.0 | 3.0 | 2.5 | 2.5 | 3.5 | 3.0 | 3.0 | 2.5 | 1.5 |
| P6 | 1.5 | 2.5 | 2.0 | 2.5 | 3.0 | 2.5 | 5.0 | 4.0 | 3.0 | 4.0 | 5.0 | 2.0 | 3.5 | 2.5 | 2.5 | 1.5 | 3.0 | 2.5 | 2.0 | 1.5 |
| P7 | 1.5 | 2.0 | 2.0 | 2.0 | 2.5 | 3.0 | 2.0 | 2.5 | 3.0 | 2.0 | 2.5 | 3.0 | 2.0 | 2.0 | 2.0 | 3.5 | 3.5 | 3.0 | 2.0 | 2.0 |
| PS | 1.5 | 2.0 | 2.0 | 3.5 | 4.0 | 4.0 | 2.5 | 3.5 | 4.0 | 2.5 | 2.5 | 2.5 | 3.5 | 4.0 | 2.5 | 2.5 | 2.5 | 1.5 | 2.0 | 1.5 |
| P9 | 1.5 | 2.5 | 2.5 | 4.0 | 4.0 | 2.5 | 4.0 | 5.0 | 2.5 | 5.0 | 5.5 | 5.5 | 2.5 | 2.5 | 2.5 | 3.0 | 3.5 | 2.0 | 2.0 | 1.5 |
| P10 | 1.5 | 2.5 | 3.0 | 3.5 | 4.0 | 3.0 | 2.5 | 3.5 | 5.0 | 5.0 | 3.5 | 3.5 | 3.0 | 2.5 | 2.5 | 1.5 | 2.5 | 2.5 | 2.0 | 2.0 |
| P11 | 2.0 | 2.5 | 3.0 | 5.5 | 3.0 | 5.5 | 3.0 | 3.0 | 3.0 | 5.5 | 5.5 | 3.0 | 3.0 | 3.0 | 5.5 | 5.5 | 5.0 | 4.0 | 3.5 | 2.0 |
| P12 | 1.5 | 3.0 | 5.0 | 6.0 | 4.0 | 4.0 | 6.0 | 6.0 | 4.0 | 4.0 | 6.0 | 6.0 | 3.5 | 3.5 | 5.5 | 5.5 | 3.0 | 3.0 | 2.5 | 2.0 |
LUBRICATION
Lubricating under the running belt will ensure superior performance and extend its life expectancy.
After the first 25 hours of use (or 2-3 months) apply some lubricant, and repeat for every following 50 hours of use (or 5-8 months).
How to check running belt for proper lubrication
Lift one side of the running belt and feel the top surface of the running deck. If the surface is slick to the touch, then no further lubrication is required. If the surface is dry to the touch, apply some lubricant.
How to apply lubricant
Lift one side of running belt. Pour some lubricant under the centre of the running belt on the top surface of the running deck. Run on the treadmill at a slow speed for 3 to 5 minutes to evenly distribute lubricant.
NOTE: DO NOT over lubricate running deck. Any excess lubricant that comes out should be wiped off.
EMERGENCY STOP

Before beginning a workout session ensure that the Safety Tether Key is properly placed onto the Computer Console and the Safety Clip is securely attached to an article of your clothing. If you fall the clip will pull out the SAFETY TETHER KEY from the Computer Console and the running belt will stop immediately for emergency stop, helping to prevent injury. Replaced the Safety Tether Key onto the Computer Console. Press the START button to begin exercise again.
BELT ADJUSTMENT
The running belt is pre-adjusted to the running deck at the factory, but after prolonged use it can stretch and require readjustment. To adjust the belt, turn on the main power switch of the treadmill and let the belt run at a speed of 4 -6 MPH. Use the Allen Wrench provided to turn the rear roller adjustment bolts in order to centre the belt. If the running belt is shifting to the left, turn the left adjustment bolt 1/4 turn clockwise, and the running belt should start to correct itself.
If the running belt is shifting to the right, then turn the right adjustment bolt 1/4 turn clockwise, and the belt should start to correct itself. Keep turning the adjustment bolts until the running belt is properly centered.
If the running belt is slipping during use, turn off and unplug the treadmill. Using the Allen Wrench provided, turn both left and right rear roller adjustment bolts 1/4 turn clockwise, then turn the main power switch back on and run the treadmill at a speed of 4-6 MPH. Run on to the running belt to determine if the belt is still slipping. Repeat this procedure until the belt no longer slips.
CARE, MAINTENANCE & TROUBLESHOOTING GUIDE
WARNING: To prevent electrical shock, please turn off and unplug the treadmill before cleaning or performing routine maintenance.
WARNING: Always check the wear and tear components like spring knob and running belt to prevent injury.
CLEANING
After each exercise, ensure that the unit is wiped down and any sweat is removed from the unit.
The treadmill can be cleaned with a soft cloth and mild detergent. Do not use abrasives or solvents.
Be careful not to get excessive moisture on the display panel as this might damage the unit and create an electrical hazard. Please keep the treadmill, especially the computer console, out of direct sunlight to prevent damage to the screen.
STORAGE
Store the treadmill in a clean and dry indoor environment. Never leave or use the unit outdoors. Ensure the master power switch is off and the power cord is un-plugged from wall outlet.
Problem | Potential Causes | Corrections |
| Treadmill will not start |
|
|
| Belt slips | Belt not tight enough | Adjust belt tension |
| Belt hesitates when stepped on |
|
|
| Belt is not centred | Running belt tension not even across the rear roller | Center the belt |
This product can expose you to a chemical or group of chemicals, which may include “Di (2-ethylhexyl) phthalate (DEHP)” which is known in the state of California to cause cancer, birth defects, or other reproductive harm. For more info, go to https://www.p65warnings.ca.gov/. |
WARM UP AND COOL DOWN ROUTINE
The WARM-UP is an important part of any workout. The purpose of warming up is to prepare your body for exercise and to minimize injuries. Warm up for two to five minutes before aerobic exercising. It should begin every session to prepare your body for more strenuous exercise by heating up and stretching your muscles, increasing your circulation and pulse rate, and delivering more oxygen to your muscles.
COOL DOWN at the end of your workout, repeat these exercises to reduce soreness in tired muscles.
The purpose of cooling down is to return the body to its resting state at the end of each exercise session.
A proper cool-down slowly lowers your heart rate and allows blood to return to the heart.
HEAD ROLLS
Rotate your head to the right for one count, you should feel a stretching
sensation up the left side of your neck. Then rotate your head back for one count, stretching your chin to the ceiling and letting your mouth open. Rotate your head to the left for one count, then drop your head to your chest for one count.
SHOULDER LIFTS
Lift your right shoulder toward your ear for one count. Then lift your left shoulder up for one count as you lower your right shoulder.
SIDE STRETCHES
Open your arms to the side and lift them until they are over your head. Reach your right arm as far toward the ceiling as you can for one count. Repeat this action with your left arm.
QUADRICEPS STRETCH
With one hand against a wall for balance, reach behind you and pull your right foot up.
Bring your heel as close to your buttocks as possible. Hold for 15 counts and repeat with left foot.
INNER THIGH STRETCH
Sit with the soles of your feet together and your knees pointing outward.
Pull your feet as close to your groin as possible. Gently push your knees toward the floor. Hold for 15 counts.
TOE TOUCHES
Slowly bend forward from your waist, letting your back and shoulders relax as you stretch toward your toes. Reach as far as you can and hold for 15 counts.
HAMSTRING STRETCHES
Extend your right leg. Rest the sole of your left foot against your right inner thigh. Stretch toward your toe as far as possible. Hold for 15 counts. Relax and then repeat with left leg.
CALF/ACHILLES STRETCH
Lean against a wall with your right leg in front of the left and your arms forward.
Keep your left leg straight and the right foot on the floor; then bend the right leg and lean forward by moving your hips toward the wall. Hold, then repeat on the other side for 15 counts.
Features
- Home Gym Digital Treadmill Design
- Displays & 12 Pre-set Program
- Simple Electric Motorized Plug-in Design
- Built-in Hand Grip Sensors for Pulse Monitoring
- Displays Run Time, Distance, Speed, Calories Burned, Heart Rate
- Includes Mobile Phone/Tablet,
- Supports Bluetooth Music and App, Support Kinomap and Zwift
- Large Multi-layer Tread Belt
- Powerful 1.0HP Power
- Durable, Steady and Easily Operated
- Preset Training Modes for Quick Exercise Sessions
- Adjustable Speed & Timer Settings
- Manual Style, Angle Adjustable Incline Levels
- Used for Walking, Jogging, Running Exercise Training
- Perfect for Weight Loss, Cardiovascular Fitness, Endurance & Stamina Building
- Integrated Safety Key, Emergency Power Off
- Hydraulic folding system
- Used for Indoor Exercise
- *Some Assembly Required
What’s in the Box
- (2) M8x40 Hexagon Socket Oval Head Bolts
- (2) M8 Nylon Nuts
- (4) M8x16 Hexagon Socket Oval Head Bolts
- (1) Safety Key (Emergency Stop)
- (1) Allen Key
Technical Specs
- Rated Voltage: 120V/60HZ
- Recommended Ages: Up to 35 years old
- Pre-set Target Calorie Range: Up to 10 to 995 Calories
- Incline Level Adjustment Type: Manual 4 Levels
- Adjustable Speed Setting: 0.6 – 6.0 MPH (Up to 10 KMH)
- Adjustable Timer Setting: 5 – 99 Minutes
- Maximum Weight Support: Up to 265+ lbs.
- Treadmill Motor Power: 1.0HP
- Product Weight: 59.5 lbs.
- Running Belt/Running Surface Size (L x W): 15.7” x 39.3” -inches
- Total Folded Dimension (L x W x H): 21.65” x 24.4” x 46.4” -inches
- Total Open Dimension (L x W x H): 50.7” x 24.4” x 46.4” -inches
Questions? Issues?
We are here to help!
Phone: (1) 718-535-1800
Email: [email protected]





This product can expose you to a chemical or group of chemicals, which may include “Di (2-ethylhexyl) phthalate (DEHP)” which is known in the state of California to cause cancer, birth defects, or other reproductive harm. For more info, go to 


















