inovonics EN1501 Pulse Meter Transmitter

Overview
The EN1501 pulse meter transmitter is a pulse counter which can be used for water, gas and electric submetering applications.
The pulse meter transmitter is available in North America, Australia and New Zealand; the radio frequency band has been configured for the appropriate geographic area at the factory.
Inovonics Contact Information
For product and installation videos visit us at www.inovonics.com/videos or use the QR code below.

If you have any problems with this procedure, contact Inovonics Wireless technical services:
- E-mail: [email protected]
- Phone: (800) 782-2709.
- Address: 11000 Westmoor Cir, Westminster, CO 80021, USA
EN1501 Components
Figure 1 EN1501 Components
A Battery
B Tamper switch
C Removable header terminal
D Reset button
What’s In The Carton
• Fifty drywall anchors.
• Fifty mounting screws.
• Fifty pieces of mounting tape.
Installation and Startup
Installation Notes
- These products are designed to be maintained by professional technicians.
- Products are tested for indoor use.
Input Requirements
The EN1501 requires the following input specifications for compatibility with the meter:
- A dry contact such as a reed switch.
- The pulse width of a switch output when it is activated must be greater than or equal to 10ms.
- A maximum rate of six pulses per second.
- Closed impedance of the pulser mechanism must be smaller than 1k ohm.
- Open impedance of the pulser mechanism must be greater than five megohms.
Connect Transmitter to Meter
Connect the transmitter to the meter as follows:
- Open the housing by pressing down on the base tab near the wiring through-hole while lifting away the cover.
- Fully insert stripped wires into the removable header terminal.
- Use a small Phillips screwdriver to tighten the screws that secure wires to the removable header terminal.
- Attach removable header terminal (if removed) to the transmitter board as shown.
Note: If connecting to a meter that has polarity to its pulse output, the negative (–) should be connected to the outside terminal, closest to the corner of the board.
Figure 2 Connect the Transmitter to the Meter
A Cabling through-hole
B Removable header terminal
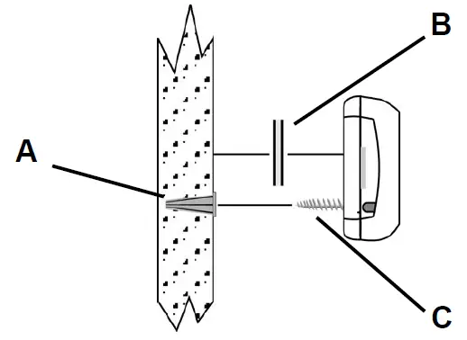
Mount the Transmitter
- Use the double-sided tape to mount the transmitter to a clean wall.
- As desired, secure the transmitter to the wall with the mounting screw and anchor.
Note: To secure the EN1501, you will need to remove the battery to access the mounting screw hole. Make sure to press the reset button after replacing the battery to initialize the transmitter.
Note: Ensure cabling enters the housing through the access wiring thru-hole, and replace the housing (Figure 2).
Figure 3 Mount the Transmitter
A Anchor installed in wall
B Double-sided tape
C Mounting screw
Register the Transmitter
- Confirm that transmitter is connected to the meter.
- Confirm that the battery is installed.
- Press the reset button to take the transmitter out of sleep/shipping mode.
- The red LED on the board will blink, indicating the transmitter has woken up.
- See the TapWatch Application User Manual for details about adding transmitters to a site.
Replace the Battery
When the low battery message is received, you will need to replace the EN1501 battery.
- Open the housing by pressing down on the base tab near the wiring through-hole while lifting away the cover.
- Remove the old battery, taking note of the battery orientation.
- Insert the new battery, making sure it is aligned correctly.
- Press the reset button.
Note: EN1501 transmitters retain programming data in non-volatile memory. They do not require reprogramming after loss of power. Install new battery and press the transmitter reset button to initialize the transmitter and restore programming. Its count will go to zero and the initial Meter Read count will be updated in the RF gateway.
Specifications
Dimensions: 3.57″ x 1.70″ x 0.85″.
Operating environment: -20°- 60°C (-4°- 140°F), 90% relative humidity, non-condensing.
Typical battery life: EN1501: 10 year battery life in a climate controlled environment with the specified Panasonic CR123A battery.
EN1501 Battery (BAT604): Panasonic CR123A 3.0V lithium battery. The battery is always supervised.
Television and Radio Interference
This equipment has been tested and found to comply with the limits for a Class B digital device, pursuant to Part 15 of the FCC Rules. These limits are designed to provide reasonable protection against harmful interference in a residential installation. This equipment generates, uses and can radiate radio frequency energy and, if not installed and used in accordance with the instructions, may cause harmful interference to radio communications. However, there is no guarantee that interference will not occur in a particular installation. If this equipment does cause harmful interference to radio or television reception, which can be determined by turning the equipment off and on, the user is encouraged to try to correct the interference by one or more of the following measures:
- Reorient or relocate the receiving antenna.
- Increase the separation between the equipment and receiver.
- Connect the equipment into an outlet on a circuit different from that to which the receiver is connected.
- Consult the dealer or an experienced radio/TV technician for help.
FCC Part 15 and Innovation, Science and Economic Development Canada (ISED) Compliance
This device complies with part 15 of the FCC Rules, and ISED license-exempt RSS standard(s). Operation is subject to the following two conditions: (1) this device may not cause interference, and (2) this device must accept any interference that may cause undesired operation of the device.
Radiation Exposure Limits
FCC
This equipment complies with FCC radiation exposure limits set forth for an uncontrolled environment. In order to avoid the possibility of exceeding the FCC radio frequency exposure limits, human proximity to the antenna shall not be less than 20 cm during normal operation and must not be co-located or operating in conjunction with any other antenna or transmitter.
ISED
This equipment complies with ISED RSS-102 radiation exposure limits set forth for an uncontrolled environment. This transmitter must be installed to provide a separation distance of at least 20 cm from all persons and must not be co-located or operating in conjunction with any other antenna or transmitter.
9.19.22 357-00063-01 Rev A © Inovonics, 2022 – www.inovonics.com



















