Istcontrol IRD2M Mobile RFID Reader Installation Guide
Safety instructions
Observe the following instructions to use the product safely and prevent any risk of injury or property damage.
Warning
Noncompliance of instructions could lead to serious injury or death.
Installation
Do not install the product in a place with direct sunlight, moisture, dust, or soot.
A fire or electric shock may occur.
Do not install the product in a place with heat from an electric heater. A fire or electric shock may occur due to overheating.
Install the product in a dry place. Otherwise, a product damage or electric shock may occur due to moisture.
The user should not install or repair the product independently. If the product has been damaged due to independent installation or repair of the product by the user, free A/S service will not be provided.
Caution
Noncompliance of instructions could lead to minor injury or product damage.
Operation
Do not allow liquids such as water, beverages, or chemicals get into the product. A fire, electric shock, or product damage may occur.
Installation
Do not install the power supply cable in a place where people pass by. Product damage or physical injury may occur.
Do not install the product near a highly magnetic object such as a magnet, TV, (especially CRT) monitor, or speaker. A product failure may occur.
If installing the product outside where the product is completely exposed, it is recommended to install the product together with the enclosure.
Keep the minimum separation distances between the devices when install multiple devices. Otherwise, RF performance is affected to the other device, the devices may not operate normally.
Components
IRD2M reader 1ea
Wall mount bracket 1ea
Wall fixing screw 2ea
Bracket fixing screw 1ea
- IRD2M Reader

- Wall mount bracket

- Wall fixing screw

- Bracket fixing screw

Specification
IRD2M reader supports RFID protocol of 13.56Mhz RFID : ISO/IEC 15693, ISO/IEC 14443 A/MIFARE , ISO/IEC 14443 B , Felica, ISO/IEC 18092(NFC IP-1) and Bluetooth and NFC protocol for mobile communication.
- Mobile ID (Bluetooth, NFC) reading
- Mobile ID Manger App (Reader setting app) communication
- ISO 14443 A/B, ISO 15693 RFID card reading
- 26, 32, 34, 37 bit Wiegand data output
- ICON LED indicator of 4 external input signal (ex. access granted, access denied, door open, door locked)
- 3 Color LED indicator (RED, GREEN, BLUE)
- Buzzer Control
- Tamper Alarm
- External input signal output in wiegand
| Base Part Number | Input Voltage (VDC) | Current | Operation Temperature | Cable Length | ||
| Standby AVG | Max AVG | Peak | ||||
| IRD2M | 12V | 250mA | 300mA | 400mA | -20℃ ~ 50℃ | Wiegand : 22 AWG (150m) 24 AWG (90m) RS-485 : 4 AWG (1,200m) 24 AWG (500m) |
Name and function
IRD2M slim type reader
Connection
| PIN | English | |
| Color | ||
| 1 | PWR +VDC | Red |
| 2 | PWR GND | Black |
| 3 | WG DO | Green |
| 4 | WGD1 | White |
| 5 | 485 TRXA | Yellow(Gray Stripe) |
| 6 | 485 TRXB | White (Gray stripe) |
| 7 | RED LED | Brown |
| 8 | GRN LED | Orange |
| 9 | BUZZER | Yellow |
| 10 | TAMPER | Violet |
| 11 | EXT IN1 | SKY |
| 12 | EXT IN2 | Blue |
| 13 | EXT IN3 | Pink |
| 14 | EXT IN4 | Gray |
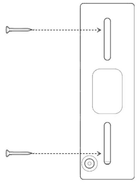
Installation
- Select a proper place to install and put the wall mount bracket. Fix the bracket with wall fixing screw. Try to keep minimum distance of 500mm between readers.
IRD2M slim type reader
- Make wire connections referring connection table.
- Put the reader on the bracket fixed on the wall.
IRD2M slim type reader
- Fix the reader to the bracket with bracket screw
IRD2M slim type reader
Dimension

FCC Statements
FCC Interference Statement
This equipment has been tested and found to comply with the limits for a Class A digital device, pursuant to part 15 of the FCC Rules. These limits are designed to provide reasonable protection against harmful interference when the equipment is operated in a commercial environment. This equipment generates, uses, and can radiate radio frequency energy and, if not installed and used in accordance with the instruction manual, may cause harmful interference to radio communications. Operation of this equipment in a residential area is likely to cause harmful interference in which case the user will be required to correct the interference at his own expense.
FCC compliance information
FCC Compliance Statement
This device complies with part 15 of the FCC rules. Operation is subject to the following two conditions:
- This device may not cause harmful interference, and
- this device must accept any interference received, including interference that may cause undesired operation.
Note: This equipment has been tested and found to comply with the limits for a Class A digital device, pursuant to part 15 of the FCC Rules. These limits are designed to provide reasonable protection against harmful interference when the equipment is operated in a commercial environment. This equipment generates, uses, and can radiate radio frequency energy and, if not installed and used in accordance with the instruction manual, may cause harmful interference to radio communications. Operation of this equipment in a residential area is likely to cause harmful interference in which case the user will be required to correct the interference at his own expense.
Modifications not expressly approved by the manufacturer could void the user’s authority to operate the equipment under FCC rules.
FCC Caution
Any changes or modifications not expressly approved by the party responsible for compliance could void the user’s authority to operate this equipment. This transmitter must not be co-located or operating in conjunction with any other antenna or transmitter.
FCC Radiation Exposure Statement
This equipment complies with FCC radiation exposure limits set forth for an uncontrolled environment. This equipment should be installed and operated with minimum distance 20 cm between the radiator and your body.
This transmitter must not be co-located or operating in conjunction with any other antenna or transmitter.
FCC ID : 2AZS5IRD2M
EU Declaration of Conformity (CE)
This product is CE marked according to the provisions of the Radio Equipment Directive (RED) 2014/53/EU.
Hereby, ISTCONTROL declares that this product is in compliance with the essential requirements and other relevant provisions of Radio Equipment
Directive (RED) 2014/53/EU
- Bluetooth Transmit Power: 8.65 dBm
- Bluetooth Frequency: 2402~2480 MHz
- NFC Frequency: 13.56 MHz
- RFID Frequency: 13.56 MH
![]() | AT | BE | BG | CH | CY | CZ | DE | DK |
| EE | EL | ES | Fl | FR | HR | HU | IE | |
| IS | IT | LI | LT | LU | LV | MT | NL | |
| NO | PL | PT | RO | SE | SI | SK |
This device meet the EU requirements on the limitation of exposure of the general public to electromagnetic fields by way of health protection.
For more information, contact us at the following contact information.
ISTCONTROL, Inc.
Access Control & Integrated Solution Provider
1203, 37, Maebongsan-ro, Mapo-gu, Seoul, Republic of Korea 03909
TEL: 82+ 070-4194-1993
Website : www.istcontrol.com
Email: [email protected]
Declaration of Conformity
| Manufacturer Name: | ISTCONTROL CO., LTD. |
| Manufacturer Address: | #1203, 12F, 37, Maebongsan‐ro, Mapo‐gu, Seoul, Republic of Korea |
| Importer Name*: (Or authorized representative): *If manufacturer is not in EU | Under Article 10(2) and 10(10), there are no restrictions of use |
| Importer Address: | ‐ |
| Declare under our sole responsibility that the product | |
| Product Type/Description: | Smart RFID Card Reader |
| Model: | IRD2M |
| Variant Model: | ‐ |
| Trade Name: | ISTCONTROL Co., Ltd |
| Product Identification Element: | IRD2M |
| Product Accessories (if applicable): | N/A |
| Hardware version | V1.01 |
| Software version | V2.00 |
| Is in conformity with the following standards or other normative documents | |
| Test standards | |
| Radio: ETSI EN 300 328 V2.2.2(2019‐07), ETSI EN 300 330 V2.1.1(2017‐02) EMC : ETSI EN 301 489‐1 V2.2.3(2019‐11), ETSI EN 301 489‐3 V2.1.1(2019‐03), ETSI EN 301 489‐17 V3.1.1(2017‐02) Safety : EN IEC 62368‐1:2020+A11:2020 Health : EN 62311:2008 | |
| We hereby declare that [all essential radio test suites have been carried out and that] the above named product is in conformity to all the essential requirement of Directive 2014/53/EU. The conformity assessment procedure referred to in Article 17 and detailed in Annex [III] of Directive 2014/53/EU has been followed with the involvement of the following Notified Body(ies): PHOENIX TESTLAB GmbH (Notified Body Number: 0700) Königswinkel 10 D‐32825 Blomberg Germany EU‐Type Examination Certificate No.: The Technical documentation relevant to the above equipment will be held at | |
| Name : | Kwak Jung Hyun |
| Title : | President |
| Address: | 1230, 37, Maebongsan-ro Mapo-gu, Seoul, Republic of Korea |
| Date: November 2, 2021 | ![]() Signature of Authorized person |
![]()


























