TAURUS Greco 16CR Elegance Standing Black

SAFETY ADVICE AND WARNINGS
- This appliance can be used by children aged from 8 years and above and persons with reduced physical, sensory or mental capabilities or lack of experience and knowledge if they have been given supervision or instruction concerning use of the appliance in a safe way and understand the hazards involved.
- Cleaning and user maintenance shall not be made by children unless they are supervised.
- This appliance is not a toy. Children should be supervised to ensure that they do not play with the appliance.
- Ensure that the fan is switched off from the supply mains before start any installation or assembly operation.
- Disconnect the appliance from the mains before undertaking any cleaning task. Ensure that the fan is switched off from the supply mains before removing the guard.
- If the connection to the mains has been damaged, it must be replaced, take the appliance to an authorised technical support service. Do not attempt to disassemble or repair the appliance by yourself in order to avoid a hazard.
- This appliance is for household use only, not professional, industrial use.
- Ensure that the voltage indicated on the rating label matches the mains voltage before plugging in the appliance.
- Connect the appliance to a socket that can supply a minimum of 10 amperes.
- The appliance’s plug must fit into the mains socket properly. Do not alter the plug. Do not use plug adaptors.
- The appliance must be used and placed on a flat, stable surface.
- Do not use the appliance if the cable or plug is damaged.
- If any of the appliance casings breaks, immediately disconnect the appliance from the mains to prevent the possibility of an electric shock.
- Do not use the appliance if it has fallen on the floor, if there are visible signs of damage or if it has a leak.
- Do not force the power cord. Never use the power cord to lift up, carry or unplug the appliance.
- Do not clip or crease the power cord.
- Check the state of the power cord. Damaged or tangled cables increase the risk of electric shock.
- The appliance is not suitable for outdoor use.
- Supply cord should be regularly examined for signs of damage, and if the cord is damaged, the appliance must not be used.
- Do not use or store the appliance outdoors.
- Do not leave the appliance out in the rain or exposed to moisture. If water gets into the appliance, this will increase the risk of electric shock.
- Do not touch the plug with wet hands.
- Do not touch any of the appliance’s moving parts while it is operating.
USE AND CARE:
- Fully unroll the appliance’s power cable before each use.
- Do not use the appliance if the on/off switch does not work.
- Use the appliance handle/s, to catch it or move it.
- Do not use the appliance if it is tipped up and do not turn it over.
- Do not turn the appliance over while it is in use or connected to the mains.
- Disconnect the appliance from the mains when not in use and before undertaking any cleaning task.
- Store this appliance out of reach of children and/or persons with physical, sensory or reduced mental or lack of experience and knowledge.
- Make sure that dust, dirt or other foreign objects do not block the fan grill on the appliance.
- Keep the appliance in good condition. Check that the moving parts are not misaligned or jammed and make sure there are no broken parts or anomalies that may prevent the appliance from operating correctly.
- Never leave the appliance connected and unattended if is not in use. This saves energy and prolongs the life of the appliance.
SERVICE:
- Any misuse or failure to follow the instructions for use renders the guarantee and the manufacturer’s liability null and void.
MODELS


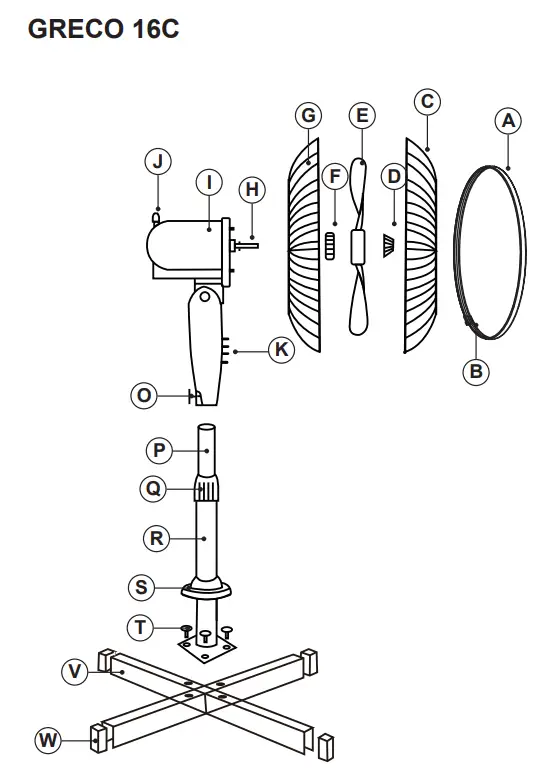
DESCRIPTION

- A Grille ring
- B Nut and screw
- C Front grill
- D Propeller fastening nut
- E Propeller
- F Grill fastening nut
- G Rear grill
- H Motor shaft
- I Motor housing
- J Oscillation knob
- K Speed buttons
- L Desk fan base
- M Screws for the base
- N Non-slip feet
- O Pole retaining screw (*)
- P Adjustable pole (*), (**)
- Q Adjustable pole knob (*)
- R Lower base pole (*)
- S Fan base cover (*)
- T Screws for the base (*)
- U Round base (*)
- V Cross base (*)
- W Non-slip feet (*)
Only available in the model GRECO 16C / GRECO 16CR ELEGANCE
If you do not see this part, ensure it is not located inside the lower base pole (R) before contacting our technical service, remove it carefully to avoid any damage. If the model of your appliance does not have the accessories described above, they can also be bought separately from the Technical Assistance Service.
INSTALLATION
- Be sure to remove all packaging material from inside the appliance.
- Ensure that the fan is switched off from the supply mains before start any installation or assembly operation.
ASSEMBLING THE BASE (DESK FAN):
- To fix the base into the appliance, place the appliance face down.
- Fit the base on the main body of the appliance.
- Fix the base using the screws provided (M).
- Stand the appliance up again so as to check that the base works properly.
FITTING THE BASE FEET (CROSS BASE STAND FAN):
- The appliance has anti-slip base feet (V) that support the product.
- Position the base feet on the body of the appliance.
- Position the base feet on the body of the appliance using the screws (Fig.1).

FITTING THE BASE (ROUND BASE STAND FAN):
- The appliance has anti-slip base (U) that support the product.
- To assemble the base, place the appliance face down.
- Position the base feet on the body of the appliance.
- Position the base on the body of the appliance using the screws (Fig.2).

- Stand the appliance up again so as to check that the base work properly.
ASSEMBLING THE GRILL AND THE PROPELLER:
- Fit the rear grill (G) on the motor housing (I), matching their fitting points.
- Tight the grill nut (F) that attaches the grill, Make sure of a correct setting.
- Fit the propeller (E) On the motor shaft (H).
- Tight the nut (D) that attaches the propeller, Make sure of a correct setting.
- Fit the front grill (C) front the rear grill (G), matching the security screw position. Fix the front grill turning around its fixing belt (A) and tight the security screw (B) by using a screwdriver.
- Check the correct rotation of the propeller.
INSTRUCTIONS FOR USE
BEFORE USE:
- Make sure that all products’ packaging has been removed.
USE:
- Unroll the cable completely before plugging it in.
- Connect the appliance to the mains.
- Guide the appliance to direct the flow of air in the desired direction.
- Turn the appliance on, by using one of the speed selection buttons.
OSCILLATION FUNCTION:
- The oscillation function makes it possible to direct the flow from the apparatus so that it automatically alternates over a range of 75º.
- To activate this function, press the (J) switch.
- To deactivate this function, follow the procedure for switching it on in reverse.
HEIGHT ADJUSTMENT
- The appliance height can be adjusted, it’s just necessary to unlock the knob (Q) place the appliance at the desired height and lock again the knob (Q).
CARRY HANDLE/S:
- This appliance has a handle on the upper part of the body, which facilitates comfortable transportation (Fig.3).

ONCE YOU HAVE FINISHED USING THE APPLIANCE:
- Stop the appliance, selecting position 0 on the selector control.
- Unplug the appliance from the mains.
- Clean the appliance.
CLEANING
- Disconnect the appliance from the mains and allow it to cool before undertaking any cleaning task.
- Clean the equipment with a damp cloth with a few drops of washing-up liquid and then dry.
- Do not use solvents, or products with an acid or base pH such as bleach, or abrasive products, for cleaning the appliance.
- Never submerge the appliance in water or any other liquid or place it under running water.
ANOMALIES AND REPAIR
- Take the appliance to an authorised technical support service if product is damaged or other problems arise. Do not attempt to disassemble or repair the appliance yourself as this may be dangerous.
FOR EU PRODUCT VERSIONS AND/OR IN CASE THAT IT IS REQUESTED IN YOUR COUNTRY:
ECOLOGY AND RECYCLABILITY OF THE PRODUCT
- The materials of which the packaging of this appliance consists are included in a collection, classification and recycling system. Should you wish to dispose of them, use the appropriate public recycling bins for each type of material.
- The product does not contain concentrations of substances that could be considered harmful to the environment.
This symbol means that in case you wish to dispose of the product once its working life has ended; take it to an authorised waste agent for the selective collection of Waste from Electric and Electronic Equipment (WEEE).
| GRECO 16 / 16 ELEGANCE | |
| Maximum fan flow rate (F) | 22.92 m3/min |
| Fan power input(P) | 36.40 W |
| Service value (SV) (ac- cording to IEC 60879) | 0.63 (m3/min)/W |
| Standby power con- sumption (PSB) | 0.00 W |
| Fan sound power level (LWA) | 57.52.00 dB(A) |
| Maximum air velocity( c ) | 2.88 metres/sec |
| GRECO 16C / 16CR ELEGANCE | |
| Maximum fan flow rate (F) | 34.56 m3/min |
| Fan power input(P) | 38.19 W |
| Service value (SV) (ac- cording to IEC 60879) | 0.90 (m3/min)/W |
| Standby power con- sumption (PSB) | 0.00 W |
| Fan sound power level (LWA) | 53.00 dB(A) |
| Maximum air velocity( c ) | 2.12 metres/sec |
This appliance complies with Directive 2014/35/ EU on Low Voltage, Directive 2014/30/EU on Electromagnetic Compatibility, Directive 2011/65/ EU on the restrictions of the use of certain hazardous substances in electrical and electronic equipment and Directive 2009/125/EC on the ecodesign requirements for energy-related products.
WARRANTY AND TECHNICAL ASSISTANCE
This product enjoys the recognition and protection of the legal guarantee in accordance with current legislation. To enforce your rights or interests you must go to any of our official technical assistance services.
You can find the closest one by accessing the following web link: http://taurus-home.com/ You can also request related information by contacting us.
You can download this instruction manual and its updates at http://taurus-home.com/
| COUNTRY | ADDRESS | PHONE |
| Algeria | Zone d’Activite, Nº 62, Constantine | 213770777756 |
| Argentina | Av. del Libertador 1298,(B1638BEY), Vicente López (Pcia. Buenos Aires) | 541153685223 |
| Belgium | Mariëndonkstraat 5, 5154 EG, Elshout | 31620401500 |
| Benin | 359 Av. Steinmetz, 1930, Cotonou | 0299-21313798 |
| Bulgaria | 265,Okolovrasten Pat, Mladost 4, 1766, Sofia | 35929211120 / 35929211193 |
| Burkina Faso | Avenue Bassawarga, 01 BP915, Ouagadougou | 226 25301038 |
| Congo (Republic of) | 98 Blvd General Charles de Gaulle, Pointe Noire | 242066776656 |
| Cyprus | 20, Bethlehem Str. / P.O.Box 20430, 2033, Strovolos | 35722711300 |
| Czech Republic | Milady Horakove 357/4, 568 02, Svitavy | 420 461 540 130 |
| Democratic Republic of the Congo | AV. Pont Canale Nº 3440, Kinshasa | 00243-991223232 |
| Equatorial Guinea | SN Av Patricio Lumumba y C/ Jesus B, Bata | 00240 333 082958 / 00240 333 |
| 082453 | ||
| Equatorial Guinea | Calle de las Naciones Unidas, PO box 762, Malabo | 240333082958 / 240333082453 |
| España | Avda Barcelona, S/N, 25790 Oliana (Lleida) [email protected] | 902 118 050 |
| Ethiopia | Lideta Sub City Kebele 10 H.NO 124, Addis Ababa | +251 11 5518300 |
| France | Za les bas musats 18, 89100, Malay-le-Grand | 03 86 83 90 90 |
| Gabon | BP 574, Port-Gentil Centre-ville | 24101552689 / 24101560698 |
| Ghana | Ederick Place, Accra-Ghana | 302682448 / 302682404 |
| Gibraltar | 11 Horse Barrack Lane, 54000, Gibraltar | 00350 200 75397 / 00350 200 |
| 41023 | ||
| Greece | Sapfous 7-9, 10553, Athens | +30 21 0373 7000 |
| Guinea | BP 206, GN, Conakry | (224) 622204545 |
| Hong Kong | Unit H,13/F., World Tech Centre, Hong kong | (852) 2448 0116 / 9197 3519 |
| Hungary | Késmárk utca 11-13, 1158, Budapest | +36 1 370 4519 |
| India | C-175, Sector-63, Noida, Gautam Budh Nagar – 201301, Delhi | (+91) 120 4016200 |
| Ivory Coast | 01 Rue Des Carrossiers-Zone 3, B.P 3747, Abidjan 01 (RCI) | 22521251820 / 225 21 353494 |
| Jordan | 28 Basman St Down town, Amman | +962 6 46 222 68 |
| Kuwait | P.O. BOX 3379 hawally, 32034, Hawally | +965 2200 1010 |
| Lebanon | Damascus Highway; Sciale Building, Jamhour | 9615922963 |
| Luxembourg | Mariëndonkstraat 5, 5154 EG, Elshout | 31620401500 |
| Mali | BP E2900, Dravela Bolibana | 223227216 / 223227259 |
| Marruecos | Big distribution society 4 Rue 13 Lot. Smara Oulfa, Casablanca | (+212) 522 89 40 21 |
| Mauritania | 134 Avenue Gamal Abdener Ilot D, Nouakchott | 2225254469 / 2225251258 |
| Mexico | Rosas Moreno Nº 4-203 Colonia de San Rafael C.P. 06470 – Delegación Cuauhtémoc, Ciudad de México | (+52) 55 55468162 |
| Montenegro | Rastovac bb, 81400, Niksic | +382 40 217 055 |
| Netherlands | Mariëndonkstraat 5, 5154 EG, Elshout | 31620401500 |
| Nigeria | 8, Isaac; John Str,G.R.A Ikeja Lagos | 23408023360099 |
| Paraguay | Denis Roa 155 c/ Guido Spano, Asunción | 21665100 |
| Peru | Calle los Negocios 428, Surquillo, Lima | (511) 421 6047 |
| Portugal | Avenida Rainha D. Amélia, nº12-B, 1600-677, Lisboa | +351 210966324 |
| Romania | Dudesti Pantelimon 23, 410554, Bucharest | 031.805.49.58 |
| Serbia | Rastovac bb, 81400, Niksic | +382 40 217 055 |
| Slovakia | Milady Horakove 357/4, 568 02, Svitavy | 420 461 540 130 |
| Southafrica | Unit 25 & 26, San Croy Office Park, Die Agora Road, Croydon, Kempton Park, 1619, Johan- nesburg | (+27) 011 392 5652 |
| Tunisia | 2, Rue de Turquie, Tunis | 21671333066 |
| Ukraine | Block 6, Ap Housing Estate Topol-2, B, 49000, Dnepropetrovsk | 380563704161 / 380563704161 |
| United Arab Emirates | P.O.BOX 8543, Dubai | 14506246200 |
| Uruguay | Luis Alberto de Herrera 3468, 11600, Montevideo | 598 2209 28 00 |
| Vietnam | Lot 7 Ind. Zone for, Ha Noi | 84437658111 / 84437658110 |
Avda. Barcelona, s/n
E 25790 Oliana
Spain

















