BioTec ScreenMatic²
18000, 24000, 38000
Operating instructions
18000 BioTec ScreenMatic Rotary Pond Filter











Information about this operating manual
Welcome to OASE Living Water. You made a good choice with the purchase of this product BioTec ScreenMatic² 18000/24000/38000.
Prior to commissioning the unit, please read the instructions of use carefully and fully familiarise yourself with the unit. Ensure that all work on and with this unit is only carried out in accordance with these instructions.
Adhere to the safety information for the correct and safe use of the unit.
Keep these instructions in a safe place! Please also hand over the instructions when passing the unit on to a new owner.
1.1 Symbols used in these instructions
1.1.1 Warnings
The warning information is categorised by signal words, which indicate the extent of the hazard.
WARNING
- Indicates a possibly hazardous situation.
- Non-observance may lead to death or serious injuries.
NOTE
Information for the purpose of clarification or for preventing possible damage to assets or to the environment.
1.1.2 Additional information
A Reference to a figure, e.g. Fig. A.
→ Reference to another section.
Product Description
2.1 Unit configuration
| A | ScreenMatic rotating screen unit |
| 1 | Control device |
| 2 | Operating panel |
| 3 | Sensor underneath the control device • When the sensor comes into contact with the water on the ScreenMatic screen, an automatic cleaning process is triggered. |
| 4 | Stripper • scrapes the debris from the ScreenMatic screen and conveys it into the debris tray. |
| 5 | ScreenMatic screen |
| 6 | “Max. water jet” mark • Debris may be washed out of the debris collection tray if the water jet from the water distributor exceeds this mark. |
| 7 | Transformer • Voltage supply for the control device and motor |
| 8 | Motor • Drive of the ScreenMatic rotating screen unit |
| B, C | BioTec ScreenMatic² 18000/24000/38000 |
| 1 | Inlets, 2 x |
| 2 | Water distributor |
| 3 | Distributor extension |
| 4 | Brush for regularly cleaning the ScreenMatic screen |
| 5 | Substrate tube • BioTec ScreenMatic² 18000: 3 x • BioTec ScreenMatic² 24000: 4 x • BioTec ScreenMatic² 38000: 12 x |
| 6 | Separating plate • Can be removed from the BioTec ScreenMatic² 18000/24000 for maintenance purposes |
| 7 | Foam filter • BioTec ScreenMatic² 18000: 8 x • BioTec ScreenMatic² 24000: 16 x • BioTec ScreenMatic² 38000: 18 x |
| 8 | Blind plug for closing the outlet (13) • Closing the outlet before cleaning the foam filters prevents dirty water from flowing back into the pond. |
| 9 | Dirt outlet |
| 10 | Foam cleaning device |
| 11 | Holder for the foam cleaning device |
| 12 | Dirt outlet slide valve |
| 13 | Debris tray |
| 14 | Outlet |
2.2 Properties
- High-performance flow-through filter for ponds for up to 18000/24000/38000 gal.
- Electrically driven ScreenMatic rotating screen for automatic removal of coarse debris.
- Low-maintenance filter due to the automatic removal of coarse debris.
- Bottom dirt outlet with slide valve for removal of dirt/debris from the filter system.
- Convenient cleaning of the foam filters directly inside the filter.
- Perfectly tailored to the OASE AquaMax Eco filter pumps.
- Direct connection of the OASE UVC clarifiers of the Vitronic 18W/36W and Bitron C series possible.
- Use of different filter medium types to ensure optimum colonisation of bacteria for biological filtration.
2.3 Intended use
BioTec ScreenMatic² 18000/24000/38000, referred to as “unit”, may only be used as specified in the following:
- For cleaning garden ponds.
- Operate in accordance with instructions. (→ Technical data)
2.4 Possible incorrect use
The following restrictions apply to the unit:
- Only operate with water at a water temperature of +4 °C to +35 °C.
- Never use the unit to convey fluids other than water.
- Do not use for commercial or industrial purposes.
- Not suitable for salt water.
- Do not use in conjunction with chemicals, foodstuff, easily flammable or explosive substances.
2.5 Accessing the unit
- Remove the container cover: Access to the control device.
- Hinge up the screen holder: Access to the foam filters, substrate tubes, separating plate and outlet.
2.5.1 Opening the container
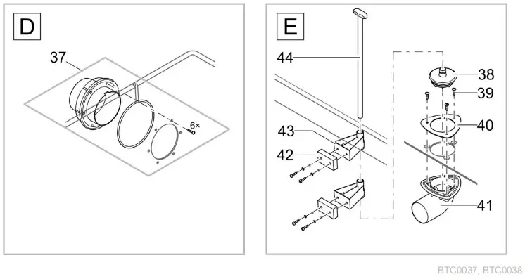
E
- BioTec ScreenMatic² 18000/24000: Release the locking clips, lift up the cover and remove.
- BioTec ScreenMatic² 38000: Lift the cover using the handles and remove.
– Screw the handles onto the cover. The handles are not fitted on delivery.
NOTE
Only operate the unit with the container cover in place.
2.5.2 Hinging the screen holder up/down
How to proceed:
F
To hinge up/open
- Remove the debris tray.
- Hinge up the distributor extension.
- Hinge up the screen holder with the ScreenMatic rotating screen unit.
To hinge down/close - Carefully hinge down the screen holder.
- Push the distribution extension down until it audibly engages.
- Replace the debris tray.
Installation and connection
3.1 Installation planning
NOTE
Use suitable transport and lifting aids to transport and install the unit.
The unit weighs more than 25 kg. (→ Technical data)
3.1.1 Optimum ambient and operating conditions
Optimum operating results can be obtained with careful planning, taking the ambient conditions into account.
- As the filter is very heavy when filled, it must be placed on a suitable base (at least on slabs, but preferably on a poured concrete base) to prevent it from subsiding.
- Align the base slab horizontally.
- Ensure sufficient room for movement for carrying out cleaning and maintenance work.
- Allow the dirty water to drain out into a drain or far enough away from the pond to ensure that it cannot flow back into the pond.
- Do not position the inlet into the pond higher than the outlet of the filter system (e.g. above a water course or waterfall).
NOTE
A water course or waterfall guarantees optimum water return to the pond.
In this way, the filtered pond water is enriched with oxygen before it is returned to the pond.
3.1.2 Distance from the water
G
Electrical components of the filter system operate with a rated voltage of UDC = 12 V. The supply voltage is supplied via an external transformer connected to the mains.
- Filter system with UVC clarifier fitted:
– The filter system and transformer must be located at a distance of at least 2 m from the water. - Filter system without UVC clarifier fitted:
– The filter system can be installed directly next to the water. The transformer must be located at a distance of at least 2 m from the water.
3.1.3 Protective measures for swimming ponds
Adhere to the following conditions for dry installation:
H, I
- Only pumps with a voltage of ≤12 V permit immersion set-up.
- Pumps with a voltage of ≥12 V permit dry set-up, provided the required safety distance from the pond is observed.
3.2 Connecting the inlet
The filter system has two inlets with stepped hose adapters.
- For connecting a filter pump
- For connecting a UVC clarifier (→ Connecting a UVC clarifier)
- If an inlet is not used, fit a closed stepped hose adapter.
– The stepped hose adapters are delivered closed.
Prerequisite:
- The container is open. (→ Opening the container)
- The screen holder is hinged up. (→ Hinging the screen holder up/down)
How to proceed:
J
- Shorten the stepped hose adapter to the diameter of the hose used.
– This reduces pressure losses. - Insert the stepped hose adapter with flat seal into the inlet opening.
- Screw the distributor nut with O ring onto the stepped hose adapter and hand tighten.
– BioTec ScreenMatic² 38000: Alternatively fit a 50 mm (2″) hose connector. - Slip the hose clip over the hose, fit the hose onto the hose connector and secure with the hose clip.
3.3 Connecting a UVC clarifier
Prerequisite:
- The container is open. (→ Opening the container)
- The screen holder is hinged up. (→ Hinging the screen holder up/down)
How to proceed:
K
- Fit the UVC clarifier with flat seal into the inlet opening.
- Screw the distributor nut with O ring onto the stepped hose adapter and hand tighten.
– Read the UVC clarifier operating instructions.
3.4 Connecting the outlet
- Use suitable pipes.
- Do not use any right-angled bends. Bends with a maximum angle of 45° are very efficient.
- Standing water in pipes can freeze when there is a hard frost and cause pipes to burst. For this reason, lay the pipes and hoses with a gradient (50 mm/m) to ensure that they can run empty.
- Pipe dimensions: (→ Technical data)
Fitting the DN 110 outlet
BioTec ScreenMatic² 38000: The outlet is not fitted on delivery.
Prerequisite:
- The container is open. (→ Opening the container)
How to proceed:
L
- Fit the O ring onto the outlet.
- Fit the outlet into the respective hole of the container wall from the outside.
– Ensure that the raised marking is at the top and aligned in relation to the hole pattern. - Fasten the outlet from the inside with oval head screws.
– Tighten all screws diagonally using the cordless screwdriver to ensure that the sealing ring is uniformly applied. Further tighten the screws using a Phillips screwdriver.
NOTE
Build supports to increase the stability of the pipe construction and to prevent the pipe construction from sagging at the discharge.
3.5 Connecting the dirt outlet
The water in the container can be drained via the dirt outlet with slide valve at the bottom of the container when required (for cleaning, repair, overwintering).
- Connect the pipe and drain the dirty water, for example, into a flower bed or into the sewage system.
- Pipe dimensions: (→ Technical data) arry out the electrical connection
3.6 Carry out the electrical connection
How to proceed:
M
- Thread the connection cable through the opening in the container wall and seal off the opening using the sealing plug.
– Ensure that the connection cable inside the container is sufficiently long so that it is not subjected to tension when the ScreenMatic rotating screen unit is hinged up.
– Avoid tangling of the cable inside the container. - Connect the plug of the connection cable to the socket on the transformer and hand-tighten the union nut.
Commissioning/start-up
NOTE
Remove the protective film from the substrate tubes and insert the substrate tubes into the container.
(→ Cleaning/replacing the substrate tubes)
- The substrate tubes are sealed in protective film on delivery.
- Thoroughly clean the pond before starting up the filter system for the first time to ensure that the filter system is not overloaded by excessively soiled water. OASE recommends using the PondoVac pond vacuum cleaner for cleaning the pond.
– This cleaning measure is normally not necessary for newly installed ponds. - It is necessary to operate the filter system for 24 hours a day during the pond season.
4.1 Biological filter starter
The foam filters take several weeks to reach their full biological cleaning effect. We recommend using the OASE filter starter Biokick to ensure fast growth of bacterial populations. Micro-organisms colonise the filter system, multiply and ensure an enhanced quality of the pond water by the decomposition of excess nutrients.
NOTE
When using filter starter, medicines or pond water treatments, leave the UVC clarifying unit switched off for at least 36 hours so as not to impair their efficacy.
4.2 Order of starting up steps
How to proceed:
- Close the slide valve of the dirt outlet.
- Check that the filter system (pipes and hoses) is complete.
- Remove the container cover.
- Connect the transformer for the control device to the power supply.
- Switch on the filter pump and UVC clarifier (if applicable).
– Ensure that the water is returned to the pond via the return pipe. - Check all pipes, hoses and their connections for leaks.
– Expansion seals may leak initially until they have fully expanded on contact with water. - Adjust the control device to the flow rate if necessary. (→ Aligning the control device)
- Check the function of the ScreenMatic rotating screen unit. (→ Operation)
- Fit the container cover.
NOTE
The final water level is not reached in the container until the bacteria are established and the filter becomes fully effective.
- New foam filters take 3 to 4 weeks to reach their full biological cleaning effect. The water level is initially lower; the foam filters are not completely covered by the water. The filter may overflow while the beneficial bacteria colonies are being established. Do not clean the foam filters for 3 to 4 weeks.
- The biological cleaning effect ceases at temperatures under 10 °C. The filter may overflow. Cleaning is not necessary.
NOTE
The substrate tubes should remain completely under water to ensure maximum effectiveness. De-pending on the system configuration, the level of the water in the container may be too low for this.
- In this case, place the top substrate tube directly into the pond at a point where there is good water circulation.
4.3 Aligning the control device
Do not align the control device until after the running-in period
- Lowering the pump into the pond may swirl up so much debris that starting up the filter system straight away could cause the ScreenMatic screen to overflow.
- The filter system requires a running-in period of 2 to 3 hours. After this, the control device can be aligned if necessary.
- Align the control device such that the sensor only switches when a well-formed line of debris has formed on the screen.
– A well-formed line of debris can be optimally removed by the stripper and conveyed into the debris tray.
– The stripper brush under the ScreenMatic screen collects the fine debris, which falls into the debris tray.
How to proceed:
N
- Remove the screw from the control device and take out the control device.
- Insert the control device into the determined position, insert the screw and hand tighten.
Aligning the control device depending on the degree of soiling of the pond In order to prevent premature soiling of the foam filters, ensure that the dirty water does not flow beyond the “Max. water jet” mark directly into the debris tray.
• Do not change the position of the control device unless the water flows as far as or beyond the “Max. water jet” mark, even when the ScreenMatic screen has been cleaned (with the enclosed brush).
(→ Cleaning/replacing the ScreenMatic screen)
Typical position of the control device
| BioTec ScreenMatic² 18000 | BioTec ScreenMatic² 24000 | BioTec ScreenMatic² 38000 | |||
| <2110 gal/h (<8000 l/h) | <9 | <2400 gal/h (<9000 l/h) | <10 | <3170 gal/h (<12000 l/h) | <18 |
| >2380 gal/h (>9000 l/h) | >9 | >2900 gal/h (>11000 l/h) | >10 | >4000 gal/h (>15000 l/h) | >18 |
| Delivery state | 9 | Delivery state | 10 | Delivery state | 18 |
Operation
5.1 Operating panel

| 1 LED, 2 colours | |
| • Lit green | The ScreenMatic rotating screen unit is operational |
| • Flashes green | Cleaning active |
| • Flashes green/red | Malfunction (→ System messages) |
| • Flashes red | Malfunction (→ System messages) |
| 2 Button, start/stop manual cleaning | (→ Manual cleaning) |
5.2 Manual cleaning
| Proceed as follows | Description |
| Press | The ScreenMatic screen is rotated by 1 revolution. • Press the button again for 1 s: The rotational movement stops prematurely. |
5.3 Automatic cleaning
Due to the build-up of debris the water level on the ScreenMatic screen also rises. When the sensor in the control device comes into contact with the water, it triggers the rotational movement of the ScreenMatic screen.
By briefly moving the ScreenMatic screen back several times a larger line of debris is formed, which can be better removed by the stripper.
| Sequence of an automatic cleaning cycle | Rotational movement of the ScreenMatic screen |
| Normal soiling | |
| 1. Contact of the sensor with water | Brief movement backward |
| 2. Contact of the sensor with water | Brief movement backward |
| 3. Contact of the sensor with water | Brief movement backward |
| 4. Contact of the sensor with water | One rotation forward • The debris is conveyed into the debris tray. |
| Heavy soiling or incorrectly aligned control device (permanently high water level on the ScreenMatic screen) | |
| 1. Contact of the sensor with water | Brief movement backward, then one rotation forward • The debris is conveyed into the debris tray. |
5.4 Time-dependent cleaning
The ScreenMatic rotating screen unit executes a cleaning cycle after a set interval depending on the ambient temperature. This ensures cleaning at regular intervals
- if the sensor is soiled or defective,
- if there is very little soiling on the screen and/or low flow rates (e.g. when the SFC of the filter pump is activated).
| Ambient temperature | Interval | Rotational movement of the ScreenMatic screen |
| ≤10 °C | 6 hours | One rotation forward • The debris is conveyed into the debris tray. |
| 10 °C … 20 °C | 4 hours | |
| ≥20 °C | 3 hours |
5.5 System messages
| LED | Malfunction | Possible cause | Remedy | Resetting the system message |
| Flashes green/red | No automatic cleaning cy- cle within 48 hours | Sensor soiled | • Clean the sensor. • Descale the sensor. | Automatic reset after remedy of malfunction |
| No dirty water, cleaning is not necessary | — | |||
| No flow of water | Filter pump is not operating | Start up the filter pump. | ||
| No water detected by the sensor | Control device incorrectly posi- tioned | Correctly position the control de-vice | ||
| Control device defective | Replace the control device. | |||
| Insufficient conductivity of the water | Increase the water hardness with OptiPond | |||
| Insufficient pump capacity | Adjust the pump capacity accordingly | |||
| Flashes red | 20 automatic cleaning cy- des in succession | ScreenMatic screen soiled | •Start manual the cleaning cycle and use a brush to clean the ScreenMatic screen on the side of the water distributor (. Manual cleaning) •Clean the ScreenMatic screen from the inside if the mesh is clogged by a biofilm (. Cleaning/replacing the ScreenMatic screen) | Automatic reset after rem-edy of malfunction |
| Sensor soiled | Clean the sensor. | |||
| Control device incorrectly posi- tioned | Correctly position the control device | |||
| Pump capacity too high | Adjust the pump capacity accordingly | |||
| Flashes green | ScreenMatic screen not ro- tating although a manual cleaning cycle was trig- gered. | Motor cable plug not connected or incorrectly connected to the control device | Connect the plug, check that it is correctly seated. | — |
| Motor defective | Replace motor | |||
| Off | ScreenMatic screen not ro- tating although a manual cleaning cycle was trig- gered. | Connection cable plug not con- nected or incorrectly connected to the transformer | Connect the plug, check that it is correctly seated. | — |
| Transformer not connected to the mains voltage | Connect the transformer to the mains voltage. | |||
| Transformer defective | Replace transformer | |||
| Control device defective | Replace the control device. |
Remedy of faults
| Malfunction | Possible cause | Remedy |
| No flow of water | Filter pump not switched on | Switch on the filter pump, connect the power plug |
| Supply to filter system or return to pond blocked | Clean the supply and/or return | |
| Water flow insufficient | Hose kinked or clogged | Check, clean or replace the hose if necessary. |
| Excessive loss in the hoses due to friction | Reduce hose length to reduce frictional loss | |
| Insufficient pump capacity | Adjust the pump capacity accordingly | |
| Water remains cloudy | Insufficient circulation of the water | • Adjust the pump capacity accordingly |
| The water is extremely soiled. | • Optimise the circulation of the water in the pond. • Remove algae and leaves from the pond. • Change the water. • If the water is particularly contaminated, change 30% of the water to avoid damage to the fish. | |
| Too many pond animals | Reduce number of pond animals Guide value: approx. 2 ft (60 cm) fish length per 265 gal (1 M3) pond water | |
| ScreenMatic screen is clogged | Clean or replace the ScreenMatic screen. | |
| Foam filters soiled | Clean foam filters | |
| No water at the pond inlet | Pond inlet blocked | Clean the pond inlet. |
| Filter pump is not operating. | Start up the filter pump. | |
| Water level in the container too low, foam filters are not com- pletely immersed in water. | The water level is initially lower when new foam fil- ters are fitted as they have not yet been colonised by bacteria. | • It takes several weeks for the bacteria to become established and the foam filters to become fully effective. • Use OASE filter starter Biokick to speed up the colonisation of bacteria. |
| The separating plate is missing. (Only BioTec ScreenMatic218000) | • Insert the separating plate. |
Maintenance and cleaning
WARNING
Possible death or severe injury from hazardous electrical voltage!
- Prior to reaching into the water, isolate (switch off and disconnect) all units/devices used in the water.
- Isolate the device (disconnect from the power supply) before carrying out any work on it.
- Do not use aggressive cleaning agents or chemical solutions as they could attack the housing or impair the function of the unit.
- Recommended cleaning agent for removing stubborn limescale deposits:
– Pump cleaning agent PumpClean from OASE.
– Vinegar- and chlorine-free household cleaning agent. - After cleaning, thoroughly rinse all parts in clean water.
7.1 Regular cleaning work
- Empty the debris tray:
– The cleaning cycle is dependent on the degree of soiling of the pond.
– Remove the debris tray. (→ Hinging the screen holder up/down) - Clean the ScreenMatic screen:
– If the ScreenMatic screen becomes clogged, clean the ScreenMatic screen downstream of the water distributor using the brush.
For this, manually activate the SceenMatic screen.
(→ Manual cleaning)
– Carry out intensive cleaning with the pump cleaning agent PumpClean from OASE: (→ Cleaning/replacing the ScreenMatic screen)
7.2 Cleaning foam filters
- It is necessary to clean the foam filters as soon as the water exceeds the 100% mark on the separating plate.
- Do not use any chemical cleaning agents as they would kill the filter bacteria.
Prerequisite:
- The filter pump is switched off.
- The container is open. (→ Opening the container)
- The screen holder is hinged up. (→ Hinging the screen holder up/down)
- BioTec ScreenMatic2 24000: Separating plate has been pulled out and the substrate tubes have been re- moved. (→ Cleaning/replacing the substrate tubes)
- The water level in the container has lowered to the height of the outlet or below.
How to proceed:
O, P
BioTec ScreenMatic2 18000/24000:
- Insert the plug into the outlet from the inside to close off the outlet.
– Remove the separating plate to facilitate access if applicable. - Switch on the filter pump until the foam filters are covered with water, then switch off the filter pump.
- Compress all foam filters several times with the foam cleaning device.
- Allow the dirty water to drain away.
– Open the dirt outlet slide valve and close it again when the container is empty. - Repeat steps 2 … 4 as required.
- Rinse the container with clear water to remove any loosened dirt particles. To do this, first carry out step 2, then step 4.
- Remove the plug from the inside of the outlet.
- Close the dirt outlet slide valve.
- Hinge down the screen holder (→ Hinging the screen holder up/down), insert the debris tray and switch on the filter pump.
Q
BioTec ScreenMatic² 38000:
- Insert the plug into the outlet from the inside to close off the outlet.
- Switch on the filter pump until the foam filters are covered with water, then switch off the filter pump.
- Compress all foam filters several times with the foam cleaning device.
- Allow the dirty water to drain away.
– Open the dirt outlet slide valve and close it again when the container is empty. - Repeat steps 2 … 4 as required.
- Rinse the container with clear water to remove any loosened dirt particles. To do this, first carry out step 2, then step 4.
- Remove the plug from the inside of the outlet.
- Close the dirt outlet slide valve.
- Hinge down the screen holder (→ Hinging the screen holder up/down), insert the debris tray and switch on the filter pump.
7.3 Cleaning/replacing the substrate tubes
The substrate tubes are filled with zeolite on delivery. OASE recommends replacing the zeolite with Phosless when the bacteria are established and the foam filters are fully effective.
Prerequisite:
- The filter pump is switched off.
- The container is open. (→ Opening the container)
- The screen holder is hinged up. (→ Hinging the screen holder up/down)
How to proceed:
R
BioTec ScreenMatic2 18000:
- Remove the separating plate.
- Remove the substrate tubes and clean them or replace their contents.
– BioTec ScreenMatic2 18000: Three substrate tubes
– When inserting, push the substrate tubes against the wall opposite to the outlet.
S
BioTec ScreenMatic2 24000:
- Remove the separating plate.
- Remove the substrate tubes and clean them or replace their contents.
– BioTec ScreenMatic2 24000: Four substrate tubes
– Two substrate tubes each to the left of the outlet and two substrate tubes each to the right of the outlet.
T
BioTec ScreenMatic2 38000:
- Remove the substrate tubes individually and clean them or replace their contents.
– BioTec ScreenMatic2 38000: Twelve substrate tubes
7.4 Cleaning/replacing the ScreenMatic screen
Prerequisite:
- The filter pump is switched off.
- The container is open. (→ Opening the container)
- The debris tray is removed. (→ Hinging the screen holder up/down)
How to proceed:
U
- Remove the screw for fastening the control device, remove the control device and place it carefully to the
side.
– If necessary, disconnect the motor cable plug from the control device.
– Mark the position of the control device on a side section for reassembly. - Take the ScreenMatic rotating screen unit out of the screen holder.
– Biotec ScreenMatic2 18000: Press the locking clips on both sides and remove the ScreenMatic rotating screen unit.
– Biotec ScreenMatic2 38000: Press the ScreenMatic rotating screen unit in the direction of the water dis- tributor and remove. - Undo the nuts on the side section, and remove the side section and stripper.
- Release the clamping lever and remove the ScreenMatic screen.
– Thoroughly clean the stripper.
– Thoroughly clean both sides of the ScreenMatic screen. Replace the ScreenMatic screen if necessary.
– Use the pump cleaning agent PumpClean from OASE. - Reassemble the ScreenMatic rotating screen unit in the reverse order and place it into the screen holder.
– When tensioning the ScreenMatic screen, ensure that the clamping lever engages.
7.5 Replacing foam filters
Prerequisite:
- The filter pump is switched off.
- The container is open. (→ Opening the container)
- The screen holder is hinged up. (→ Hinging the screen holder up/down)
How to proceed:
V
- Press both locking clips on the foam holder.
- Remove the foam holder plate and foam filter.
- Push a new foam filter onto the foam holder, fit the foam holder plate and push down until the two locking clips engage in the foam holder plate.
NOTE
Recommendation regarding the replacement of foam filters:
- Only partially replace the foam filters at intervals of at least a week so as not to impair the biological cleaning action too much.
- Never replace more than 50 % of the foam filters at any one time.
Storage/overwintering
The unit is protected from frost:
The unit can be operated as long as the water temperature does not go below +4 °C.
The deeper areas of the pond have a water temperature of approx. +4 °C in winter and are essential for the fish. By taking the following measures it is possible to reduce the cooling effect on the water of the circulation by the filter system:
- Position the pump nearer to the surface of the water so that only colder water closer to the surface of the pond enters the pump.
- Insulate the return pipes from the filter system into the pond.
- Do not allow water to flow into the pond via a water course.
The unit is not protected from frost:
Take the unit out of operation at water temperatures below +8° C or, at the latest, when freezing temperatures are to be expected.
- Drain the unit as far as possible, clean thoroughly and check for damage.
- Empty all hoses, pipes and connections as far as possible.
- Leave the slide valves open.
- Cover the filter container to prevent the penetration of rain water.
- Protect pipes and slide valves that are in contact with water from frost.
Wear parts
- Foam filters
- Substrate tubes
- ScreenMatic screen
Disposal
NOTE
Do not dispose of this unit with domestic waste.
- Render the unit unusable beforehand by cutting the cables and dispose of the unit via the return system provided for this purpose.
Technical data
| Description | BioTec ScreenMatic2 | ||||
| 18000 | 24000 | 38000 | |||
| Power pack | Primary rated voltage | V AC | 120 | 120 | 120 |
| Mains frequency | Hz | 60 | 60 | 60 | |
| Secondary rated voltage | V DC | 12 | 12 | 12 | |
| Permissible ambient temperature | °F (°C) | 14 … 95 (-10 … +35) | 14 … 95 (-10 … +35) | 14 … 95 (-10 … +35) | |
| Control device | Power consumption | W | 5 | 5 | 5 |
| Permissible ambient temperature | °F (°C) | 14 … 95 (-10 … +35) | 14 … 95 (-10 … +35) | 14 … 95 (-10 … +35) | |
| Cable length | Power pack | ft (m) | 7 (2.10) | 7 (2.10) | 7 (2.10) |
| Control device | ft (m) | 16.4 (5.00) | 16.4 (5.00) | 16.4 (5.00) | |
| Foam filter | Number of blue foam filters | pcs. | 2 | 4 | 4 |
| Number of red foam filters | pcs. | 3 | 6 | 7 | |
| Number of purple foam filters | pcs. | 3 | 6 | 7 | |
| Special filter pellets | lbs (kg) | 7.7 (3.50) | 11 (5.00) | 31.9 (14.50) | |
| Removal of coarse dirt particles | µm | 300 | 300 | 300 | |
| Permissible water temperature | °F (°C) | 39 … 95 (+4 … +35) | 39 … 95 (+4 … +35) | 39 … 95 (+4 … +35) | |
| Inlet | Quantity | pcs. | 2 | 2 | 2 |
| Connection, stepped hose adapter | mm | 25, 32, 38 | 25, 32, 38, 50 | 25, 32, 38, 50 | |
| inch | 1, 1¼, 1½ | 1, 1¼, 1½, 2 | 1, 1¼, 1½, 2 | ||
| Connection, UVC clarifier | Bitron C 55 W / 110 W Vitronic 18 W / 36 W | ||||
| Outlet | Quantity | pcs. | 1 | 1 | 1 |
| Connection | DN 75 | DN110 | DN 110 | ||
| Dirt outlet | Quantity | pcs. | 1 | 1 | 1 |
| Connection | DN 50 | DN50 | DN 75 | ||
| Circulation capacity | Min. | gal/h (l/h) | 1580 (6000) | 2100 (8000) | 2110 (8000) |
| Max. | gal/h (l/h) | 2900 (11000) | 3300 (12500) | 4620 (17500) | |
| Maximum pond volume | Without fish population | gal (m3) | 18000 (68) | 24000 (90) | 38000 (144) |
| With fish population | gal (m3) | 9000 (34) | 12000 (45) | 19000 (72) | |
| Including koi carp | gal (m3) | 4500 (17) | 6000 (22.5) | 9500 (36) | |
| Dimensions | Length | inch (mm) | 31.2 (788) | 31 (788) | 47.2 (1200) |
| Width | inch (mm) | 23.2 (590) | 23.2 (590) | 31.5 (800) | |
| Height | inch (mm) | 21.8 (554) | 25.75 (654) | 30 (760) | |
| Weight | Without water | lbs (kg) | 55 (25) | 66.1 (30) | 209 (95) |
| Pos. | BioTec ScreenMatic² 18000 |
| 1 | 45320 |
| 2 | 30983 |
| 3 | 42346 |
| 4 | 42449 |
| 5 | 42344 |
| 6 | 25507 |
| 7 | 42341 |
| 8 | 25550 |
| 9 | 34830 |
| 10 | 25624 |
| 11 | 43106 |
| 12 | 44181 |
| 13 | 34734 |
| 14 | 45291 |
| 15 | 44343 |

| Pos. | BioTec ScreenMatic² 18000 |
| 16 | 42383 |
| 17 | 44178 |
| 18 | 44184 |
| 19 | 42325 |
| 20 | 44177 |
| 21 | 44183 |
| 22 | 48674 |
| 23 | 19512 |
| 24 | 19506 |
| 25 | 44180 |
| 26 | 25691 |
| 27 | 42949 |
| 28 | 44179 |
| 29 | 25000 |
| 30 | 45321 |
| 31 | 44182 |
| 32 | 34859 |
| 38 | 44308 |
| 39 | 42450 |
| 40 | 35215 |

| Pos. | BioTec ScreenMatic² 18000 |
| 33 | 34670 |
| 34 | 48781 |
| 35 | 34733 |
| 36 | 25524 |
| 37 | 48780 |

| Pos. | BioTec ScreenMatic² 24000 |
| 1 | 45320 |
| 2 | 30983 |
| 3 | 42346 |
| 4 | 42449 |
| 5 | 45323 |
| 6 | 25507 |
| 7 | 42342 |
| 8 | 47031 |
| 9 | 34830 |
| 10 | 25624 |
| 11 | 49600 |
| 12 | 44181 |
| 13 | 45252 |
| 14 | 45291 |
| 15 | 44173 |

| Pos. | BioTec ScreenMatic² 24000 |
| 16 | 42383 |
| 17 | 44178 |
| 18 | 44184 |
| 19 | 42325 |
| 20 | 44177 |
| 21 | 44183 |
| 22 | 48674 |
| 23 | 19512 |
| 24 | 19506 |
| 25 | 44180 |
| 26 | 25691 |
| 27 | 42949 |
| 28 | 44179 |
| 29 | 25000 |
| 30 | 45321 |
| 31 | 44182 |
| 32 | 34859 |
| 38 | 44308 |
| 39 | 42450 |
| 40 | 34367 |

| Pos. | BioTec ScreenMatic² 24000 |
| 33 | 34670 |
| 34 | 48781 |
| 35 | 45254 |
| 36 | 45325 |
| 37 | 48780 |

| Pos. | BioTec ScreenMatic² 38000 |
| 1 | 25544 |
| 2 | 34868 |
| 3 | 42345 |
| 4 | 42449 |
| 5 | 34864 |
| 6 | 25507 |
| 7 | 43686 |
| 8 | 44181 |
| 9 | 44336 |
| 10 | 34734 |
| 11 | 42346 |
| 12 | 45291 |
| 13 | 44173 |

| Pos. | BioTec ScreenMatic² 38000 |
| 14 | 42384 |
| 15 | 44178 |
| 16 | 44186 |
| 17 | 42326 |
| 18 | 44177 |
| 19 | 44183 |
| 20 | 48674 |
| 21 | 19512 |
| 22 | 19506 |
| 23 | 44185 |
| 24 | 25691 |
| 25 | 42949 |
| 26 | 44179 |
| 27 | 25000 |
| 45 | 44308 |
| 46 | 42450 |
| 47 | 34367 |

| Pos. | BioTec ScreenMatic² 38000 |
| 28 | 34670 |
| 29 | 48781 |
| 30 | 34733 |
| 31 | 25542 |
| 32 | 25922 |
| 33 | 25546 |
| 34 | 25547 |
| 35 | 45325 |
| 36 | 48780 |

| Pos. | BioTec ScreenMatic² 38000 |
| 37 | 19005 |
| 38 | 35255 |
| 39 | 24229 |
| 40 | 24230 |
| 41 | 34253 |
| 42 | 25996 |
| 43 | 34835 |
| 44 | 44188 |

OASE North America Inc.
330-274-8317
www.atlantic-oase.com


















