thermogroup Ablaze Non-Lit Magnifying Mirrors Installation Guide

Fixed Arm Mirror Installation
The Fixed Arm Installation Instructions applies to the following models:
– R16SM
– R18SM
– R10SM
– S15SM
– S1SMB
– R16SMB
- Begin by determining the appropriate location and height. We recommend approximately 150cm from the floor if the mirror is to be used while standing, and 120cm from the floor if used while seated.
- Remove the unit from its packaging and lay it carefully on a stable surface on top of the product bag so that it does not get scratched.
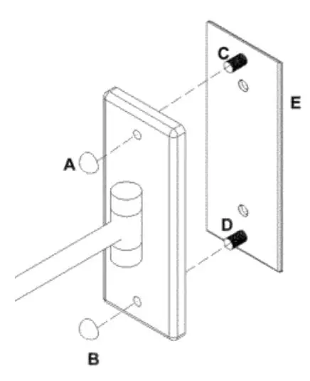
- Remove wall mounting bracket E from the shaving mirror by unscrewing the two decorative caps A & B from the face plate.
- Use the wall mounting bracket as a guide and mark the location of the screw holes for the bracket on the wall.
- CAUTION: Check the internal wall location for structural strength. Injury to people or damage to the mirror and/or mounting surface may result if mirror is pulled from the surface. To limit the likelihood of such injury or damage, mount the mirror on a structural wall material that is sound.
- Drill holes in the wall at the marked locations. Insert wall plugs in each hole. Install wall mounting bracket onto the wall using the mounting screws provided.
- Lift the shaving mirror and slide screws C and D back through the face plate and fasten in position with decorative nuts A and B and ensure these are tight.

KEY:
A Decorative Cap
B Decorative Cap
C Screw
D Screw
E Wall Mounting Bracket
R204GSM Mirror Installation
The below instructions apply to the R2 0 4 GSM mirror:
- Begin by determining the appropriate location and height. We recommend approximately 150cm from the floor if the mirror is to be used while standing, and 120cm from the floor if used while seated.
- Remove the unit from its packaging and lay it carefully on a stable surface on top of the product bag so that it does not get scratched.
- Using the wall mounting bracket, A as a guide, mark the location of the screw holes for the bracket on the wall.
- CAUTION: Check the internal wall location for structural strength. Injury to people or damage to the mirror and/or mounting surface may result if mirror is pulled from the surface. To limit the likelihood of such injury or damage, mount the mirror on a structural wall material that is sound.
- Drill holes in the wall at the marked locations. Insert wall plugs in each hole. Install wall mounting bracket onto the wall using the mounting screws provided.
- Take the magnifying mirror part B and screw it onto mounting rod C on the end of the shaving mirror arm and ensure this is tightened firmly.

R46SM Mirror Installation
The below instructions apply to the R4 6 SM mirror:
- Begin by determining the appropriate location and height. We recommend approximately 150cm from the floor if the mirror is to be used while standing, and 120cm from the floor if used while seated.
- Remove the unit from its packaging and lay it carefully on a stable surface on top of the product bag so that it does not get scratched.
- Remove mounting bracket C from the shaving mirror by unscrewing the grub screws from points A & B using the allen key provided. This will allow you to remove the face plate and mounting bracket from the magnifying mirror.
- Using the wall mounting bracket C as a guide, mark the location of the screw holes for the bracket on the wall.
- CAUTION: Check the internal wall location for structural strength. Injury to people or damage to the mirror and/or mounting surface may result if mirror is pulled from the surface. To limit the likelihood of such injury or damage, mount the mirror on a structural wall material that is sound.
- Drill holes in the wall at the marked locations. Insert wall plugs in each hole. Install wall mounting bracket onto the wall using the mounting screws provided.
- Place the face place back onto the wall mounting bracket.
- Lift the shaving mirror and slide onto the mounting points.
- Use the allen key to tighten the grub screws at point A & B

KEY:
A Grub Screw Socket
B Grub Screw Socket
C Wall Mounting Bracket
Warranty
Thermo group covers all its products with a satisfaction guarantee. In addition, Thermo group will supply a replacement product where a fault is shown to be caused by manufacture, materials or workmanship providing the goods have been installed correctly and according to installation instructions. This guarantee does not include removal, freight or installation costs. Thermo group’s products come with guarantees that cannot be excluded under Australian Consumer Law and you are entitled to a replacement or refund for a major failure & compensation for any other reasonable foreseeable loss or damage. You are also entitled to have the goods repaired or replaced if the goods fail to be of acceptable quality and the failure does not amount to a major failure.
All the Ablaze Magnifying Mirrors have a 1 Year warranty. To use the warranty, repair or service the customer must provide purchase invoice/receipt, and any other relevant details.
If the product develops a fault within the warranty period due to normal wear and tear, Thermo group, at its discretion, will recognise whether it’s a faulty product or not. If it is impossible or not economical for the manufacturer to repair the product, the manufacturer will replace the faulty product with a new unit of the same model or if there is no stock available of the same model, the manufacturer will replace the product with a new unit of a similar size. No responsibility can be taken for altered dimensions and lining up of existing holes.
The repair service offered within the warranty period only covers the faults and problem as developed from the manufacturer’s errors. Any damage caused by improper use or
Warranty carelessness or incorrect wiring is not covered.
Thermo group is not responsible for any monetary loss or injuries caused by improper use of this product.
Technical Specifications

Line Drawings


Mirror Care
⚠ Clean the mirror with any glass cleaner or a 70-30% water to methylated spirits mixture
⚠ Do not use any abrasive cleaner on the mirror frame
⚠ Do not submerge mirror in water or use excessive of water for cleaning purposes
⚠ This appliance is intended for household use
⚠ To store the mirror, use original packaging
Contact Us
Thermogroup AU
[email protected]
www.thermogroup.com.au
1300 368 631



















