Item #1007720974
Model #BTH-086-288-BN
USE AND CARE GUIDE
TOWEL RING

TOOLS REQUIRED

HARDWARE INCLUDED

Installation
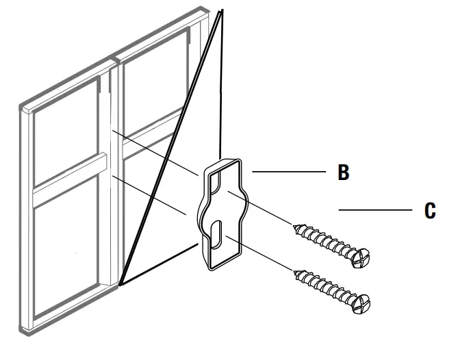
- Determining the mounting location
• Determine the location where you wish to install your accessory.
• Place the mounting bracket (B) at the desired location and mark the installation holes using a pencil.
- Drilling the pilot hole
• Pre-drill a pilot hole with a small drill. Safety Information
• If installing into ceramic tile, before attempting to drill through ceramic tile, the following must be done:
• Using a center punch, very lightly and carefully tap the spot where you wish to drill to break the shiny glass portion of the tile.
3.1 Installing the bracket in drywall
- Drill a 1/8in. based on the pre-drill pilot hole.
- Drive the drywall anchor (A) into the wall using a Phillips screwdriver until flush with the wall.
- Align the mounting brackets (B) with the drywall anchor (A) and secure with the mounting screws (C).
NOTE: To install the brackets (B) in a wood stud, proceed to Step 3.2. To install the brackets (B) in ceramic tile, proceed to Step 3.3.

3.2 Installing the bracket in wood stud
- Drill 3/32 in. based on pre-drilled pilot hole.
- Align the mounting brackets (B) with pilot holes and secure with the mounting screws (C).

Installation (continued)
3.3 Installing the bracket in ceramic tile
- Drill a 1/4 in. based on the pre-drill pilot hole
- Tap 1/4 in. solid wall anchors (F) into the wall with a hammer until flush with the wall.
- Align the mounting brackets (B) with installed solid wall anchors (F) and secure with the mounting screws (C).

Installing the bathroom accessory
- Position the bathroom accessory over the mounting bracket (B) using the set screw (E). Tighten securely with the Hex wrench (D).

Care and Cleaning
These bath accessories are designed for years of trouble-free performance. Keep them looking new by doing the following:
- Clean periodically with a soft cloth.
- Avoid abrasive cleaners, steel wool, and harsh chemicals as these will dull the finish and void your warranty.
Warranty
Glacier Bay products are manufactured with superior quality standards and workmanship and are backed by our limited lifetime warranty. Glacier Bay products are warranted to the original consumer purchaser to be free of defects in materials or workmanship. We will replace FREE OF CHARGE any product or parts that proves defective. Simply, return the product / part to any of The Home Depot retail locations or call 1-855-HD-GLACIER (1-855-434-5224) to receive the replacement item. Proof of purchase (original sales receipt) from the original consumer purchaser must be made available for all Glacier Bay warranty claims.
This warranty excludes incidental/inconsequential damages and failures due to misuse, abuse or normal wear and tear. This warranty excludes all industrial, commercial & business usage, whose purchasers are hereby, extended a five year limited warranty from the date of purchase, with all other terms of this warranty applying except the duration of warranty.
Some states and provinces do not allow the exclusion or limitation of incidental or consequential damages, so the above limitations may not apply to you. This warranty gives you specific legal rights and you may also have other rights that vary from state to state and province to province. Please see a store or contact 1-855-HD-GLACIER for more details.
HOMEDEPOT.COM/GLACIERBAY
Please contact 1-855-HD-GLACIER for further assistance.




















