peerless-AV DS-LEDTK Series SEAMLESS Universal Trim Kit

Product Information
The DS-LEDTK Series is a video wall trim kit designed for use with Unilumin UpanelS displays. The kit includes various parts such as covers, brackets, screws, and tools necessary for installation. The trim kit can be used with both solid or perforated trim options and can also accommodate sides with bump-outs.
Product Usage Instructions
- Measure the dimensions of the video wall display.
- Mark the cutting line on the covers. Do not join the covers until installing them on the wall. Leave the top and right cover edges uncut for proper alignment.
- Optional: Clamp or fasten the cutting fixture to the side of the cover being discarded.
- Discard the cover section as per the markings.
- Align the wall plates with the edge of the video wall using the spacer to set the final position.
- Drill mounting holes into the supporting surface (1.75 (44mm) minimum depth required).
- Install using wood screws provided. Use spacer to set the final position of the wall bracket.
- Optional shim for leveling can be used if required.
Ensure to follow all warnings and symbols mentioned in the user manual. Use the provided tools and screws to assemble the trim kit parts as per the instructions. Do not overtighten screws and use caution while drilling holes into the supporting surface. Verify that wood studs are of appropriate size and plywood is of minimum Grade BC, 1/2 (13 mm) thick when installing Peerless wall mounts on a wood stud wall covered with plywood.
WARNING
This product is designed to be installed on plywood walls. Hardware is included for plywood installation. This product is designed to be installed on flat, unobstructed, vertical walls. Do not install on curved or angled walls. Before installing make sure the supporting surface will support the combined load of the equipment and hardware. Screws must be tightly secured. Do not overtighten screws or damage can occur and product may fail. Never exceed the Maximum Load Capacity. Always use an assistant or mechanical lifting equipment to safely lift and position equipment. This product is intended for indoor use only. Use of this product outdoors could lead to product failure or personal injury. Be careful not to pinch fingers when operating the mount. For support please call customer care at 1-800-865-2112.
Tools Required
Do not overtighten screws.

Tools Needed for Assembly.

To properly tighten screws: Tighten until screw head makes contact, then tighten another 1/2 turn. Do not overtighten screws.

Parts (Before beginning, make sure you have all parts shown below).
Parts List
Description : Part #
- A solid cover –
- B perforated cover –
- C solid wall bracket –
- D perforated wall bracket –
- E corner cover assembly 147-1876
- F nut bar 147-T1881
- G 1/4-20 x 0.375″ socket screw 10007616
- H solid wall bracket spacer 147-T1880
- I outer cutting jig 147-T1882
- J inner cutting jig 147-T1883
- K wall plate shim 147-1891
- L 1/4-20 x 25mm screw 521-0710
- M #14-10 x 1.75 wood screw 521-1688
- N M3 x 8mm phillips 521-0711
- O 1/4-20 x 1/2″ socket screw 520-1169
- P vinyl sticker 580-0535
- Q toggler 590-1093
- R #8-18 X 3/4″ self drilling screw 521-0714
- S 4mm allen wrench 560-9646


Assembly Instruction
Standard steps for solid or perforated trim kits.

Steps for Unilumin UpanelS sides with bump-outs.

Measure video wall dimensions.
Mark cutting line on covers. Do not join covers until installing covers to the wall. Leave top and right cover edges uncut for proper alignment.


Optional: Clamp or fasten cutting fixture to side of cover being discarded.

WARNING
ENG – When installing Peerless wall mounts on a wood stud wall covered with plywood, verify that the wood studs are a minimum of 2″ x 4″ nominal size and plywood is a minimum Grade BC, 1/2″ (13 mm) thick. Plywood may be covered by gypsum board (drywall) up to 5/8″ thick.
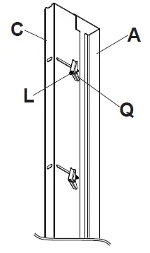
Align wallplates with edge of video wall. Using spacer to set final position.

Drill mounting holes into supporting surface (1.75″ (44mm) minimum depth required).

Install using wood screws provided. Use spacer to set final position of wall bracket.

Alternate steps for Unilumin UpanelS sides with bump-outs
To begin installing solid trim on Unilumin UpanelS edges with bump-outs, create guiding line around unit using spacer provided.

Measure video wall dimensions

Mark cutting line on covers. Do not join covers until installing covers to the wall. Leave top and right cover edges uncut for proper alignment.

Optional: Clamp or fasten cutting fixture to side of cover being discarded.

WARNING
When installing Peerless wall mounts on a wood stud wall covered with plywood, verify that the wood studs are a minimum of 2″ x 4″ nominal size and plywood is a minimum Grade BC, 1/2″ (13 mm) thick. Plywood may be covered by gypsum board (drywall) up to 5/8″ thick.
Align wall plates with display guiding lines. Mark mounting holes.

Drill mounting holes into supporting surface (1.75″ (44mm) minimum depth required).
Install using wood screws provided. Do not fully tighten.

Slide wall brackets in slot until they sit 1.25″ from display guiding lines. Level and tighten wood screws.

Follow steps for solid or perforated trim kits.
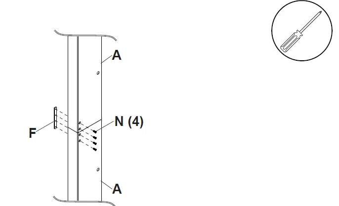
Place wall plate cover over wall plate. Slide back until flush with front of video wall.

Attach covers with nut bar inside cover. Displays not shown for clarity.

Loosely attach all tooglers,then tighten. Displays not shown for clarity.

Use screwdriver to hold toggler in place while tightening toggler screws.


Place wall plate cover over wall plate. Slide back until flush with front of video wall.

Attach covers with nut bar inside cover. Displays not shown for clarity.

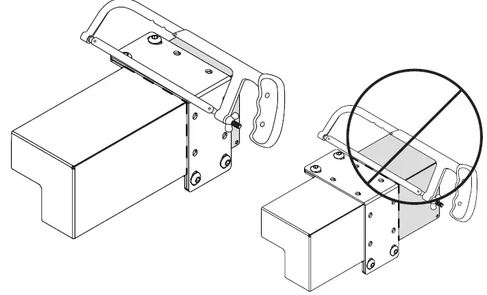
Place corner cover against wall and mark cutting line. 
Slide corner cutting fixture into place, and clamp onto side of cover being discarded.

Cut excess corner cover off.

Do not clamp fixture on wrong side of cutting line.
File sharp edges of corner cover. Remove adhesive backing.

Clean surfaces before applying VHB.

Attach (4) corner covers with VHB.

Warranty
www.peerless-av.com/warranty
Peerless-AV
2300 White Oak Circle
Aurora, IL 60502
Email: [email protected] Ph: (800) 865-2112
Fax: (800) 359-6500
www.peerless-av.com
© 2021, Peerless Industries, Inc.
Peerless-AV Europe
Unit 3 Watford Interchange, Colonial Way, Watford, Herts, WD24 4WP, United Kingdom Customer Care
44 (0) 1923 200 100
www.peerless-av.com
© 2021, Peerless Industries, Inc.
Peerless-AV América Latina
Av. de las Industrias 413
Parque Industrial Escobedo
General Escobedo N.L., México 66062 Servicio al Cliente
01-800-849-65-77
www.peerless-av.com
© 2021, Peerless Industries, Inc.



















