Speco Technologies O4VD1MN Outdoor IR Network Dome Camera
Welcome
Thank you for purchasing this network camera! This owner’s manual is designed to be a reference tool for your system. Please read this manual carefully before operating the unit and retain it for future reference. Should you require any technical assistance, contact Speco Technologies Tech Support at 1-800-645-5516
Important Safeguards and Warning
- Electrical safety All installation and operation here should conform to local electrical safety codes. Use a certified/listed 12VDC Class 2 power supply only. Please note: Do not connect two power supplying sources to the device at the same time; it may result in device damage! The product must be grounded to reduce the risk of electric shock. Improper handling and/or installation could run the risk of fire or electrical shock.
- Environment Heavy stress, violent vibration or exposure to water is not allowed during transportation, storage and installation. This product should be installed in a cool, dry place away from direct sunlight and heat sources. Do not install the product in extreme temperature conditions. Do not expose the camera to electromagnetic radiation. Otherwise it may result in CMOS sensor failure. Do not block any ventilation openings. Do not allow water and liquid intrusion into the camera.
- Operation and Daily Maintenance Please shut down the device and then unplug the power cable before you begin any maintenance work. Do not touch the CMOS sensor optic component. You can use a blower to clean the dust on the lens surface. Always use the dry soft cloth to clean the device. If there is too much dust, use a cloth dampened with a small quantity of neutral detergent. Finally use the dry cloth to clean the device. Please use a professional optical cleaning method to clean the enclosure. Improper enclosure cleaning (such as using cloth) may result in poor IR functionality and/or IR reflection. The grounding holes of the product are recommended to be grounded to further enhance the reliability of the camera. Dome cover is an optical device, please don’t touch or wipe cover surface directly during installation and use, please refer to the following methods if dirt is found: Stained with dirt: Use oil-free soft brush or hair dryer to remove it gently. Stained with grease or fingerprint: Use oil-free cotton cloth or paper soaked with alcohol or detergent to wipe from the lens center outward. Change the cloth and wipe several times if it is not clean enough.
Warning
This camera should be installed by qualified personnel only. All the examination and repair work should be done by qualified personnel. Any unauthorized changes or modifications could void the warranty.
Statement
- This guide is for reference only. Product, manuals and specifications may be modified without prior notice. Speco Technologies reserves the right to modify these without notice and without incurring any obligation. Speco Technologies is not liable for any loss caused by improper operation.
Note: Before installation, check the package and make sure that all components are included. Contact your rep or Speco customer service department immediately if something is broken or missing in the package.
Package

Overview

- Ethernet Connector
- Audio Input (3.5mm)
- Power Connector
- Micro SD Card Slot
- Reset
- Microphone

* 1 It is recommended to install the water-proof connector for outdoor installations.
* 2 DC 12V power supply is not required if a PoE switch or injector is used to power the camera.
Connecting Network Cable

- Loosen the nut from the main element.
- Run the network cable (without RJ 45 connector) through both elements. Then crimp the cable with RJ 45 connector.
- Connect the cable to the water-proof connector. Then tighten the nut and the main cover.
Installation
* Before you start, please make sure that the wall or ceiling is strong enough to withstand three times the weight of the camera.
- Attach the drill template of the junction box to the place where you want to install the junction box and then rill the screw hole and calbe hole on the wall according to the drill template.
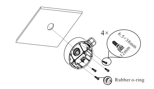
- Install junction box onto the wall by using the screws provided.

- Then Rotate the trim ring anticlockwise to remove it from the camera. loosen the screws to open the lower dome.

- Connect the cables.Then install the camera onto the junction box

- Three-axis adjustment. Before adjustment, preview the image of the camera on a monitor and then adjust the camera according to the figure below to get an optimum angle.

- Install the lower dome back to the camera and fasten it with screws.
- Put the trim ring onto the lower dome and then rotate it clockwise until it is locked. Finally, remove the protection film softly.

Web Operation and Login
IP Scanner can search for the device on the local network.
- Operation
- Make sure that the camera and the PC are connected to the same local network. The camera is setto DHCP by default.
- Install IP Scanner from the CD and run it after installation. Or download from https://www.specotech.com/ip-scanner/

- In the device list, you can view the IP address, model number, and MAC address of each device. Select the applicable device and double click to open up the web viewer. You can also manually enter the IP address in the address bar of the web browser.

The login interface is shown above. Default user name is admin and password is 1234. After logging in, follow directions to install applicable plugins if prompted.
























